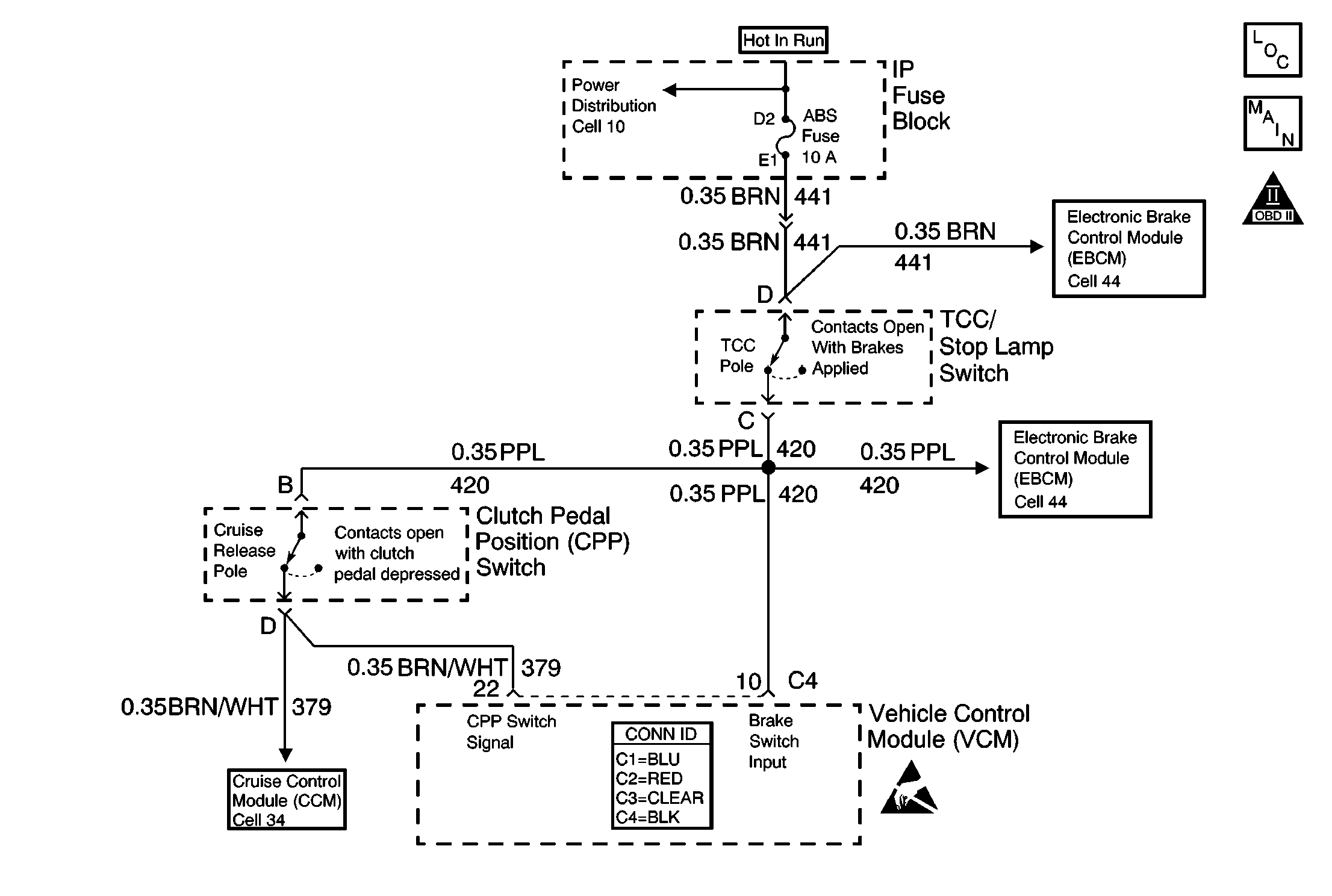
The clutch pedal position (CPP) Switch is used to determine when the clutch pedal is applied. Ignition voltage is applied to the control module (PCM/VCM) CPP input through the CPP switch. When the clutch pedal is depressed, ignition voltage is removed from this input. The control module monitors the CPP signal for transitions during normal vehicle operations. If the control module detects that no clutch pedal applications have occurred during a predetermined test cycle, a DTC P0704 will be set.
| • | No active VS sensor DTCs |
| • | The vehicle speed is now 0 mph but had been more than 40 mph (64 km/h). |
| • | The brakes are not applied. |
The VCM has not detected any changes in the clutch switch status.
| • | The control module illuminates the malfunction indicator lamp (MIL) if a failure is detected during 2 consecutive key cycles. |
| • | The control module sets the DTC and records the operating conditions at the time the diagnostic failed. The failure information is stored in the scan tool Freeze Frame/Failure Records. |
| • | The control module turns OFF the MIL after 3 consecutive drive trips when the test has run and passed. |
| • | A history DTC will clear if no fault conditions have been detected for 40 warm-up cycles. A warm-up cycle occurs when the coolant temperature has risen 22°C (40°F) from the startup coolant temperature and the engine coolant reaches a temperature that is more than 70°C (158°F) during the same ignition cycle. |
| • | Use a scan tool in order to clear the DTCs. |
When the clutch pedal is released, the clutch switch will be displayed Released in the scan tool data list.
If the brake pedal is applied with the clutch pedal released, the clutch switch will be displayed Applied in the scan tool data list.
When the clutch pedal is depressed, the clutch switch will be displayed Applied in the scan tool data list.
An intermittent may be caused by any of the following conditions:
| • | A poor connection |
| • | Rubbed through wire insulation |
| • | A broken wire inside the insulation |
Thoroughly inspect any circuitry that is suspected of causing the intermittent complaint. Refer to Testing for Intermittent Conditions and Poor Connections in Wiring Systems.
If a repair is necessary, refer to Wiring Repairs or Connector Repairs in Wiring Systems.
The numbers below refer to the step numbers in the diagnostic table.
This test determines if the VCM is receiving data from the clutch switch.
This test determines if the clutch switch is stuck on or off.
This step checks for a short to B+ in the CPP switch input circuit.
Step | Action | Values | Yes | No |
|---|---|---|---|---|
1 | Did you perform the Powertrain On-Board Diagnostic (OBD) System Check? | -- | ||
Does the scan tool clutch parameter change states when the clutch pedal is applied and released? | -- | |||
3 | The DTC is intermittent. Are any additional DTCs stored? | -- | Go to applicable DTC | Go to Diagnostic Aids |
Apply the clutch pedal with the brake pedal RELEASED. Does the scan tool display the clutch switch APPLIED? | -- | Go to Diagnostic Aids | ||
5 |
Does the scan tool display the clutch switch APPLIED? | -- | ||
Is the test lamp ON? | -- | |||
7 | Replace the clutch pedal position switch. Refer to Clutch Pedal Engine Start Switch Replacement in Clutch. Is the action complete? | -- | -- | |
8 | Repair the short to voltage in the CPP switch input circuit. Refer to Wiring Repairs in Wiring Systems. Is the action complete? | -- | -- | |
9 |
Important: The replacement VCM must be programmed. Replace the VCM. Refer to VCM Replacement/Programming . Is the action complete? | -- | -- | |
10 |
Does the scan tool indicate that the diagnostic Passed? | -- | ||
11 | Does the scan tool display any additional undiagnosed DTCs? | -- | Go to applicable DTC | System OK |