GM Service Manual Online
For 1990-2009 cars only

Removal Procedure

  1. Remove the seat from the vehicle. Refer to Seat Replacement .
  2. Remove the seat cushion outer trim panel. Refer to Seat Cushion Outer Trim Panel Replacement .
  3. Remove the seat cushion cover and pad. Refer to Front Seat Cushion Cover and Pad Replacement .
  4. Remove the seat back cover and pad. Refer to Front Seat Back Cushion Cover and Cushion Pad Replacement .

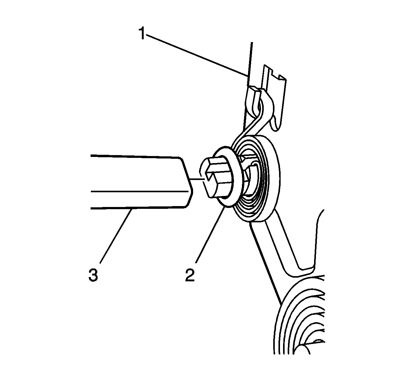
  5. Object Number: 1200365  Size: SH
  6. Remove the seat adjuster cable (1) from the seat adjuster.
  7. Remove the cable end from the seat adjuster (2) by removing the ball though the round opening.

  8. Object Number: 1200427  Size: SH
  9. Remove the 4 bolts securing the recliner assembly to the seat adjuster. Refer to Front Seat Recliner Replacement .

  10. Object Number: 1200429  Size: SH
  11. Remove the 4 bolts securing the recliner assembly to the seat back. Refer to Front Seat Recliner Replacement .
  12. Remove the seat back recliners.

  13. Object Number: 1234031  Size: SH
  14. Remove the dump tube (3) from the recliners (1).
  15. Inspect the O-ring (2) on each recliner and replace if necessary. Do not remove the spring.

Installation Procedure


    Object Number: 1234031  Size: SH
  1. Install the O-ring (2) on the recliner (1).
  2. Install the dump tube (3) on the recliners.
  3. Notice: Refer to Fastener Notice in the Preface section.


    Object Number: 1200427  Size: SH
  4. Install the 4 bolts securing the recliner assembly to the seat adjuster. Refer to Front Seat Recliner Replacement .
  5. Tighten
    Tighten the seat recliner mounting bolts to 26 N·m (19 lb ft).


    Object Number: 1200429  Size: SH
  6. Install the 4 bolts securing the recliner assembly to the seat back. Refer to Front Seat Recliner Replacement .
  7. Tighten
    Tighten the seat recliner mounting bolts to 26 N·m (19 lb ft).


    Object Number: 1200365  Size: SH
  8. Install the cable end from the seat adjuster (2) by inserting the ball though the round opening.
  9. Install the seat adjuster cable (1) to the seat adjuster.
  10. Install the seat back cover and pad. Refer to Front Seat Back Cushion Cover and Cushion Pad Replacement .
  11. Install the seat cushion cover and pad. Refer to Front Seat Cushion Cover and Pad Replacement .
  12. Install the seat cushion outer trim panel. Refer to Seat Cushion Outer Trim Panel Replacement .
  13. Install the seat in the vehicle. Refer to Seat Replacement .