GM Service Manual Online
For 1990-2009 cars only

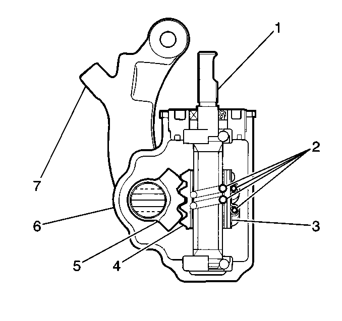
Manual Steering Gear Sectional View


Object Number: 348953  Size: SH
(1)Worm Shaft
(2)Ball
(3)Ball Nut
(4)Rack Gear
(5)Sector Gear
(6)Gear Case
(7)Pitman Arm

The pitman arm rigidly connects to the outer end of the sector gear shaft. Between the ball nut and the worm shaft is a row of steel balls. The row of steel balls serves 2 purposes. The row of steel balls provides rolling contact between the ball nut and the worm shaft and keeps the ball nut engaged with the worm shaft. With the ball nut prevented from turning, the rotation of the worm shaft causes the ball nut to move up or down the worm shaft.

The worm shaft is an extension of the steering shaft. As you turn the steering wheel, the steel balls roll along the groove. The ball nut moves forward or rearward. A steel ball that reaches the end of the groove in the ball nut enters the return guide. The guide sends the ball back to the other end of the same groove. This recirculates the steel balls.

The manual steering gear is not serviceable. If any part of the manual steering gear requires a repair, replace the steering gear. Refer to Manual Steering Gear Replacement .