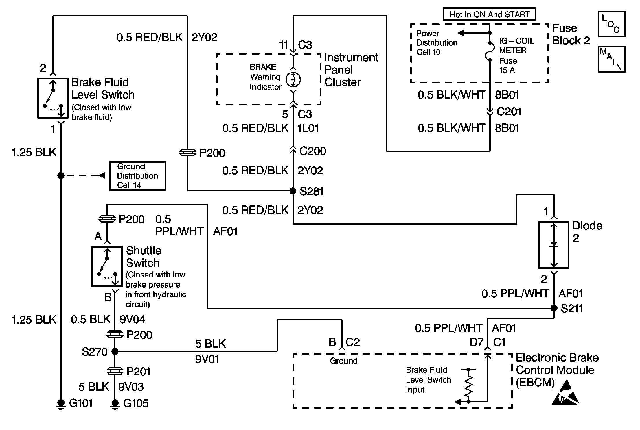
The proportioning valve contains a shuttle switch that is normally-open. This switch monitors front brake hydraulic pressure. This switch closes if there is a loss of pressure in the front brakes.
When shuttle switch closes, it causes to ground CKT AF01. This action turns ON the red BRAKE warning lamp. It also alerts the EBCM of the base brake failure. The EBCM then disables the ABS system.
The function of the ABS Resistor and diode # 2 between CKT 2Y02 and AF01 is to prevent a false base brake failure signal to the EBCM when either the parking brake is applied or the brake fluid level switch is closed.
This DTC will set when the following conditions are met:
| • | This DTC can be set anytime after initialization. |
| • | The shuttle switch closes due to a loss of front brake hydraulic pressure. |
| • | Short to ground in the CKT AF01. |
| • | A malfunction DTC stores. |
| • | The ABS disables. |
| • | The ABS warning indicator turns ON. |
| • | The condition responsible for setting the DTC no longer exists and the Scan Tool Clear DTCs function is used. |
| • | 100 drive cycles pass with no DTCs detected. A drive cycle consists of starting the vehicle, driving the vehicle over 16 km/h (10 mph), stopping and then turning the ignition off. |
The following conditions may cause an intermittent malfunction:
| • | A poor connection |
| • | Rubbed-through wire insulation |
| • | A broken wire inside the insulation |
Use the enhanced diagnostic function of the Scan Tool in order to measure the frequency of the malfunction.
Thoroughly inspect any circuitry that may cause the intermittent complaint for the following conditions:
| • | Backed out terminals |
| • | Improper mating |
| • | Broken locks |
| • | Improperly formed or damaged terminals |
| • | Poor terminal-to-wiring connections |
| • | Physical damage to the wiring harness |
Step | Action | Value(s) | Yes | No |
|---|---|---|---|---|
1 | Was the Diagnostic System Check performed? | -- | Go to Diagnostic System Check | |
2 |
Is the resistance within the range specified the Value(s) column? | OL (Infinite) | ||
3 | With J 39200 still connected to the proportioning valve shuttle switch, press brake pedal firmly while observing the J 39200 display. Is the resistance within the range specified the Value(s) column? | OL (Infinite) | ||
4 |
Is the resistance within the range specified the Value(s) column? | 0-2 ohms | ||
5 |
Is the voltage within the range specified the Value(s) column? | Battery Voltage | ||
6 |
Does this DTC reset as current? | -- | ||
7 |
Is the resistance within the range specified the Value(s) column? | 0-2 ohms | ||
8 | Diagnose for loss of base brake hydraulic pressure in one of the circuits between the master cylinder and the hydraulic modulator. If the base system is OK, replace the Proportioning Valve Replacement in Hydraulic Brakes. Is the repair complete? | -- | Go to Diagnostic System Check | -- |
9 |
Is the repair complete? | -- | Go to Diagnostic System Check | -- |
10 | Replace the EBCM. Refer to Electronic Brake Control Module Replacement . Is the repair complete? | -- | Go to Diagnostic System Check | -- |
11 | Malfunction not present at this time. Refer to Diagnostic Aids for additional information regarding this DTC. | -- | Go to Diagnostic System Check | -- |
12 | Repair short to ground in CKT AF01. Is the repair complete? | -- | Go to Diagnostic System Check | -- |
13 | Replace diode #2. Is the repair complete? | -- | Go to Diagnostic System Check | -- |