GM Service Manual Online
For 1990-2009 cars only

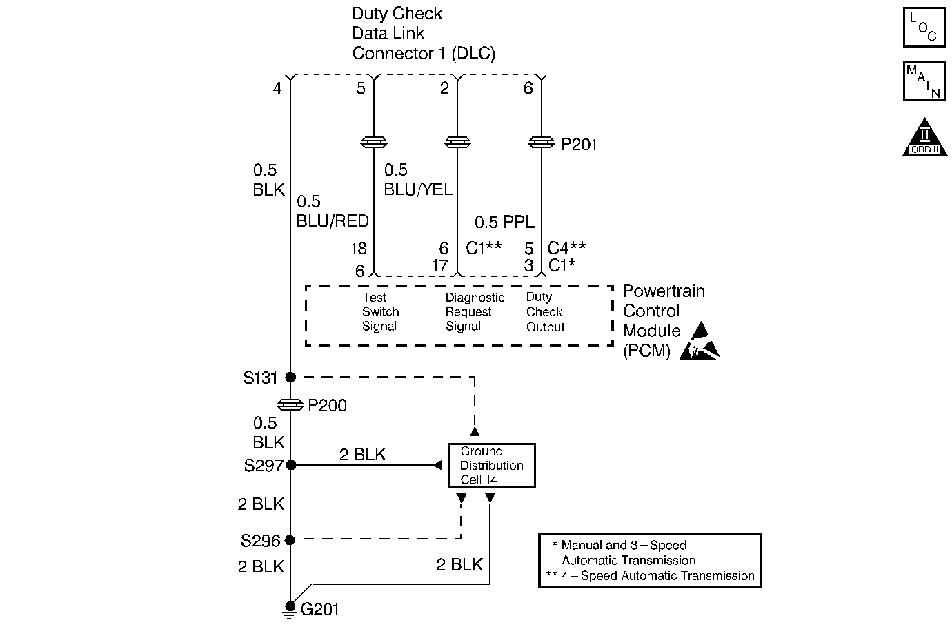
Object Number: 72385  Size: MF
Cell 20: MIL and DLC
OBD II Symbol Description Notice
Handling ESD Sensitive Parts Notice

Circuit Description

The test switch terminal is located in the duty check data link connector. The PCM fixes the ignition timing to the base setting when the test switch terminal is grounded.

Conditions for Setting the DTC

    • Vehicle speed greater than 32 km/h (20 mph).
    • The test switch is ON (circuit is grounded).
    • The condition is present for 5 seconds

Action Taken When the DTC Sets

    • The Malfunction Indicator Lamp (MIL) will illuminate.
    • The PCM will record operating conditions at the time the diagnostic fails. This information will be stored in the Freeze Frame buffer.

Conditions for Clearing the MIL/DTC

    • The MIL turns OFF after three consecutively passing trips without a fault present.
    • A History DTC clears after 40 consecutive warm-up cycles without a fault.
    • Use the scan tool Clear DTC Information function or disconnect the PCM battery feed in order to clear the DTC.

Diagnostic Aids

Check for a damaged wiring harness. Inspect the wiring harness for damage that may cause a short to ground. Wiggle the wiring harness to the duty check data link connector while the engine running. Monitor the Spark Advance Adjust Test Switch parameter on the scan tool for an ON display indicating that the harness is shorting to ground.

Test Description

The numbers below refer to the step numbers in the Diagnostic Table.

  1. The Powertrain (OBD) System Check prompts the technician to complete some basic checks and store the Freeze Frame data on the scan tool if applicable. This creates an electronic copy of the data taken when the fault occurred. The information is then stored in the scan tool for later reference.

  2. This step determines if fault is present.

  3. This step checks for a short to ground on the test switch terminal and its circuitry. A short to ground causes the ignition timing will be fixed at the base setting.

Step

Action

Value(s)

Yes

No

1

Did you perform the Powertrain On-Board Diagnostic (OBD) System Check?

--

Go to Step 2

Go to Powertrain On Board Diagnostic (OBD) System Check

2

  1. Turn ON the ignition, leaving the engine OFF.
  2. Perform the scan tool Clear DTC Information function.
  3. Operate the vehicle within the Freeze Frame conditions as specified.

Is DTC P1530 set?

--

Go to Step 3

Go to Diagnostic Aids

3

  1. Turn ON the ignition, leaving the engine OFF.
  2. Measure the voltage from the test switch signal circuit at terminal 5 (BLU/RED wire) of the duty check data link connector, with a DMM.

Is the voltage near the specified value?

B+

Go to Diagnostic Aids

Go to Step 4

4

  1. Check the test switch signal circuit, BLU/RED wire, for a short to ground.
  2. Repair as necessary. Refer to Wiring Repairs in Wiring Systems.

Was a repair necessary?

--

Go to Step 6

Go to Step 5

5

Replace the PCM. Refer to Powertrain Control Module Replacement .

Is the action complete?

--

Go to Step 6

--

6

  1. Perform the scan tool Clear DTC Information function and road test the vehicle within the Freeze Frame conditions that set the DTC.
  2. Review the scan tool data and check for DTCs. The repair is complete if no DTCs are stored.

Are any DTCs displayed on the scan tool?

--

Go to the Applicable DTC Table

System OK