GM Service Manual Online
For 1990-2009 cars only

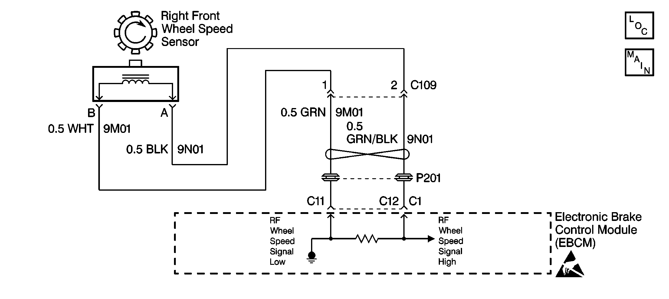
Object Number: 233468  Size: SF
ABS Components
Antilock Brake System Schematics

Circuit Description

As a toothed ring passes by the wheel speed sensor, changes in the electromagnetic field cause the wheel speed sensor to produce an AC voltage signal. The frequency of the AC voltage signal is proportional to the wheel speed. The amplitude of the AC voltage signal is directly related to wheel speed and the proximity of the wheel speed sensor to the toothed ring. The proximity of the wheel speed sensor to the toothed ring is also referred to as the air gap.

Conditions for Setting the DTC

DTC C1222 sets when the vehicle is not in an ABS stop.

A malfunction exists if the following conditions occur:

    • The right front wheel speed sensor input signal equals zero.
    • The vehicle's reference speed is greater than 8 km/h (5 mph)
    • 4WD vehicles only: This DTC will not set if DTC C1233 has already failed.

Action Taken When the DTC Sets

    • A malfunction DTC stores.
    • The ABS disables.
    • The ABS warning indicator turns ON.

Conditions for Clearing the DTC

    • The condition responsible for setting the DTC no longer exists and the Scan Tool Clear DTCs function is used.
    • 100 drive cycles pass with no DTCs detected. A drive cycle consists of starting the vehicle, driving the vehicle over 16 km/h (10 mph), stopping and then turning the ignition OFF.

Diagnostic Aids

The following conditions may cause an intermittent malfunction:

    • A poor connection
    • Rubbed-through wire insulation
    • A broken wire inside the insulation

Use the enhanced diagnostic function of the Scan Tool in order to measure the frequency of the malfunction. Refer to the Scan Tool manual for the procedure.

If the customer's comments reflect that the amber ABS warning indicator is on only during moist environmental changes (rain, snow, vehicle wash), inspect all the wheel speed sensor circuitry for signs of water intrusion.

Thoroughly inspect any circuitry that may be causing the intermittent complaint for the following conditions:

    • Backed out terminals
    • Improper mating
    • Broken locks
    • Improperly formed or damaged terminals
    • Poor terminal-to-wiring connections
    • Physical damage to the wiring harness

Resistance of the wheel speed sensor will increase with an increase in sensor temperature.

Use the following procedure when replacing a wheel speed sensor or harness:

  1. Inspect the wheel speed sensor terminals and harness connector for corrosion and/or water intrusion.
  2. Replace the wheel speed sensor and jumper harness if evidence of corrosion or water intrusion exists.
  3. Refer to On-Vehicle Service.

Important: Zero the J 39200 test leads before making any resistance measurements. Refer to the J 39200 user's manual.

Important: Difficulty may occur when trying to locate intermittent malfunctions in the wheel speed sensor circuit.

Do not disturb any of the electrical connections. Change electrical connections only when instructed to do so by a step in the diagnostic table.

Changing the electrical connections at the correct time will ensure that an intermittent electrical connection will not be corrected until the source of the malfunction is found.

Step

Action

Value(s)

Yes

No

1

Was the Diagnostic System Check performed?

--

Go to Step 2

Go to Diagnostic System Check

2

  1. Turn the ignition switch to the OFF position.
  2. Inspect the right front wheel speed sensor and the right front wheel speed sensor harness connector for physical damage.

Is there any physical damage?

--

Go to Step 16

Go to Step 3

3

Inspect the following components for physical damage:

    • The right front wheel speed sensor jumper harness
    • The right front wheel speed sensor jumper harness connectors

Is there any physical damage?

--

Go to Step 15

Go to Step 4

4

  1. Disconnect the right front wheel speed sensor directly at the right front wheel speed sensor connector.
  2. Use the J 39200 in order to measure the resistance between the right front wheel speed sensor connector terminal A and the right front wheel speed sensor connector terminal B.

Is the resistance within the specified range?

920-1220 ohms

Go to Step 5

Go to Step 16

5

  1. Select the A/C VOLTAGE scale on the J 39200 .
  2. Spin the right front wheel by hand while observing the voltage reading on the J 39200 .

Is the voltage equal to or greater than the specified voltage?

100 mV

Go to Step 6

Go to Step 16

6

  1. Disconnect the EBCM connector.
  2. Use the J 39200 in order to measure the resistance between the EBCM connector terminal 9 and the EBCM connector terminal 22.

Is the resistance within the specified range?

OL

(Infinite)

Go to Step 7

Go to Step 8

7

  1. Inspect the EBCM connector for the following conditions:
  2. • Damage
    • Poor terminal contact
    • Terminal corrosion
    • Damage, poor terminal contact, and terminal corrosion may cause a short between the EBCM connector terminal C12 and the EBCM connector terminal C11.
  3. Inspect the remaining terminals of the EBCM connector for the following conditions:
  4. • Damage
    • Poor terminal contact
    • Terminal corrosion

Are there signs of poor terminal contact, corrosion, or damaged terminals?

--

Go to Step 12

Go to Step 8

8

Inspect the wiring of CKT 9N01 and CKT 9M01 for signs of damage that may cause a short between CKT 9N01 and CKT 9M01.

Are there any signs of damaged wiring?

--

Go to Step 13

Go to Step 9

9

Inspect the harness connectors of CKT 9N01 and CKT 9M01 for signs of damage that may cause a short between CKT 9N01 and CKT 9M01.

Are there any signs of damaged connectors?

--

Go to Step 14

Go to Step 10

10

  1. Reconnect the EBCM harness connector.
  2. Reconnect the right front wheel speed sensor harness connector.
  3. Install a Scan Tool .
  4. Test drive the vehicle at a speed above 24 km/h (15 mph) for at least 30 seconds.
  5. Use the Scan Tool in order to read the DTCs.

Does DTC C1222 set as a current DTC?

--

Go to Step 11

Go to Step 18

11

  1. Select Data List on the Scan Tool .
  2. Monitor the wheel speed sensor speeds.
  3. Use the following procedure when driving the vehicle in order to test the wheel speed sensor:
  4. 3.1. Slowly accelerate to 65 km/h (40 mph).
    3.2. Slowly decelerate to 0 km/h (0 mph).

Is the speed of the right front wheel speed sensor constantly higher than the speed of the two remaining wheel speed sensors?

--

Go to Step 16

Go to Step 17

12

Replace all of the terminals that exhibit signs of poor terminal contact, corrosion, or damaged terminal(s).

Is the repair complete?

--

Go to Diagnostic System Check

--

13

Replace the damaged wiring harness that causes the short between CKT 9N01 and CKT 9M01.

Is the repair complete?

--

Go to Diagnostic System Check

--

14

Replace the damaged wiring harness connectors that cause the short between CKT 9N01 and CKT 9M01.

Is the repair complete?

--

Go to Diagnostic System Check

--

15

Replace the right front wheel speed sensor jumper harness. Refer to Wheel Speed Sensor Jumper Harness Replacement .

Is the repair complete?

--

Go to Diagnostic System Check

--

16

Replace the right front wheel speed sensor. Refer to Wheel Speed Sensor Replacement .

Is the repair complete?

--

Go to Diagnostic System Check

--

17

Replace the EBCM. Refer to Electronic Brake Control Module Replacement .

Is the repair complete?

--

Go to Diagnostic System Check

--

18

The malfunction is intermittent or is not present at this time.

Refer to Diagnostic Aids for more information.

Is the action complete?

--

System OK

--