GM Service Manual Online
For 1990-2009 cars only

Object Number: 410759  Size: MF
(1)Fuel Sender Assembly
(2)Fuel Tank
(3)Fuel Tank Shield (Protector)
(4)Fuel Tank Straps
(5)Fuel Tank Pressure Sensor
(6)Fuel Cut-Off Valve
(7)Fuel Filter
(8)Fuel Tank Vapor Hose (to EVAP canister)
(9)Fuel Return Hose
(10)Fuel Filler Pipe
(11)Fuel Filler Cap

The fuel supply is stored in the fuel tank. An electric fuel pump pressurizes the fuel through an in-line fuel filter through the fuel lines to the fuel rail. The electric fuel pump is suspended from the top of the fuel tank. The fuel pump is designed to provide fuel at a pressure above the regulated pressure needed by the fuel injectors. A pressure regulator keeps the fuel available to the fuel injectors at the regulated pressure. The unused fuel is returned to the fuel tank by a separate hose and pipe.

The vehicle powertrain is designed to use only unleaded fuel. Unleaded fuel must be used for proper emission control system operation. Using unleaded fuel will also decrease spark plug fouling and extend engine oil life. Leaded fuel can damage the emission control system, and its use can result in the loss of emission warranty coverage.

This vehicle is also equipped with an evaporative emission (EVAP) control system that minimizes the release of fuel vapors to the atmosphere. For more information on the EVAP control system, refer to Evaporative Emission Control System Operation Description .

Fuel Tank

The fuel tank has a storage capacity of 66 liters (17.4 gallons). The fuel tank is manufactured from steel and is located behind the rear wheels below the rear seat area. The shape of this tank was designed to allow for a constant supply of fuel around the fuel pump strainer during low fuel conditions and also during aggressive vehicle maneuvers. The fuel tank is equipped with a fuel cut-off valve. The fuel cut-off valve consists of a float and a spring. The fuel cut-off valve allows only fuel vapors to enter the fuel vapor pipe.

Fuel Tank Inlet Valve


Object Number: 476439  Size: SH

The fuel filler neck on the fuel tank is equipped with an inlet valve. This fuel tank inlet valve prevents the fuel from spewing into the fuel filler neck during aggressive vehicle maneuvers or vehicle rollovers. The fuel tank, pipes, and hoses should be checked for any road damage which may result in leakage. Regular inspection of the fuel filler cap for a correct seal and any indications of physical damage is recommended.

Fuel Tank Filler Neck

To prevent refueling with leaded fuel, the fuel filler neck has a built-in restrictor and deflector. The opening of the restrictor only admits the smaller unleaded fuel nozzle. The nozzle must be fully inserted to bypass the deflector. Any attempt at refueling with leaded fuel will result in fuel splashing out of the filler neck.

Fuel Filler Cap


Object Number: 55212  Size: SH

Notice: Use a fuel tank filler pipe cap with the same features as the original when a replacement is necessary. Failure to use the correct fuel tank filler pipe cap can result in a serious malfunction of the fuel system.

The fuel filler cap (1) is a pressure-vacuum type. A built-in torque limiting device on the cap prevents overtightening and also eliminates the escape of fuel vapors. To install, turn the cap clockwise until a clicking noise is heard. This indicates that the cap is fully seated.

A vacuum relief valve is incorporated into the fuel filler cap. If the pressure in the fuel tank becomes negative (vacuum), the relief valve opens to relieve the pressure created within the fuel tank. Only when the vacuum becomes excessive within the tank does this occur. Vacuum pressure is also vented through the tank pressure control valve which is located on the top of the fuel tank.

A pressure relief valve is also located in the fuel filler cap. The pressure of the fuel vapor within the tank should exceed that for which the fuel system is designed, the pressure relief valve opens, and the excess pressure is vented to the atmosphere.

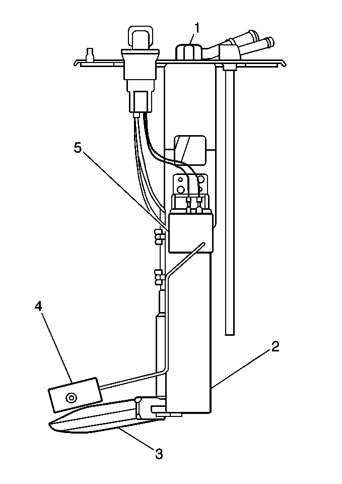
Fuel Sender Assembly


Object Number: 471655  Size: MH
(1)Fuel Sender Assembly
(2)Fuel Pump
(3)Fuel Strainer
(4)Fuel Level Float
(5)Fuel Level Sensor

The fuel sender assembly is located in the fuel tank. The fuel sender assembly contains the electric fuel pump and the fuel level sensor, or fuel gauge sender. The fuel sender assembly is fastened to the fuel tank with 6 bolts and sealed with a gasket.

Fuel Level Sensor

The fuel level sensor is located in the fuel tank and is part of the fuel sender assembly. The fuel level sensor, or fuel gauge sending unit, consists of a float, a float arm, and a variable resistor. The fuel level is measured by the position of the float in the fuel tank. The fuel level sensor indicates the position of the float to a gauge in the instrument panel (IP) and the powertrain control module. When the fuel level changes, the float position changes. The change in the float position increases or decreases the resistance reading of the variable resistor. The change in the resistance causes a change in the indicated fuel level. The powertrain control module monitors the fuel level sensor and uses the signals from the sensor in order to determine when to perform certain EVAP control system diagnostic procedures.

Fuel Pump


Object Number: 55721  Size: SH
(1)Fuel Outlet Port
(2)Check Valve
(3)Magnet
(4)Impeller
(5)Pump Cover
(6)Fuel Inlet Port
(7)Bearing
(8)Housing
(9)Armature
(10)Choke Coil

The fuel pump is an electric pump that is controlled by the powertrain control module through the fuel pump relay. When the PCM commands the fuel pump to operate, an impeller is driven by an electric motor in the pump assembly. The pump impeller causes the fuel in the tank to be drawn into the fuel pump inlet port. The fuel is then pumped out under pressure through the fuel feed pipe and hoses to the fuel rail and the fuel injectors. The fuel pressure is maintained when the fuel pump is not running by a pressure control valve located within the pump. Excess fuel is returned to the fuel tank by the fuel return pipe and hoses. The fuel pump is located in the fuel tank and is a part of the fuel sender assembly. The fuel sender assembly has to be removed from the fuel tank in order to inspect or replace the fuel pump.

Fuel Pump Strainer

The fuel pump strainer attaches to the lower end of the fuel pump at the inlet port. The fuel pump strainer is made of woven plastic. The function of the fuel pump strainer is to filter contaminants and to wick fuel. The fuel pump strainer is self-cleaning and normally requires no maintenance. Fuel stoppage at this point indicates that the fuel tank contains an abnormal amount of sediment or water. Clean the fuel tank and replace the plugged fuel pump strainer.

Fuel Filter

A steel in-line fuel filter (1) is used in the fuel feed pipe ahead of the fuel injectors. The filter housing is constructed to withstand the maximum fuel system pressure, exposure to fuel additives and changes in temperature. The filter element is made of paper and is designed to trap the particles in the fuel that may damage the fuel injection system. The fuel filter is located at the right front side of the fuel tank.

Fuel Feed and Return Pipes and Hoses

The fuel feed, return pipes and hoses carry the fuel from the fuel tank to the fuel injectors and back to the fuel tank. These pipes and hoses are attached to the chassis of the vehicle, and should be inspected periodically for kinks or dents that may restrict the fuel flow.

Fuel Vapor Pipe and Hoses

The fuel vapor pipe and hoses carry the fuel vapors from the fuel tank to the evaporative emission canister located in the engine compartment. The fuel vapors are stored in the canister when the engine is not running. When the engine is running at the normal operating temperature and the accelerator pedal is depressed, the powertrain control module (PCM) will command the evaporative emission canister purge valve to open and allow the stored fuel vapors to be purged into the intake manifold where they will be burned in the combustion process.

Accelerator Controls

The accelerator control system is cable-operated. When the accelerator pedal is depressed, the cable pulls the throttle lever open, increasing the throttle plate opening. When the accelerator pedal is released, the throttle lever spring pressure returns the throttle lever to the idle position, decreasing the throttle plate opening.