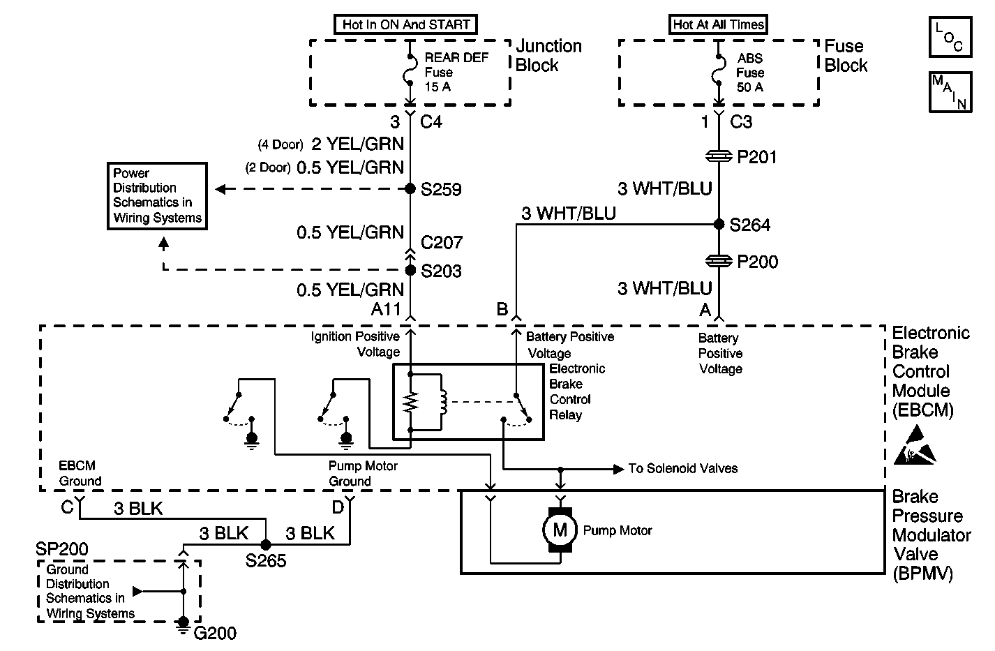
The pump motor is an integral part of the Brake Pressure Modulator Valve (BPMV). The electronic brake control relay supplies power to the solenoid valves and pump motor. The electronic brake control relay, located in the EBCM, is activated whenever the ignition switch is in the ON position and no malfunctions are present. The electronic brake control relay remains engaged until the ignition switch is turned OFF or a malfunction is detected.
| • | The pump motor is ON for at least 0.3 seconds. |
| • | The system relay is ON. |
The EBCM is equipped with a test, which would indicate the pump motor is spinning. A DTC will be set if the pump motor was turned ON, and the EBCM sensed a stalled or slowly turning pump motor.
| • | ABS is disabled. |
| • | The ABS warning indicator turns ON. |
| • | The condition responsible for setting the DTC no longer exists and the Scan Tool Clear DTCs function is used. |
| • | 100 drive cycles pass with no DTCs detected. A drive cycle consists of starting the vehicle, driving the vehicle over 16 km/h (10 mph), stopping and then turning the ignition OFF. |
| • | Possible causes for DTC C1243 to set are: |
| - | The pump motor has high resistance. |
| - | The pump motor jammed (seized). |
| - | The pump motor turns too slowly (due to corroded pump motor or contaminated pump circuit). |
| • | The pump motor is part of Brake Pressure Modulator Valve (BPMV) and is not serviceable separately. |
| • | The electronic brake control relay is integral to the EBCM and is not serviceable separately. |
The numbers below refer to the step numbers on the diagnostic table.
This test verifies the operation of the pump motor.
This step tests the pump motor circuits of the BPMV for an open.
This step tests the pump motor and pump motor circuits by supplying power and ground.
Step | Action | Value(s) | Yes | No |
|---|---|---|---|---|
1 | Did you perform the ABS Diagnostic System Check? | -- | Go to Step 2 | |
Does the pump motor turn ON and OFF with each command? | -- | Go to Testing for Intermittent Conditions and Poor Connections in Wiring Systems | Go to Step 3 | |
Does the resistance measure less than the specified value? | 5 ohms | Go to Step 4 | Go to Step 6 | |
Does the motor run for either test? | -- | Go to Step 5 | Go to Step 6 | |
5 |
Does the DTC reset? | -- | Go to Step 7 | Go to Testing for Intermittent Conditions and Poor Connections in Wiring Systems |
6 | Replace the BPMV. Refer to Brake Pressure Modulator Valve Replacement . Did you complete the repair? | -- | Go to Step 8 | -- |
7 | Replace the EBCM. Refer to Electronic Brake Control Module Replacement . Did you complete the repair? | -- | Go to Step 8 | -- |
8 |
Does the DTC reset? | -- | Go to Step 2 | System OK |