GM Service Manual Online
For 1990-2009 cars only

Refer to SIR Schematics in SIR and
Object Number: 478350  Size: FS
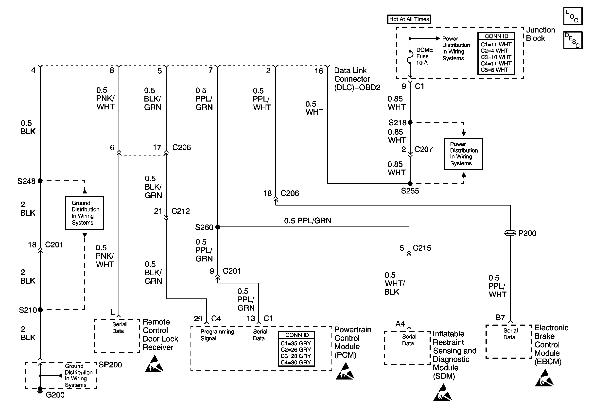
Data Link Communications Components
Data Link Communications Circuit Description
HAZ, D/L, TAIL, STOP and DOME Fuses
HAZ, D/L, TAIL, STOP and DOME Fuses
Handling ESD Sensitive Parts Notice
Handling ESD Sensitive Parts Notice
Handling ESD Sensitive Parts Notice
Handling ESD Sensitive Parts Notice
G200 (1 of 2)
G200 (1 of 2)

Circuit Description

The data link connector (DLC) is the provision for communicating with the inflatable restraint sensing and diagnostic module (SDM). The DLC is located under the instrument panel. The DLC supplies Battery voltage and ground to the scan tool. The scan tool communicates with the SDM on the serial data line. The scan tool is connected to the DLC in order to perform the following functions:

    • Read the data list
    • Read diagnostic trouble codes (DTCs)
    • Clear DTCs

When measurements are requested in this table, use J 39200 Digital Multimeter with the correct terminal adapter from J 35616 Connector Test Adapter Kit. When a check for proper connection is requested, refer to General Electrical Diagnosis in Wiring Systems. When a wire, connector or terminal repair is requested, use J-38125 Terminal Repair Kit and refer to Wiring Repairs in Wiring Systems.

Test Description

  1. This test checks for an open or high resistance condition in the SDM ground circuit.

  2. This test checks for an open or high resistance condition in the SDM voltage feed circuit.

  3. This test checks for an open or high resistance condition in the serial data circuit.

  4. This test checks for a short to ground condition in the serial data circuit.

  5. This test checks for a short to voltage condition in the serial data circuit.

  6. This test checks for a short to ground condition in the SDM voltage feed circuit.

Step

Action

Value(s)

Yes

No

1

Did you perform the SIR Diagnostic System Check?

--

Go to Step 2

Go to SIR Diagnostic System Check

2

  1. Turn the ignition switch to the OFF position.
  2. Remove and inspect the AIR BAG fuse.

Is the fuse open?

--

Go to Step 3

Go to Step 8

3

  1. Replace the AIR BAG fuse.
  2. Disconnect the SDM connector.
  3. Connect a J 39200 DMM between terminal A18 of the SDM connector and ground in order to measure the resistance.

Is the resistance within the specified range?

0-2 ohms

Go to Step 4

Go to Step 11

4

  1. Turn the ignition switch to the ON position.
  2. Connect a J 39200 DMM between terminal A1of the SDM connector and ground in order to measure the voltage.

Is the voltage within the specified range?

battery voltage

Go to Step 5

Go to Step 12

5

  1. Turn the ignition switch to the OFF position.
  2. Connect a J 39200 DMM between terminal 7 of the Data Link Connector (DLC) and terminal A4 of the SDM connector in order to measure the resistance.

Is the resistance within the specified range?

0-2 ohms

Go to Step 6

Go to Step 13

6

With the ignition switch in the OFF position:

Connect a J 39200 DMM between terminal 7 of the DLC and ground in order to measure the resistance.

Is the resistance within the specified range?

OL

Go to Step 7

Go to Step 14

7

  1. Turn the ignition switch to the ON position.
  2. Connect a J 39200 DMM between terminal 7 of the DLC and ground in order to measure the voltage.

Is the voltage within the specified range?

0-1 V

Go to Step 16

Go to Step 15

8

  1. Disconnect the SDM connector.
  2. Connect a J 39200 DMM between terminal A1 of the SDM connector and ground in order to measure the resistance.

Is the resistance within the specified range?

OL

Go to Step 9

Go to Step 10

9

  1. Replace the AIR BAG fuse.
  2. Reconnect the SDM connector.

Are the repairs complete?

--

Go to SIR Diagnostic System Check

--

10

  1. Repair the short to ground in the ignition voltage feed circuit between the SDM and the junction block. Refer to Wiring Repairs in Wiring Systems.
  2. Replace the AIR BAG fuse.

Is the repair complete?

--

Go to SIR Diagnostic System Check

--

11

Repair the open or high resistance condition in the SDM ground circuit. Refer to Wiring Repairs in Wiring Systems.

Is the repair complete?

--

Go to SIR Diagnostic System Check

--

12

Repair the open or high resistance condition in the ignition voltage feed circuit between the SDM and the Ignition Switch. Refer to Wiring Repairs in Wiring Systems.

Is the repair complete?

--

Go to SIR Diagnostic System Check

--

13

Repair the open or high resistance condition in the serial data circuit (pin A4) between the SDM and the DLC. Refer to Wiring Repairs in Wiring Systems.

Is the repair complete?

--

Go to SIR Diagnostic System Check

--

14

Repair the short to ground in the serial data circuit (pin A4) between the SDM and the DLC. Refer to Wiring Repairs in Wiring Systems.

Is the repair complete?

--

Go to SIR Diagnostic System Check

--

15

Repair the short to voltage in the serial data circuit (pin A4) between the SDM and the DLC. Refer to Wiring Repairs in Wiring Systems.

Is the repair complete?

--

Go to SIR Diagnostic System Check

--

16

Replace the SDM. Refer to Inflatable Restraint Sensing and Diagnostic Module Replacement .

Is the repair complete?

--

Go to SIR Diagnostic System Check

--