GM Service Manual Online
For 1990-2009 cars only
Makes
🢒
Chevrolet
🢒
2000
🢒
Tracker - 2WD
🢒
Body and Accessories
🢒
Wiring Systems
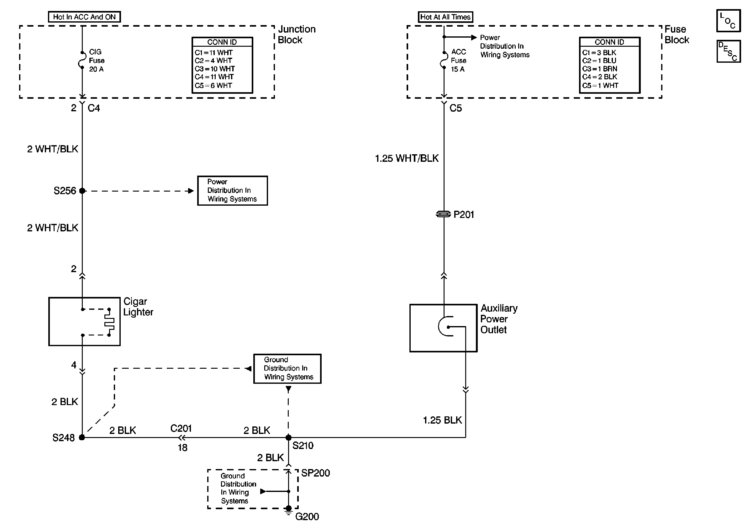
🢒 Cigar Lighter/Power Outlet Schematics
Cigar Lighter/Auxiliary Outlets Shematics (Cigar Lighter and Auxiliary Power Outlet)
Power and Grounding Components
BATT, ABS, FI and ACC Fuses
CIG, DEF and P/W Fuses
G200 (2 of 2)
G200 (1 of 2)