GM Service Manual Online
For 1990-2009 cars only
Makes
🢒
Chevrolet
🢒
2000
🢒
Tracker - 2WD
🢒 (Speedometer)
(Speedometer)
(Speedometer)
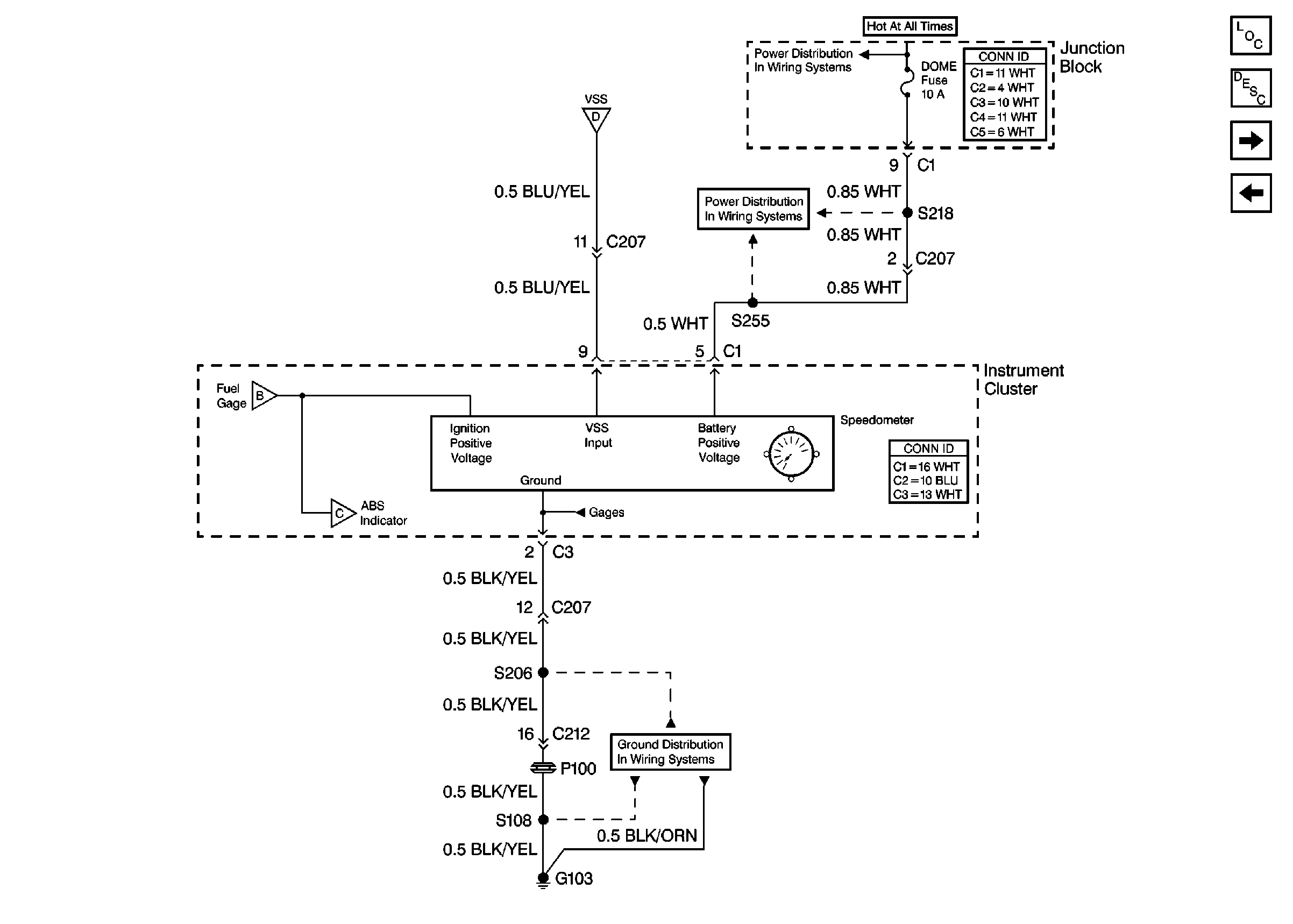
Instrument Cluster Components
Instrument Cluster Circuit Description
(ABS, Brake, Seat Belt and Airbag Indicators)
(VSS Circuit)
HAZ, D/L, TAIL, STOP and DOME Fuses
HAZ, D/L, TAIL, STOP and DOME Fuses
G103