GM Service Manual Online
For 1990-2009 cars only
Makes
🢒
Chevrolet
🢒
2000
🢒
Tracker - 2WD
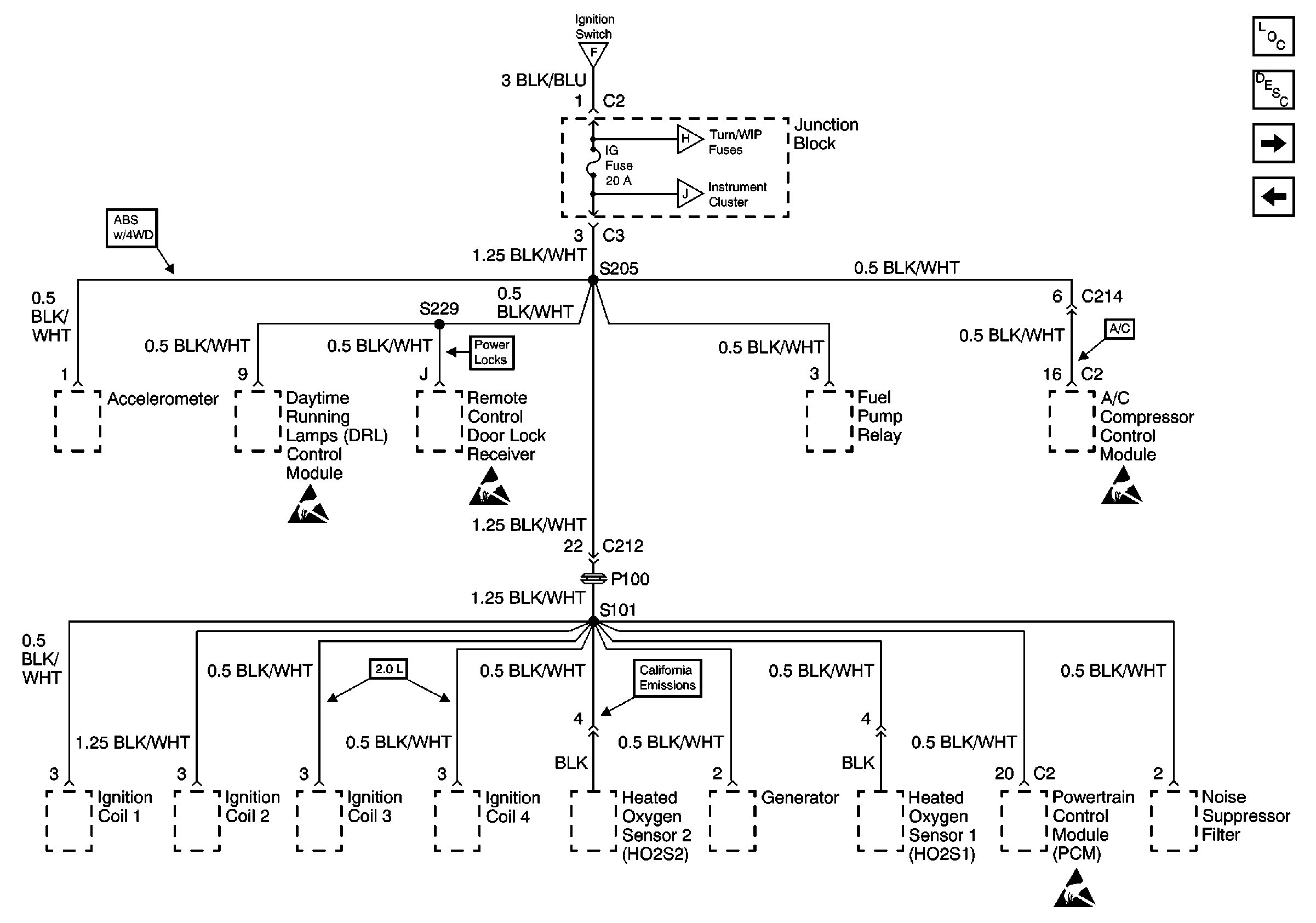
🢒 IG Fuse
IG Fuse
IG Fuse
Power and Grounding Components
IG, TURN and WIP Fuses
CIG, DEF and P/W Fuses
Ignition Switch and SIR Fuse
Handling ESD Sensitive Parts Notice
Handling ESD Sensitive Parts Notice
Handling ESD Sensitive Parts Notice
Handling ESD Sensitive Parts Notice