GM Service Manual Online
For 1990-2009 cars only
Makes
🢒
Chevrolet
🢒
2000
🢒
Tracker - 2WD
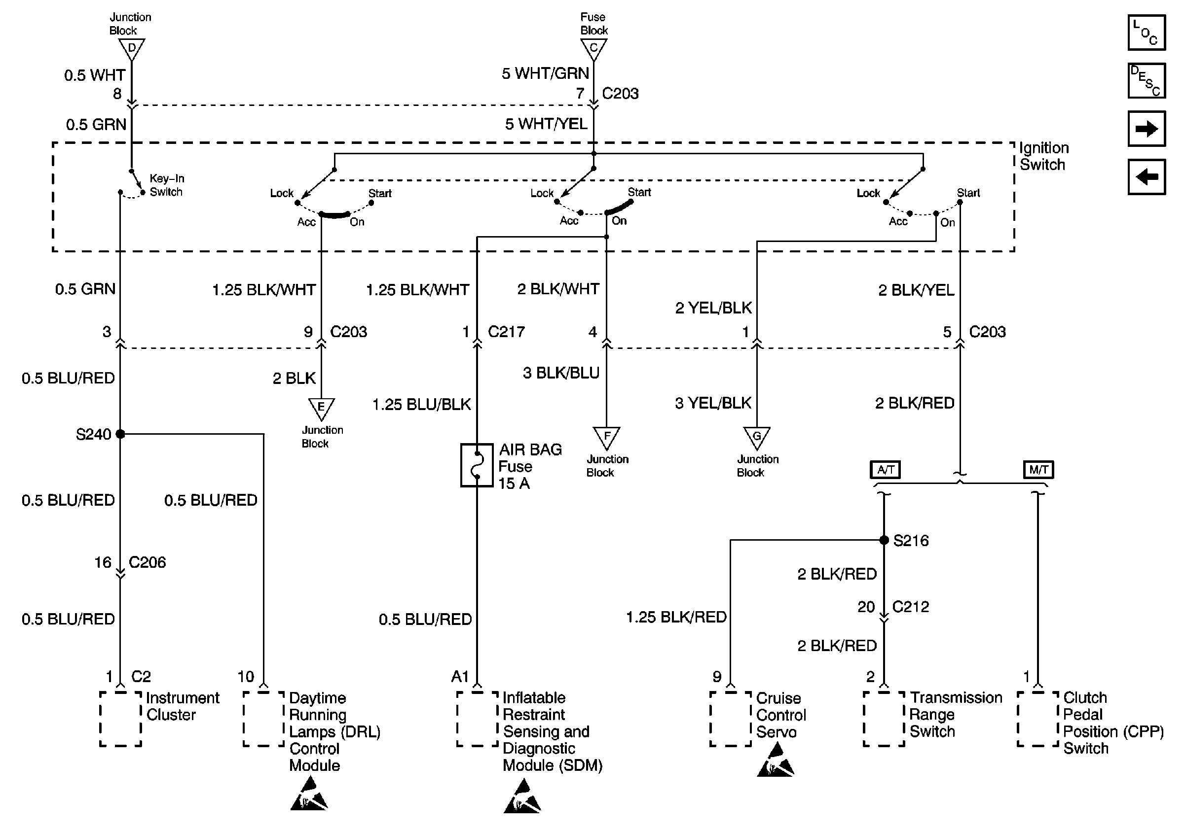
🢒 Ignition Switch and SIR Fuse
Ignition Switch and SIR Fuse
Ignition Switch and SIR Fuse
Power and Grounding Components
CIG, DEF and P/W Fuses
HAZ, D/L, TAIL, STOP and DOME Fuses
HAZ, D/L, TAIL, STOP and DOME Fuses
H/L, HTR, IG and LAMP Fuses
CIG, DEF and P/W Fuses
CIG, DEF and P/W Fuses
IG Fuse
Handling ESD Sensitive Parts Notice
Handling ESD Sensitive Parts Notice
Handling ESD Sensitive Parts Notice