GM Service Manual Online
For 1990-2009 cars only
Makes
🢒
Chevrolet
🢒
2001
🢒
Tracker - 2WD
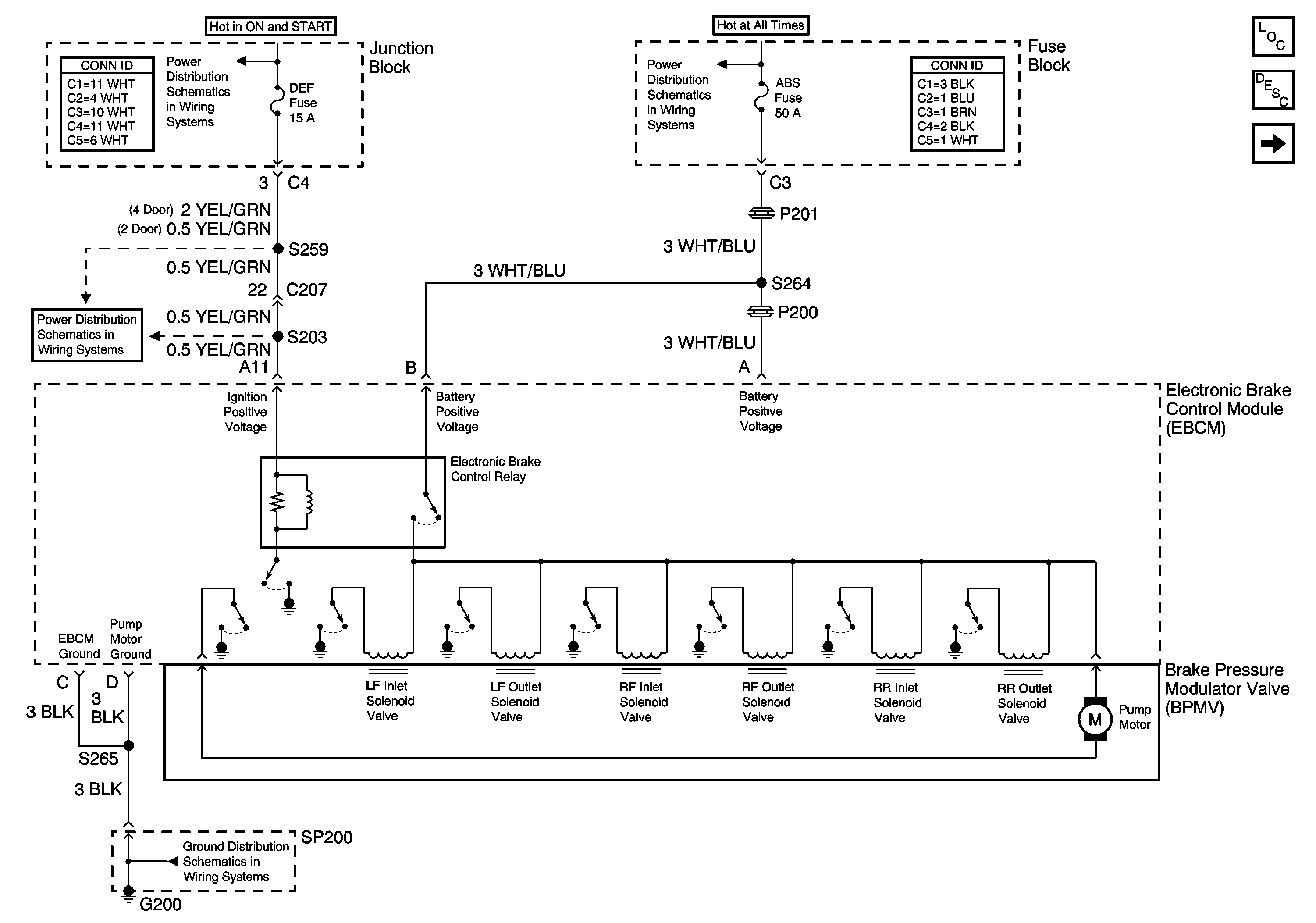
🢒 Brake Pressure Modulator Valve
Brake Pressure Modulator Valve
Brake Pressure Modulator Valve
Master Electrical Component List
ABS Description and Operation
ABS Description and Operation
ABS Indicator, Accelerometer, and Idle Up Signal
BATT, ABS, FI and ACC Fuses
G200 (1 of 2)
CIG, DEF and P/W Fuses
CIG, DEF and P/W Fuses