GM Service Manual Online
For 1990-2009 cars only
Makes
🢒
Chevrolet
🢒
2002
🢒
Tracker - 2WD
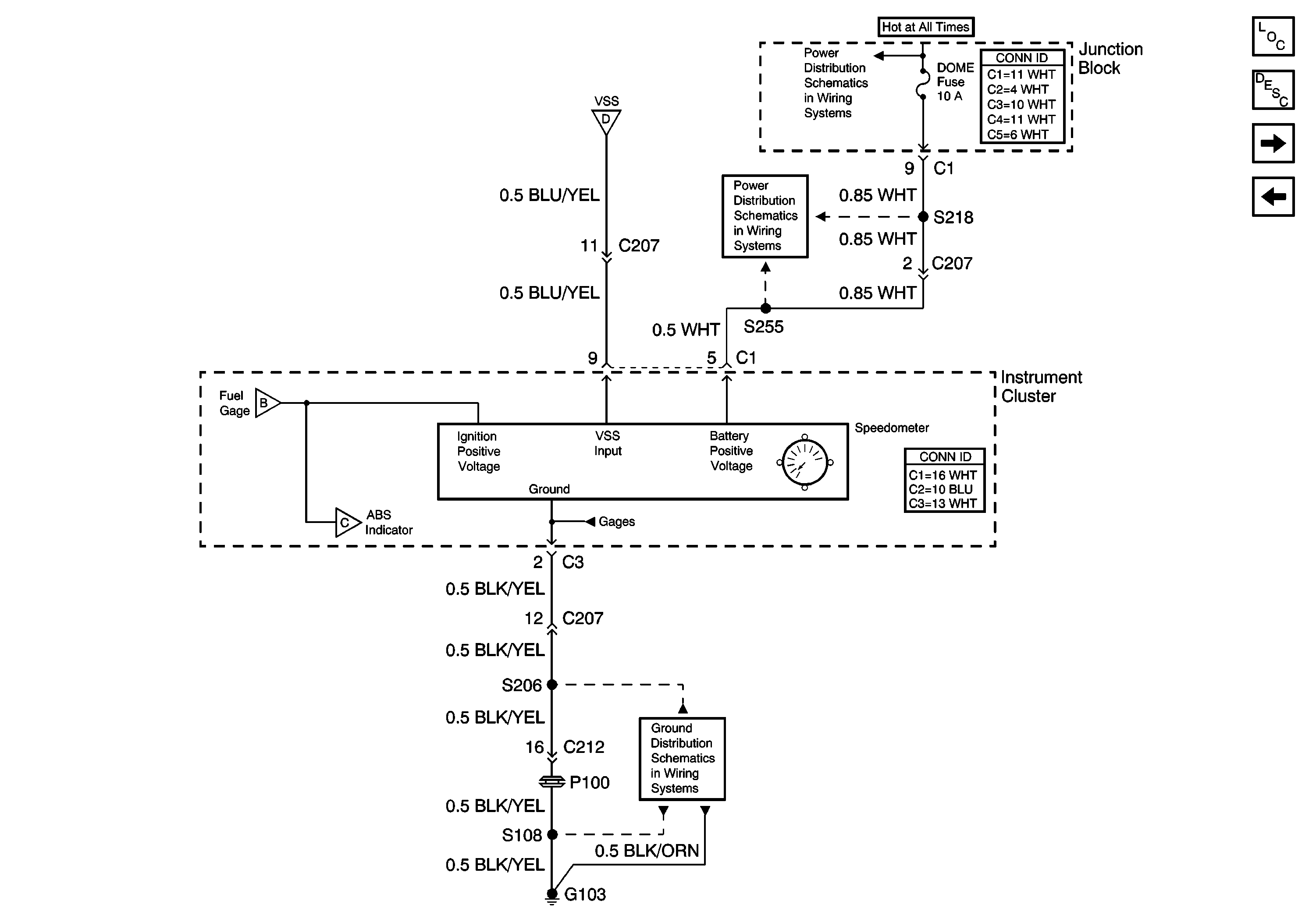
🢒 Speedometer
Speedometer
Speedometer
Master Electrical Component List
Instrument Cluster Description and Operation
ABS Indicator, Brake Indicator, Air Bag Indicator
Cruise Control Servo, Hehicle Speed Sensor
G103
HAZ, D/L, TAIL, Stop and Dome Fuses
HAZ, D/L, TAIL, Stop and Dome Fuses
Oil Pressure Switch, (ECT) Sensor
ABS Indicator, Brake Indicator, Air Bag Indicator
Cruise Control Servo, VSS