GM Service Manual Online
For 1990-2009 cars only

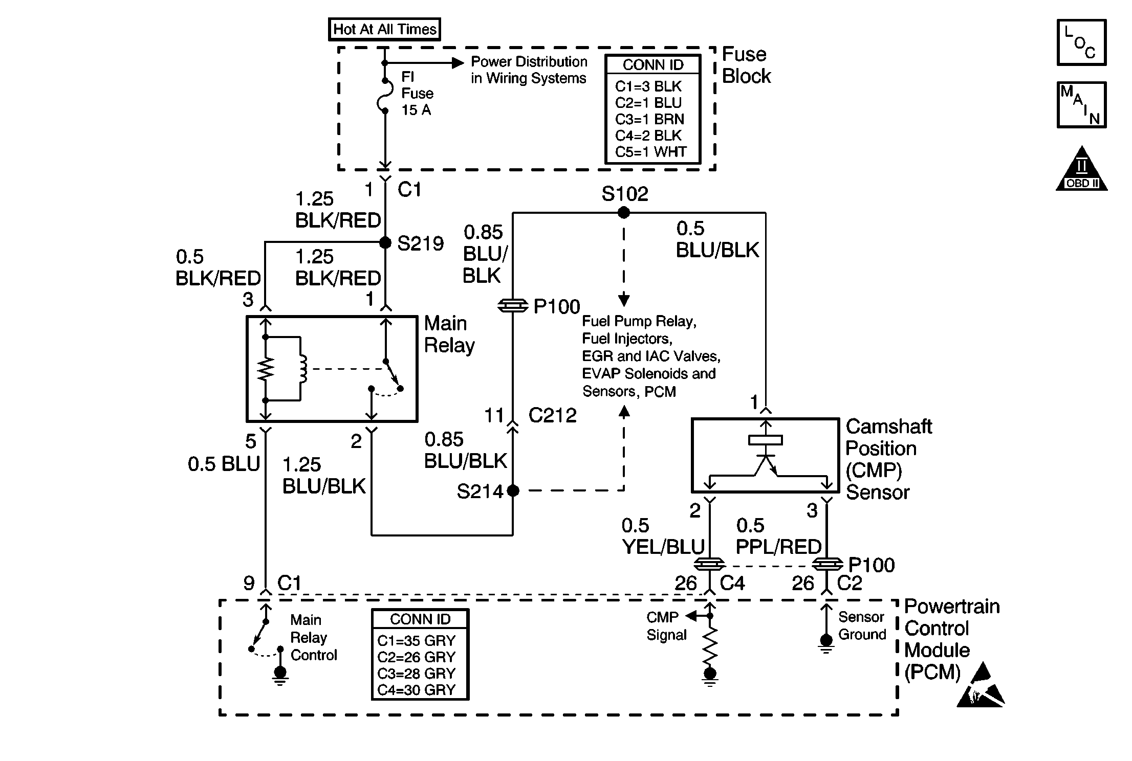
Object Number: 490489  Size: MF
Cell 20: EVAP and EGR System
OBD II Symbol Description Notice
Handling ESD Sensitive Parts Notice

Circuit Description

The camshaft position (CMP) sensor is located in the distributor and consists of a signal generator and a signal rotor. As the signal rotor turns, a magnetic flux from the magnet is applied to the hall element repeatedly. The hall element generates a voltage that is proportional to the magnetic flux. This voltage signal is wave-shaped and is modified into a digital pulse by the comparator and sent to the powertrain control module (PCM). The PCM uses this pulse/revolution signal to determine the engine speed and the position of each cylinder. The PCM uses this signal to control the fuel injectors and the ignition timing.

Condition for Running the DTC

    • The engine is being cranked.
    • The engine is running.

Conditions for Setting the DTC

No signal from the CMP sensor for 3 seconds with the PCM receiving an engine start signal.

Action Taken When the DTC Sets

    • The PCM illuminates the malfunction indicator lamp (MIL).
    • The PCM records the operating conditions at the time the diagnostic fails. This information is stored in the Freeze Frame buffer.

Conditions for Clearing the MIL/DTC

    • The MIL turns off after 3 consecutively passing trips without a fault present.
    • A history DTC clears after 40 consecutive warm-up cycles without a fault.
    • Perform the scan tool clear DTC Information function in order to clear the DTC.

Diagnostic Aids

Check for any of the following conditions:

    • If DTC P1500 is set, diagnose P1500 first.
    • If no problem is found with the CMP sensor or the circuitry, check the CMP sensor signal rotor for proper alignment or damage.

If a DTC P0340 is intermittent, driving the vehicle under the following conditions can verify whether the fault is present. Perform the scan tool Clear DTC Information function. Road test the vehicle while monitoring the DTC P0340 diagnostic on the scan tool under the Not Ran Since Code Cleared selection in the DTC Information menu. If a DTC P0340 appears in the Not Ran Since Code Cleared list, the P0340 diagnostic has not yet run. When the DTC P0340 does not appear in the Not Ran Since Code Cleared list, the P0340 diagnostic has run. If the MIL is NOT illuminated, and there is no Pending DTC Status in DTC Information, the P0340 diagnostic has passed. The DTCs MUST be cleared in order to view the Current Status of the Not Ran Since Code Cleared list. DO NOT forget that the Not Ran Since Code Cleared list only indicates that the test has run, not whether the test passed or failed. The DTC Information screen must be checked for Current or Pending status in order to determine the outcome of the diagnostic test involved.

An intermittent malfunction may be caused by a fault in the CMP sensor circuit. Inspect the wiring harness and components for any of the following conditions:

    • Any backed-out terminals
    • Any improper mating of terminals
    • Any broken electrical connector locks
    • Any improperly formed or damaged terminals
    • Any faulty terminal-to-wire connections
    • Any physical damage to the wiring harness
    • A broken wire inside the insulation
    • Any corrosion of the electrical connections, the splices, or the terminals

If the DTC P0340 cannot be duplicated, the information included in the Freeze Frame data can be useful in determining the vehicle operating conditions since the DTC was first set.

Test Description

The numbers below refer to the step numbers in the diagnostic table.

  1. The Powertrain (OBD) System Check prompts the technician to complete some basic checks and to store the Freeze Frame data on the scan tool if applicable. This creates an electronic copy of the data taken when the fault occurred. The information is then stored in the scan tool for later reference.

  2. This step determines if a fault is present. Review the Freeze Frame data to determine when the DTC set. Always record this information.

  3. A malfunctioning starter signal circuit can cause a false DTC P0340 to set.

  4. This step checks for a mechanical malfunction. Inspect for a broken timing belt if the signal rotor does not turn.

Step

Action

Value(s)

Yes

No

1

Did you perform the Powertrain On-Board Diagnostic (OBD) System Check?

--

Go to Step 2

Go to Powertrain On Board Diagnostic (OBD) System Check

2

  1. Turn ON the ignition, leaving the engine off.
  2. Perform the scan tool Clear DTC Information function.
  3. Operate the vehicle within the Freeze Frame conditions as observed. Crank the engine if the vehicle will not start.

Does the scan tool indicate DTC P0340?

--

Go to Step 3

Go to Diagnostic Aids

3

  1. Turn OFF the ignition.
  2. Disconnect the sensor electrical connector.
  3. Turn ON the ignition, leaving the engine off.
  4. Measure the voltage from the harness side of terminal 1 to ground using a digital multimeter (DMM).

Does the voltage equal the specified value?

B+

Go to Step 4

Go to Step 7

4

Probe the harness side of the sensor connector terminal 3 with a test lamp connected to B+.

Does the test lamp illuminate?

--

Go to Step 5

Go to Step 8

5

Measure the voltage at terminal 2 on the harness side of of the CMP sensor electric connector with a DMM.

Is the voltage within the specified range?

5 V

Go to Step 6

Go to Step 9

6

  1. Test for any of the following conditions:
  2. • A faulty electrical connection at the PCM
    • A faulty electrical connection at the camshaft position (CMP) sensor
    • A DTC P1500
  3. Repair as necessary.

Was a repair necessary?

--

Go to Step 13

Go to Step 10

7

Repair the open in the ignition feed circuit of the CMP sensor between the sensor and the main relay. Refer to Wiring Repairs in Wiring Systems.

Is the action complete?

--

Go to Step 13

--

8

  1. Inspect for an open in the CMP sensor ground circuit or a faulty ground connection.
  2. Repair as necessary. Refer to Wiring Repairs in Wiring Systems.

Was a repair necessary?

--

Go to Step 13

Go to Step 12

9

  1. Check for an open in the CMP sensor signal circuit between the PCM and the CMP sensor.
  2. Repair as necessary. Refer to Wiring Repairs in Wiring Systems.

Was a repair necessary?

--

Go to Step 13

Go to Step 12

10

  1. Remove the CMP sensor and housing. Refer to Camshaft Position Sensor Replacement .
  2. Check for any of the following conditions:
  3. • The CMP sensor signal rotor is not rotating
    • The CMP sensor signal rotor has missing or damaged teeth
    • Any foreign material on the CMP sensor
  4. Repair as necessary.

Was a repair necessary?

--

Go to Step 13

Go to Step 11

11

Replace the CMP sensor. Refer to Camshaft Position Sensor Replacement .

Is the action complete?

--

Go to Step 13

--

12

Important: The replacement PCM must be programmed.

Replace the PCM. Refer to Powertrain Control Module Replacement/Programming .

Is the action complete?

--

Go to Step 13

--

13

  1. Perform the scan tool Clear DTC Information function and road test the vehicle within the Freeze Frame conditions that set the DTC.
  2. Review the scan tool data.
  3. Check for DTCs. The repair is complete if no DTCs are stored.

Are any DTCs displayed on the scan tool?

--

Go to Diagnostic Trouble Code (DTC) List

System OK