GM Service Manual Online
For 1990-2009 cars only

Refer to engine controls schematics

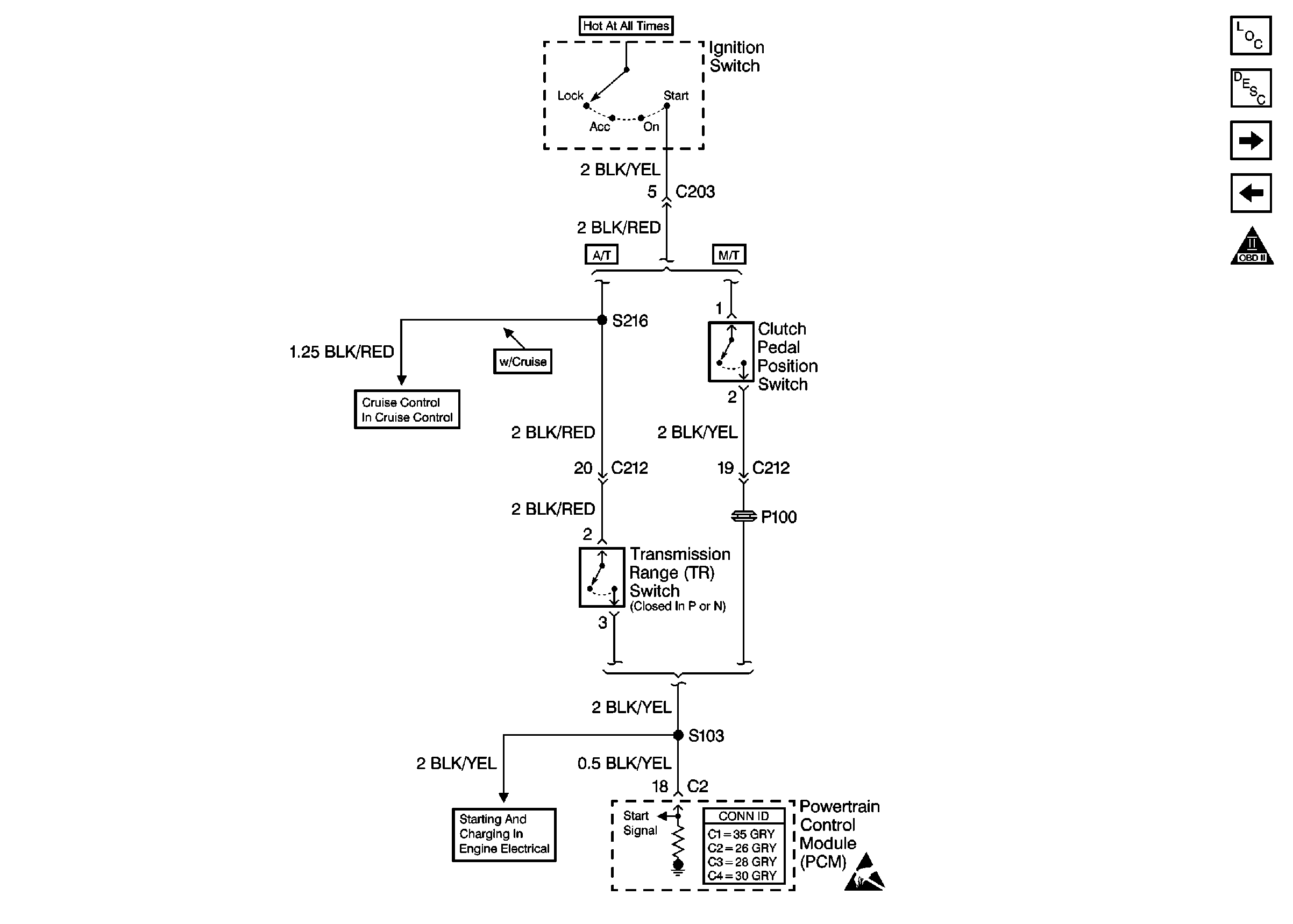
TR Switch and CPP Switch


Object Number: 478251  Size: FS
Engine Controls Components
Four Wheel Drive Inputs/Outputs
EGR Valve and EVAP Controls
Handling ESD Sensitive Parts Notice
Handling ESD Sensitive Parts Notice
Starting System
.

Circuit Description

While the engine is being cranked, the battery voltage is applied to the powertrain control module (PCM). The starter signal is mainly used to increase the fuel injection volume for the starting injection control. This signal is sent from the transmission range switch or the clutch pedal position switch. If this signal is not detected during ignition, the PCM will still allow the engine to start.

Condition for Running the DTC

The engine was started and is running.

Conditions for Setting the DTC

The engine is running but no starter signal was detected when the engine was cranking.

OR:

A high voltage is present at the PCM for at least 3 minutes after starting the engine.

Action Taken When the DTC Sets

    • The PCM illuminates the malfunction indicator lamp (MIL) after 2 consecutive ignition cycles in which the diagnostic runs with the fault active.
    • The PCM records the operating conditions at the time the diagnostic fails. This information is stored in the Freeze Frame buffer.

Conditions for Clearing the MIL/DTC

    • The MIL turns off after 3 consecutively passing trips without a fault present.
    • A history DTC clears after 40 consecutive warm-up cycles without a fault.
    • Perform the scan tool Clear DTC Information function.

Diagnostic Aids

If the DTC P1500 is intermittent, driving the vehicle under the following conditions can verify whether the fault is present. Perform the scan tool Clear DTC Information function. Road test the vehicle while monitoring the DTC P1500 diagnostic on the scan tool under the Not Ran Since Code Cleared selection in the DTC Information menu. If DTC P1500 appears in the Not Ran Since Code Cleared list, the P1500 diagnostic has not yet run. When DTC P1500 does not appear in the Not Ran Since Code Cleared list, the P1500 diagnostic has run. If the MIL is NOT illuminated, and there is no Pending DTC Status in DTC Information, the P1500 diagnostic has passed. The DTCs MUST be cleared in order to view the Current Status of the Not Ran Since Code Cleared list. DO NOT forget that the Not Ran Since Code Cleared list only indicates that the test has run, not whether the test passed or failed. The DTC Information screen must be checked for Current or Pending status, in order to determine the outcome of the diagnostic test involved.

An intermittent malfunction may be caused by a fault in the starter signal sensor circuit. Inspect the wiring harness and the components for any of the following conditions:

    • Any backed-out terminals
    • Any improper mating of terminals
    • Any broken electrical connector locks
    • Any improperly formed or damaged terminals
    • Any faulty terminal-to-wire connections
    • Any physical damage to the wiring harness
    • A broken wire inside the insulation
    • Any corrosion of the electrical connections, the splices, or the terminals

If DTC P1500 cannot be duplicated, the information included in the Freeze Frame data can be useful in determining the vehicle operating conditions when the DTC was first set.

Test Description

The numbers below refer to the step numbers in the diagnostic table.

  1. The Powertrain (OBD) System Check prompts the technician to complete some basic checks and store the Freeze Frame data on the scan tool if applicable. This creates an electronic copy of the data taken when the fault occurred. The information is then stored in the scan tool for later reference.

  2. This step determines if a fault is present.

  3. This step checks for the correct voltage on the crank signal circuit. While the engine is cranking, the PCM crank signal terminal should have a voltage reading of 6 to 12 volts and after the engine is started, the PCM crank signal terminal should have a voltage reading of 0 volts.

Step

Action

Value(s)

Yes

No

1

Did you perform the Powertrain On-Board Diagnostic (OBD) System Check?

--

Go to Step 2

Go to Powertrain On Board Diagnostic (OBD) System Check

2

  1. Turn ON the ignition, leaving the engine off.
  2. Perform the scan tool Clear DTC Information function.
  3. Start the engine.
  4. Run the engine for 3 minutes or more.
  5. If the MIL is not illuminated, turn OFF the engine and perform Step 3 and Step 4 a second time.

Is DTC P1500 set?

--

Go to Step 3

Go to Diagnostic Aids

3

  1. Turn OFF the ignition.
  2. Disconnect the PCM electrical connectors.
  3. Turn ON the ignition, leaving the engine off.
  4. Place the gear selector in Neutral.
  5. Measure the start signal circuit voltage with a digital multimeter (DMM).
  6. Depress the clutch pedal fully and crank the engine.
  7. Measure the start signal circuit voltage with a DMM while cranking the engine.

Does the voltage equal the first specified value with the ignition On, and within the second specified range while cranking the engine?

0 V

6 - 12 V

Go to Step 5

Go to Step 4

4

Repair the open or the short in the crank signal circuit between the PCM and the CPP switch. Refer to Wiring Repairs in Wiring Systems.

Is the action complete?

--

Go to Step 7

--

5

  1. Check for faulty electrical connections at the PCM.
  2. Repair as necessary. Refer to Testing for Intermittent Conditions and Poor Connections in Wiring Systems.

Was a repair necessary?

--

Go to Step 7

Go to Step 6

6

Important: The replacement PCM must be programmed.

Replace the PCM. Refer to Powertrain Control Module Replacement/Programming .

Is the action complete?

--

Go to Step 7

--

7

  1. Perform the scan tool Clear DTC Information function.
  2. Operate the vehicle within the Freeze Frame conditions that set the DTC.
  3. Review the scan tool data and check for DTCs. The repair is complete if no DTCs are stored.

Are any DTCs displayed on the scan tool?

--

Go to Diagnostic Trouble Code (DTC) List

System OK