GM Service Manual Online
For 1990-2009 cars only
Makes
🢒
Chevrolet
🢒
2000
🢒
Venture
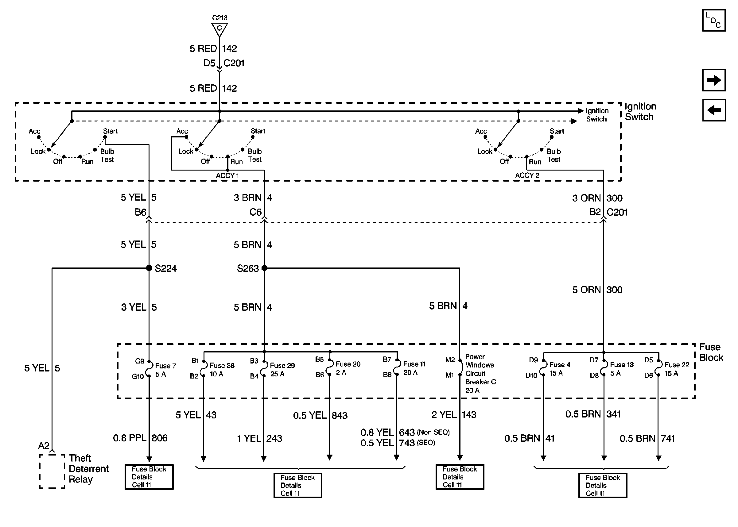
🢒 Cell 10: Fuses 4, 7, 11, 13, 20, 22, 29, 38, and Circuit Breaker C
Cell 10: Fuses 4, 7, 11, 13, 20, 22, 29, 38, and Circuit Breaker C
Cell 10: Fuses 4, 7, 11, 13, 20, 22, 29, 38, and Circuit Breaker C
Power and Grounding Components
Cell 10: Fuses 12, 21, 30, 33, 39, and 42
Cell 10: Battery, Fusible Links (SEO), MaxiFuses®: ABS, HD LPS, IGN SW 1, and Fuses: ABS, FAN 3, HORN, PARK LPS
Cell 10: Fuses 12, 21, 30, 33, 39, and 42
Cell 11: HVAC (4), ABS (13), and Cruise Control (22) Fuses
Cell 11: Power Windows (C), Power Seats (D) Circuit Breakers, and STaRter Relay (7), STR Wheel Control NO.1 (16) Fuses
Cell 11: Power Windows (C), Power Seats (D) Circuit Breakers, and STaRter Relay (7), STR Wheel Control NO.1 (16) Fuses
Cell 11: Power Accessory No. 2 (Sunroof) (11), Power Accessory No.2 (20), Wiper (29), and Radio (38) Fuses
Cell 10: Battery, Fusible Links (SEO), MaxiFuses®: ABS, HD LPS, IGN SW 1, and Fuses: ABS, FAN 3, HORN, PARK LPS