GM Service Manual Online
For 1990-2009 cars only
Makes
🢒
Chevrolet
🢒
2000
🢒
Venture
🢒 IP DOOR AJAR Telltale
IP DOOR AJAR Telltale
IP DOOR AJAR Telltale
Power Door Systems Components
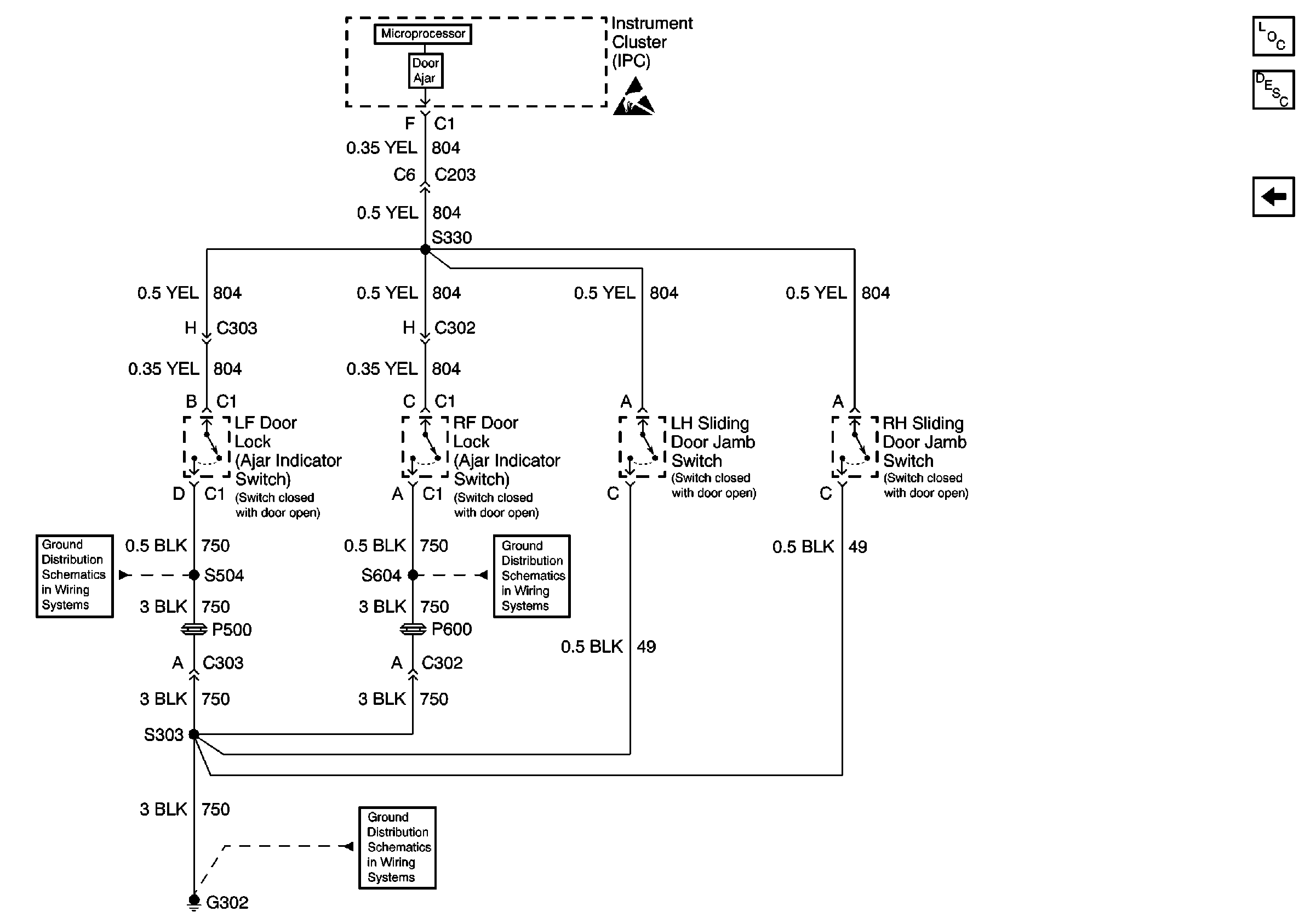
Door Ajar Indicator Circuit Description
Door Lock Actuators
Cell 14: G302
Cell 14: G302
Cell 14: G302
Handling ESD Sensitive Parts Notice