GM Service Manual Online
For 1990-2009 cars only
Makes
🢒
Chevrolet
🢒
2000
🢒
Venture
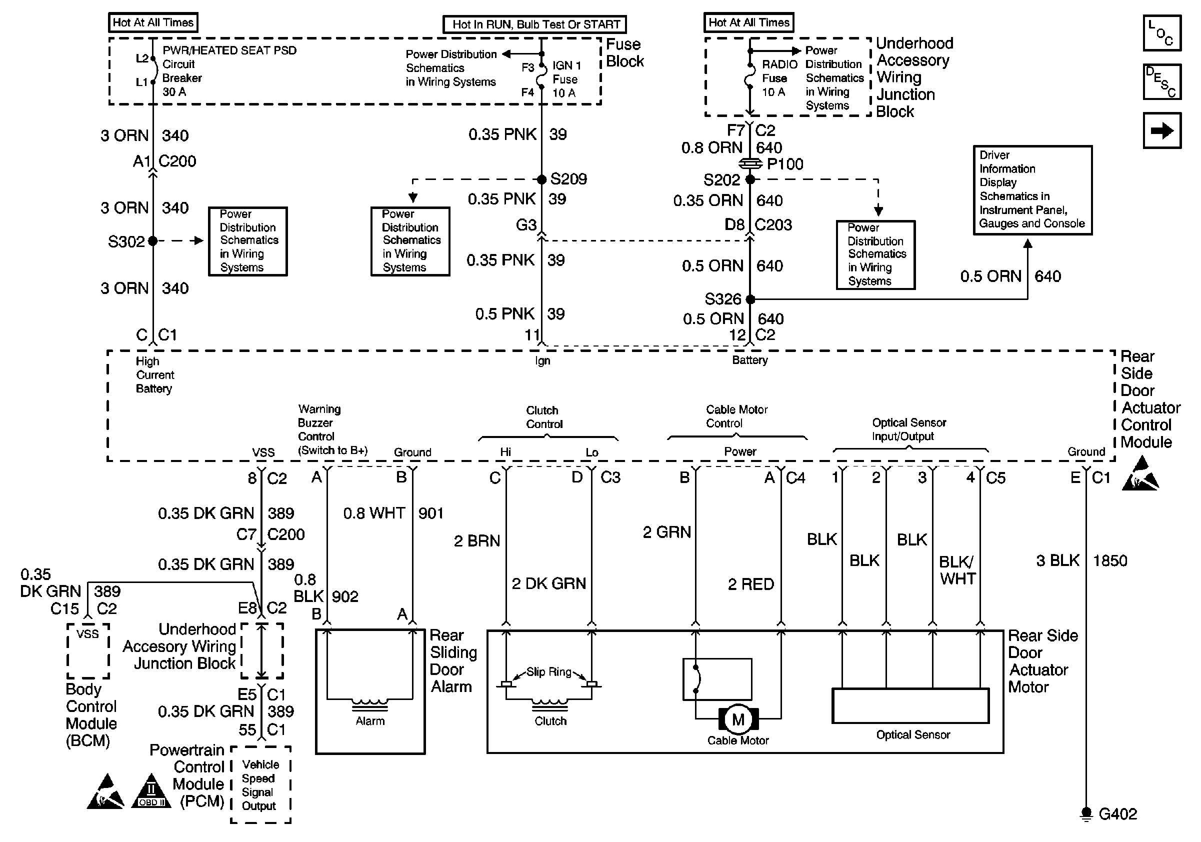
🢒 Power, Ground, PSD Motor
Power, Ground, PSD Motor
Power, Ground, PSD Motor
Power Door Systems Components
Power Sliding Door (PSD) Circuit Description
PSD Switches, Transaxle Range Switch, RKE
IGN, SIR, T/S/G, Cruise, and PCM/Pass Key 1 Cluster Fuses
BATT Main 2, Headlamps, ELC/Trailer, RR Defog/HTP Mirrors and RR Fog LP Fuses and PWR/ Heated Seat PSD Circuit Breaker
IGN, SIR, T/S/G, Cruise, and PCM/Pass Key 1 Cluster Fuses
Handling ESD Sensitive Parts Notice
OBD II Symbol Description Notice
Handling ESD Sensitive Parts Notice
EBCM, BATT Main 1 and Radio Fuses
00 UVAN DID Schematic Figure SIO
EBCM, BATT Main 1 and Radio Fuses