GM Service Manual Online
For 1990-2009 cars only

Object Number: 603121  Size: MF
PSD Switches, Transaxle Range Switch, RKE
Handling ESD Sensitive Parts Notice
Cell 14: G302
Power Door Systems Components
PSD Switches, Transaxle Range Switch, RKE

Circuit Description

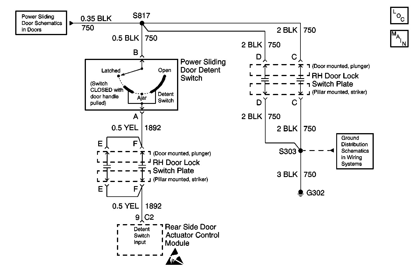
The rear side door actuator control module uses the PSD detent switch to determine when the sliding door is open, ajar, or latched. The PSD detent switch is part of the sliding door latch assembly. The PSD detent switch sends ground signals to the rear side door actuator control module through circuit 1892 indicating when the sliding door is open, ajar, or latched (fully closed). The PSD detent switch receives its ground through circuit 750. Circuits 750 and 1892 are completed through the switch plate plungers and pads located on the B-pillar.

When the PSD is closing and the sliding door is about 30 cm (12 in.) from being closed, the rear side door actuator control module reduces power to the cable motor. This action slows down the movement of the sliding door. Once the switch plate plungers and pads make contact, circuits 750 and 1892 are completed and the rear side door actuator control module is able to monitor the door lock latch switch input.

When the sliding door latch moves from the open to the secondary latch (ajar) position, the PSD detent switch no longer sends a ground signal to the rear side door actuator control module, thus opening circuit 1892. This action signals the rear side door actuator control module that the sliding door has passed from the open door to the secondary latch (ajar) position. Upon detecting the door ajar position, the rear side door actuator control module sends full power to the cable motor.

As the sliding door continues to close, the sliding door latch moves from the ajar to the primary latch position. The PSD detent switch sends another ground signal to the rear side door actuator control module when the sliding door is between the secondary and primary latch position. This action signals the rear side door actuator control module that the sliding door has passed from ajar to door closed position. Then, the rear side door actuator control module disengages the clutch and de-energizes the cable motor.

Conditions for Setting the DTC

    • The PSD has reached the full close (latched) position.
    • The PSD detent switch has not sent a toggle signal.

Action Taken When the DTC Sets

    • The PSD will not power open using door handle.
    • The PSD is allowed to power open and close using open/close switch(es).
    • The rear side door actuator control module sets DTC 23 in memory.
    • The PSD alarm will sound when the transaxle is shifted out of PARK.

Conditions for Clearing the DTC

DTC 23 clears anytime the following actions occur:

    • The sliding door is manually closed.
    • The PSD controller receives a valid ground signal for secondary and primary latch positions from the detent switch.

Diagnostic Aids

    • Perform the following:
      • Check the door rods/latch: Inspect, adjust or replace the door lock rods and linkage. Refer to Sliding Door Lock Rod Adjustment . Also, inspect, adjust or replace the rear latch. Refer to Sliding Door Rear Lock Replacement .
      • Repair the electrical noise: Check the pads/plungers for secure attachment to body/door; replace pouch in fasteners if necessary. Check of corrosion, water entry, dirty or sticking plungers; clean or replace plungers. Check ground circuits. Check the detent switch; replace if necessary.
    • Check the adjustment of the sliding door. Refer to Rear Side Door Up/Down Adjustment for up/down adjustment, Rear Side Door Front Edge In/Out Adjustment for door front edge in/out adjustment, or Rear Side Door Rear Edge In/Out Adjustment for door rear edge in/out adjustment.
    • Inspect for the following conditions:
       - Good interface of switch plate plungers and pads
       - An open in circuit 1892
       - An open in circuit 750
       - Poor G302
       - A short to ground in circuit 1892
       - A faulty PSD detent switch
    • An intermittent failure may be difficult to detect and to accurately diagnose. Faulty electrical connections or wiring causes most intermittent problems. When an intermittent condition is suspected, inspect the suspected circuits for the following conditions:
       - Poor mating of connector halves
       - Backed out terminals
       - Improperly formed or damaged terminals
       - Wire chafing
       - Poor wire-to-terminal connections
       - Dirty or corroded terminals
       - Damaged connector bodies
       - A broken wire inside the insulation
       - Does not latch to primary (AJAR)
       - Door almost closes then releases to full open
    • Use a J 35616 whenever a diagnostic procedure requests probing or inspecting a terminal. Using the J 35616 ensures that no damage to the terminal will occur. Using the J 35616 provides an estimate of whether the contact tension is sufficient.

Test Description

The number(s) below refer to the step number(s) on the diagnostic table.

  1. This step performs the Diagnostic Mode 2: Input Test.

  2. This step determines if the malfunction is in the sliding door or in the vehicle.

  3. This step tests for an open in circuit 750 (door side).

  4. This step tests for an open in circuit 1892 (door side).

  5. This step determines if circuit 1892 is shorted to ground (door side) or if the PSD detent switch is faulty.

  6. This step tests for an open in circuit 750 (vehicle side).

  7. This step tests for a short to ground in circuit 1892 (vehicle side).

  8. This step tests for an open in circuit 1850 (vehicle side).

  9. This step determines if the malfunction is intermittent or if the PSD control module or rear side door actuator control module is faulty.

Step

Action

Value(s)

Yes

No

1

Was the Power Sliding Door (PSD) Diagnostic System Check performed?

--

Go to Step 2

Go to Power Sliding Door (PSD) Diagnostic System Check

2

  1. Disable sliding door child lock.
  2. Close sliding door.
  3. Enter the Diagnostic Mode 2: Input Test. Refer to Diagnostic Modes in Power Sliding Door (PSD) Diagnostic Information .

During Diagnostic Mode 2, the power sliding door alarm toggles (between on and off) when:

    • Pulling door handle(s) with sliding door closed (latched).
    • The sliding door moves from latch to open position, as long as the switch plate plungers and pads remain in contact.
    • The sliding door moves from ajar to latched position.

Does the power sliding door alarm work as described?

--

Go to Step 17

Go to Step 3

3

  1. Stay in Diagnostic Mode 2.
  2. Open the sliding door.
  3. Disconnect the pillar mounted pad plate from the pillar mounted RH door lock switch plate connector.
  4. Using a fused jumper, connect momentarily between the pillar mounted RH door lock switch plate connector terminals C and F.

Upon making contact with fused jumper, does the power sliding door alarm toggle (on or off)?

--

Go to Step 4

Go to Step 7

4

  1. Reconnect the pillar mounted strike plate on the pillar mounted RH door lock switch plate connector and install in place.
  2. Disconnect the PSD detent switch electrical connector.
  3. Disconnect the door mounted plunger plate from the door mounted RH door lock switch plate connector.
  4. Using a DMM, measure the resistance between the PSD detent switch electrical harness connector terminal B and door mounted RH door lock switch plate connector terminal C. Refer to Circuit Testing in Wiring Systems.

Does the resistance measure less than the specified range?

2 ohms

Go to Step 5

Go to Step 10

5

Using a DMM, measure the resistance between the PSD detent switch electrical harness connector terminal A and door mounted RH door lock switch plate connector terminal F. Refer to Circuit Testing in Wiring Systems.

Does the resistance measure less than the specified range?

2 ohms

Go to Step 6

Go to Step 11

6

  1. Leave the PSD detent switch disconnected.
  2. Connect the door mounted plunger plate on the door mounted RH door lock switch plate connector and install in place.
  3. Close the sliding door.
  4. Disconnect the rear side door actuator control module electrical connector C2.
  5. Using a DMM, measure the resistance between the rear side door actuator control module harness connector C2 terminal 9 and ground. Refer to Circuit Testing in Wiring Systems.

Does the resistance measure at the specified range?

Infinite

Go to Step 12

Go to Step 13

7

Using a test lamp, connect between B+ and the pillar mounted RH door lock switch plate connector terminal C. Refer to Circuit Testing in Wiring Systems.

Did the test lamp illuminate?

--

Go to Step 8

Go to Step 14

8

  1. Disconnect the rear side door actuator control module electrical connector C2.
  2. Using a DMM, measure the resistance between the rear side door actuator control module harness connector C2 terminal 9 and ground. Refer to Circuit Testing in Wiring Systems.

Does the resistance measure near the specified range?

Infinite

Go to Step 9

Go to Step 15

9

Using a DMM, measure the resistance between the rear side door actuator control module harness connector C2 terminal 9 and the pillar mounted RH door lock switch plate connector terminal F. Refer to Circuit Testing in Wiring Systems.

Does the resistance measure less than the specified range?

10 ohms

Go to Step 17

Go to Step 16

10

Repair the poor connection or open in circuit  750 between the PSD detent switch and the door mounted RH door lock switch plate. Refer to Wiring Repairs or Connector Repairs in Wiring Systems.

Is the repair complete?

--

Go to Step 20

--

11

Repair the poor connection or open in circuit 1892 between the PSD detent switch and the door mounted RH door lock switch plate. Refer to Wiring Repairs or Connector Repairs in Wiring Systems.

Is the repair complete?

--

Go to Step 20

--

12

Replace the PSD detent switch. Refer to Power Sliding Door Rear Latch Detent Switch Replacement .

Is the repair complete?

--

Go to Step 20

--

13

Repair a short to ground in circuit 1892 between the PSD detent switch and the door mounted RH door lock switch plate. Refer to Wiring Repairs or Connector Repairs in Wiring Systems.

Is the repair complete?

--

Go to Step 20

--

14

Repair the poor connection or open in circuit 750 between the PSD detent switch and the rear side door actuator control module. Refer to Wiring Repairs or Connector Repairs in Wiring Systems.

Is the repair complete?

--

Go to Step 20

--

15

Repair the short to ground in circuit 1892 between the PSD detent switch and the rear side door actuator control module. Refer to Wiring Repairs or Connector Repairs in Wiring Systems.

Is the repair complete?

--

Go to Step 20

--

16

Repair the poor connection or open in circuit 1892 between the PSD detent switch and the rear side door actuator control module. Refer to Wiring Repairs or Connector Repairs in Wiring Systems.

Is the repair complete?

--

Go to Step 20

--

17

  1. Turn the ignition switch to the LOCK position.
  2. Reconnect any connectors/components removed.
  3. Perform the PSD re-initialization. Refer to Power Sliding Door (PSD) Re-Initialization .
  4. Enter Diagnostic Mode 1: Reading DTCs. Refer to Diagnostic Modes in Power Sliding Door (PSD) Diagnostic Information .

Does DTC 23 reset?

--

Go to Step 18

Go to Step 19

18

Replace the rear side door actuator control module. Refer to Rear Side Door Actuator Control Module Replacement .

Is the repair complete?

--

Go to Step 20

--

19

Malfunction is not present at this time. Refer to Diagnostic Aids for information on intermittent failures.

Is the action complete?

--

Go to Step 20

--

20

  1. Turn the ignition switch to the LOCK position.
  2. Reconnect any connectors/components removed.
  3. Perform the PSD re-initialization. Refer to Power Sliding Door (PSD) Re-Initialization .

Does the PSD operate correctly?

--

System OK

Go to Power Sliding Door (PSD) Diagnostic System Check