GM Service Manual Online
For 1990-2009 cars only

Object Number: 417098  Size: MF
Entertainment Components
Video System Schematics
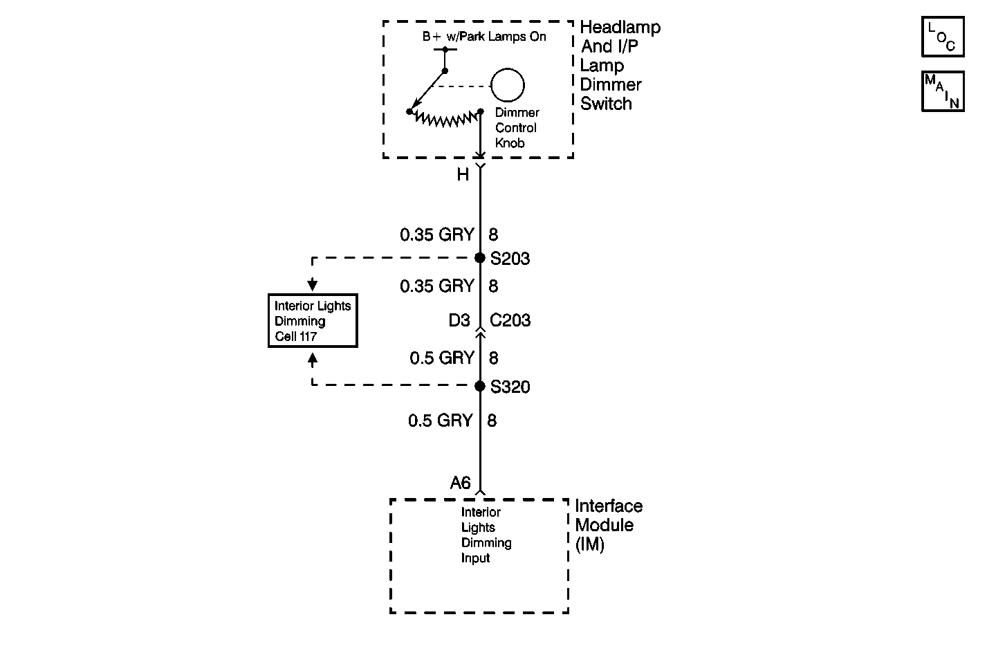
Interior Lights Dimming Schematics
Entertainment Connector End Views

Circuit Description

These components of the Video Entertainment System (VES) are illuminated when the park lamps are on:

    • The Auxiliary Video Module (AVM) controls
    • The Rear Seat Audio (RSA) controls
    • The Second Seat Audio (SSA) controls
    • The Third Seat Audio (TSA) controls

When the headlamp and I/P lamp dimmer switch is in the park or head position, CKT 8 provides B+ to the Interface Module (IM), which is bussed and then distributed to the AVM, SSA, TSA, and RSA.

Each component provides a path to ground CKT 150, thus turning their illumination lamps on.

Diagnostic Aids

    • Check for the following conditions:
       - An open in CKT 8 between S320 and the IM
       - A faulty IM
    • An intermittent failure may be very difficult to detect and to diagnose accurately. Faulty electrical connections or wiring causes most intermittent problems. When an intermittent condition is suspected, check the suspected circuits for the following conditions:
       - Poor mating of connector halves or backed out terminals
       - Improperly formed or damaged terminals
       - Wire chafing
       - Poor wire to terminal connections
       - Dirty or corroded terminals
       - Damage to connector bodies
       - Wire broken inside the insulation

Test Description

The number(s) below refer to the step number(s) on the diagnostic table.

  1. Checks the integrity of the interior lights dimming circuit.

  2. Determines whether CKT 8 is open or the IM is faulty.

  3. Verifies repairs made to the VES.

Step

Action

Value(s)

Yes

No

1

  1. Turn the headlamp switch to the park lamps position.
  2. Set the dimmer switch at maximum intensity.
  3. Observe the heater-A/C control, instrument cluster, and the rest of the interior components that contain illumination.

Does the illumination lamp of at least one of the components mentioned above operate?

--

Go to Step 3

Go to Step 2

2

Refer to Interior Lights Dimming System Check in Lighting Systems.

Is the action complete?

--

Go to Step 6

--

3

  1. Leave the park lamps on.
  2. Using a J 39200 digital multimeter (DMM), measure the voltage by backprobing between the Interface Module (IM) harness connector (roof wiring harness) terminal A6 and ground.

Does the voltage measure in the specified range?

B+ (9-14V)

Go to Step 4

Go to Step 5

4

  1. Inspect for a poor connection at the IM.
  2. If connection is OK, the replace the IM. Refer to Interface Module Replacement .

Is the repair complete?

--

Go to Step 6

--

5

Repair poor connection or open in CKT 8.

Is the repair complete?

--

Go to Step 6

--

6

  1. Turn the ignition switch off.
  2. Reconnect connectors/components removed.
  3. Verify the operation of the Video Entertainment System (VES).

Does the VES operate normally?

--

System OK

Go to Video System System Check