GM Service Manual Online
For 1990-2009 cars only
Figure 1:

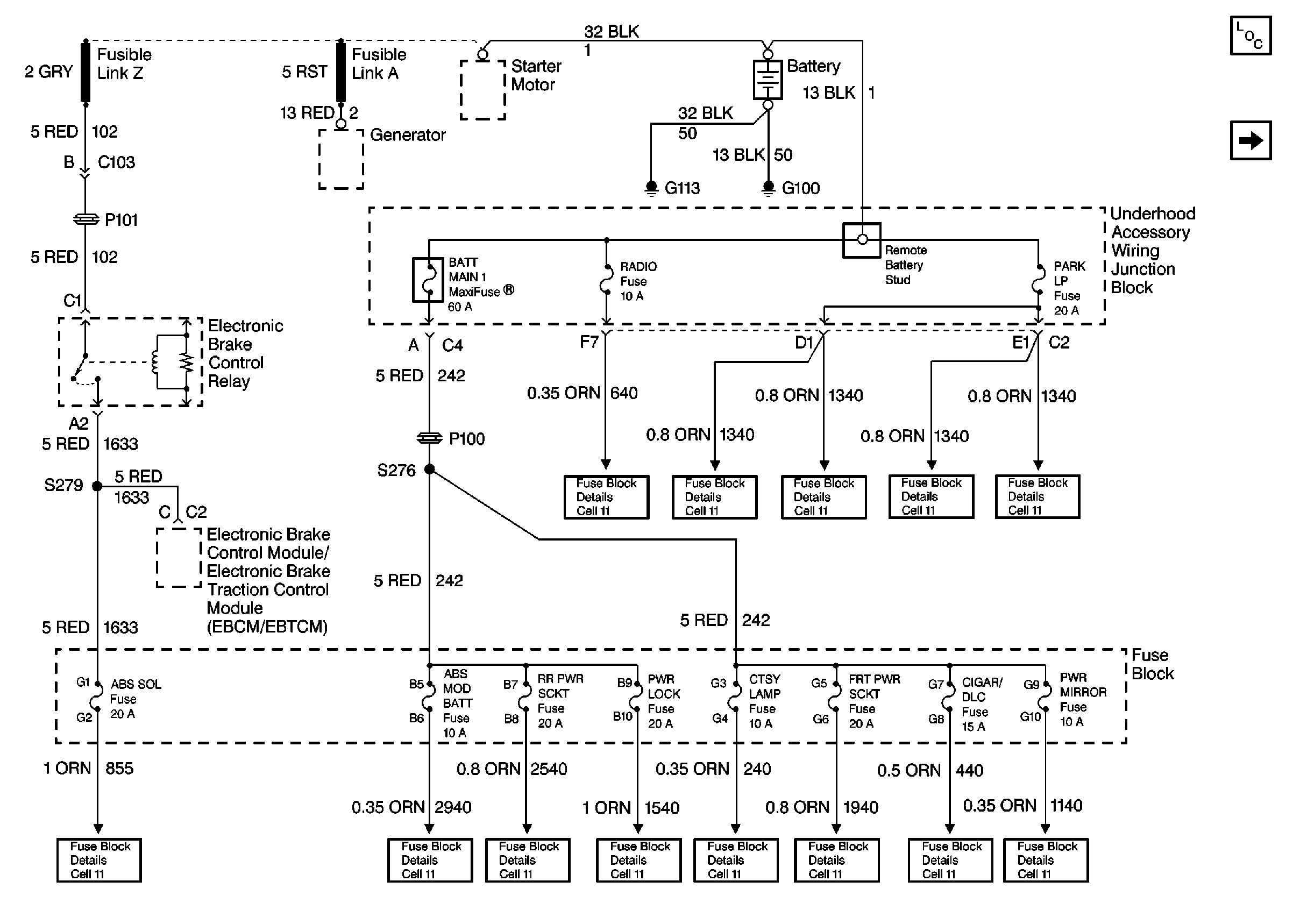
Cell 10: EBCM, EBTCM, Battery


Object Number: 478901  Size: FS
Power and Grounding Components
Fuse Block Schematics
Fuse Block Schematics
Fuse Block Schematics
Fuse Block Schematics
Fuse Block Schematics
Fuse Block Schematics
Fuse Block Schematics
Fuse Block Schematics
Fuse Block Schematics
Fuse Block Schematics
Fuse Block Schematics
Fuse Block Schematics
Fuse Block Schematics
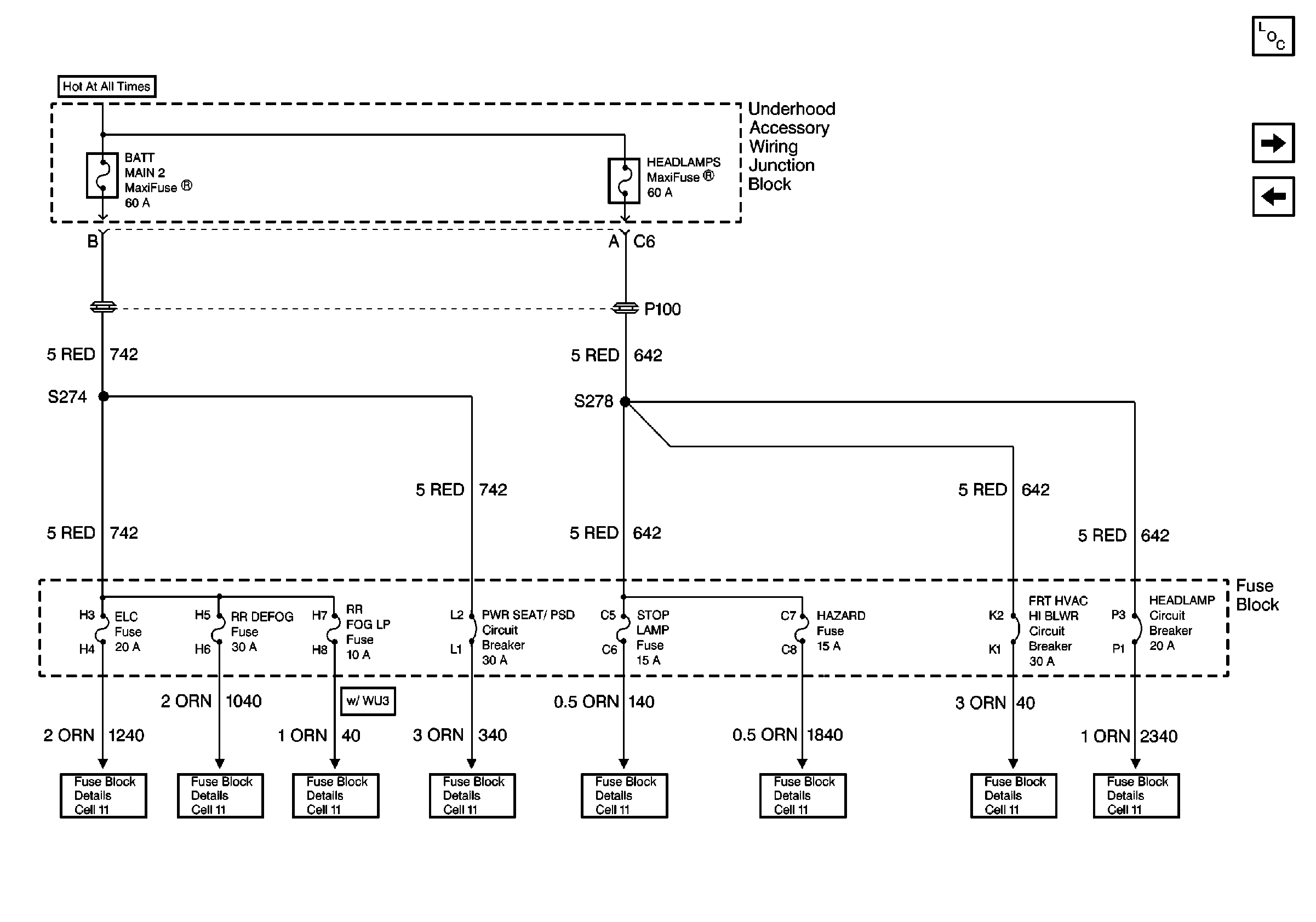
Cell 10: Fuse Block, Underhood Accessory Wiring Junction Block
Figure 2:

Cell 10: Fuse Block, Underhood Accessory Wiring Junction Block


Object Number: 451047  Size: FS
Power and Grounding Components
Fuse Block Schematics
Fuse Block Schematics
Fuse Block Schematics
Fuse Block Schematics
Fuse Block Schematics
Fuse Block Schematics
Fuse Block Schematics
Fuse Block Schematics
Cell 10: EBCM, EBTCM, Battery
Cell 10: Ignition Switch
Figure 3:

Cell 10: Ignition Switch


Object Number: 478904  Size: FS
Power and Grounding Components
Fuse Block Schematics
Fuse Block Schematics
Fuse Block Schematics
Fuse Block Schematics
Fuse Block Schematics
Fuse Block Schematics
Fuse Block Schematics
Fuse Block Schematics
Fuse Block Schematics
Fuse Block Schematics
Fuse Block Schematics
Cell 10: Fuse Block, Underhood Accessory Wiring Junction Block
Cell 10: Transaxle Range Switch
Figure 4:

Cell 10: Transaxle Range Switch


Object Number: 451048  Size: FS
Power and Grounding Components
Fuse Block Schematics
Fuse Block Schematics
Fuse Block Schematics
Fuse Block Schematics
Fuse Block Schematics
Fuse Block Schematics
Fuse Block Schematics
Fuse Block Schematics
Cell 10: Underhood Accessory Wiring Junction Block
Cell 10: Ignition Switch
Cell 10: Underhood Accessory Wiring Junction Block
Figure 5:

Cell 10: Underhood Accessory Wiring Junction Block


Object Number: 478907  Size: FS
Power and Grounding Components
Fuse Block Schematics
Fuse Block Schematics
Fuse Block Schematics
Fuse Block Schematics
Fuse Block Schematics
Ground Distribution Schematics
Ground Distribution Schematics
Cell 10: Transaxle Range Switch
Cell 10: Transaxle Range Switch