GM Service Manual Online
For 1990-2009 cars only
Makes
🢒
Chevrolet
🢒
1999
🢒
Venture Ext.
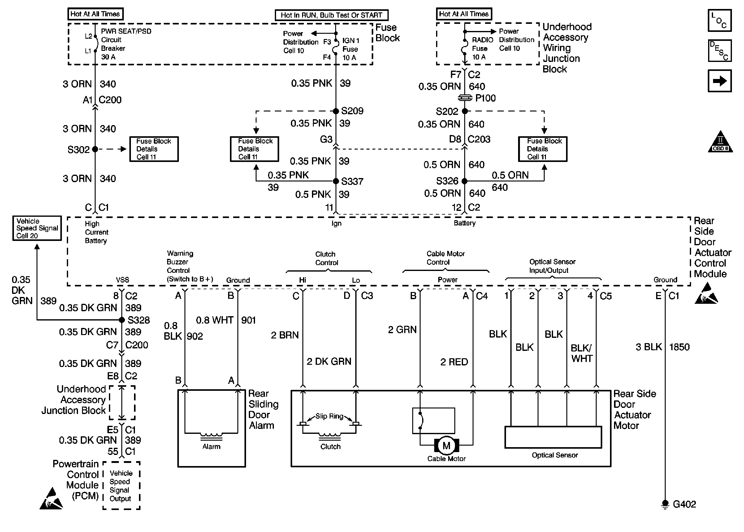
🢒 PSD Module
PSD Module
PSD Module
Power Door Systems Components
Power Sliding Door (PSD) Circuit Description
PSD Module Control Switches
OBD II Symbol Description Notice
Handling ESD Sensitive Parts Notice
Cell 11: UH: Radio Fuse
Cell 10: EBCM, EBTCM, Battery
Cell 10: Ignition Switch, Transaxle Range Switch
Cell 11: FRT HVAC HI BLWR, HEADLAMP, PWR SEAT/PSD and PWR WDO CKT Breakers
Cell 11: IGN 1 Fuse
Vehicle Speed Sensor
Handling ESD Sensitive Parts Notice