GM Service Manual Online
For 1990-2009 cars only

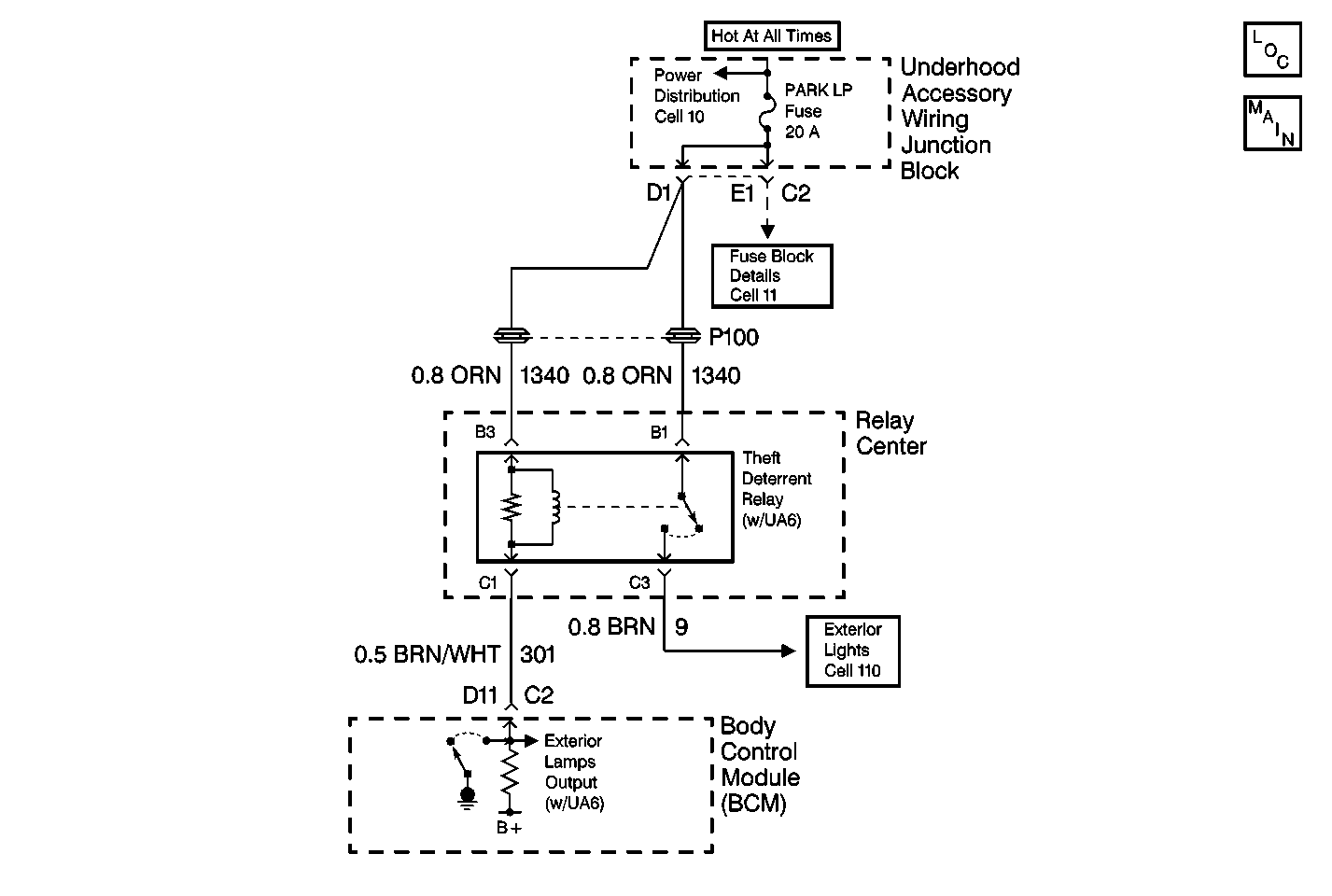
Object Number: 323122  Size: MF
Body Control Module Components
Cell 51: BCM: Ignition Input, Door Locks, Exterior Lamps Output
Cell 11: UH: ALT Sense, B/U Lamp, ECM Sense, Fog LP, Fuel Pump, Horn and Park LP Fuses
Cell 110: License Lamps, Relay Center

Circuit Description

The body control module (BCM) type 4 activates the headlamps and the horn based on:

    • The message received from the keyless entry systems remote control door lock receiver (RCDLR) in order to perform the alarm mode.
    • The BCM detects a theft attempt when the content theft deterrent is in either the armed or warning mode.
    • The theft deterrent system is in the trunk open mode.

The BCM interfaces with the headlamps through the theft deterrent relay. The theft deterrent relay allows the BCM to turn the headlamps ON providing a visual alert. The BCM energizes the theft deterrent relay, turning the headlamps ON by grounding CKT 301 during the following modes:

    • The armed mode--When the content theft deterrent is in the armed mode, the BCM turns the headlamps ON once for 950-1000 ms. The BCM turns on the headlamps only if the remote activation verification is in either mode 2, 3 or 4. Refer to Diagnostic Aids. The horn also sounds during this mode. The BCM will sound the horn first then the headlamps will flash.
    • The warning mode--The warning mode attempts to warn away potential intruders prior to setting off the alarm mode. The headlamps will cycle ON and OFF 5 times at a rate of .09-1.1 hz with a 15-25% active state duty cycle. The horn will sound 5 times during this mode although the BCM alternates between the horn and the headlamps.
    • The alarm mode--When the content theft deterrent is in the alarm mode, the BCM will turn the headlamps ON and OFF for 2 minutes or until the alarm is disarmed at a rate of 9.0-1.1 hz with a 15-25% active state duty cycle. The horn will sound during this mode although the BCM alternates between the horn and the exterior lights.

Conditions for Setting the DTC

The BCM detects a short to B+ or ground in CKT 301.

Action Taken When the DTC Sets

    • The BCM sets the diagnostic trouble code (DTC) 6.
    • The BCM does not turn on the headlamps during the armed, warning, alarm or trunk open modes.
    • If CKT 301 is shorted to ground, the headlamps will stay ON at all times.

Conditions for Clearing the MIL/DTC

    • A short to B+ or ground in CKT 301 is no longer present between the BCM and the theft deterrent relay.
    • After the repairs are completed, The DTC is cleared by performing the Clearing Diagnostic Trouble Codes procedure.

Diagnostic Aids

    • Inspect for a short to B+ or ground in CKT 301.
    • A faulty theft deterrent relay.
    • Perform the following test while moving the wiring and connectors. This will cause the malfunction to appear.

Remote Activation Verification Modes

Perform the following procedure in order to change the remote activation verification mode:

  1. Turn the instrument panel dimmer switch OFF.
  2. Turn the ignition switch to the LOCK position.
  3. Remove the BCM PRGRM fuse.
  4. Turn the ignition switch to the ACC position.
  5. • The BCM will sound a chime the number of times equivalent to the BCM type installed on the vehicle.
    • The BCM has entered the feature customization mode.
    • In order to change the remote activation verification mode, press the lock button on the keyless entry transmitter.
    • The BCM will sound a chime the number of times equivalent to the remote activation verification mode.

The following are the remote activation verification modes:

    • Mode 1--The remote activation verification is disabled. No horn or headlamps.
    • Mode 2--The headlamps will flash when locking/unlocking the doors with the keyless entry transmitter.
    • Mode 3--The headlamps will flash when unlocking the doors with the keyless entry transmitter. The headlamps will flash and the horn will sound when locking the doors with the keyless entry transmitter.
    • Mode 4--The headlamps will flash when unlocking/locking the doors with the keyless entry transmitter. The headlamps will flash and the horn will sound when locking the doors with the keyless entry transmitter a second time within 5 seconds of locking the doors with the keyless entry transmitter.

BCM Input/Output test Procedure

  1. Turn the IP dimmer switch OFF.
  2. Turn the ignition switch to the LOCK position.
  3. Remove the BCM PRGRM fuse.
  4. Turn the ignition switch to the ACC position.
  5. The BCM will sound a chime the number of times equivalent to the BCM type installed on the vehicle.

  6. Within 1 second, turn the ignition switch from the ACC position, to the LOCK position, then back to the ACC position.
  7. The BCM will sound any DTCs that are stored.

  8. Turn the IP dimmer switch to the DOME position.

The BCM has entered the Input/Output Test. The BCM Input/Output consists of the following:

    • Test 1 de-energizes CKT 1393 (protected courtesy lamp output).
    • Test 2 energizes CKT 1393.
    • Test 3 grounds CKT 690 (courtesy lamps control).
    • Test 4 energizes the theft deterrent relay for 1 second by grounding CKT 352, and turns on the headlamps (BCM type 3 and 4 only).
    • Test 5 energizes the horn relay for 25 ms by grounding CKT 28. Sounds the horn (BCM type 4 only).
    • Test 6 turns on the theft deterrent indicator lamp by grounding CKT 749 (BCM type 4 only).
    • Test 7 turns off the theft deterrent indicator lamp by opening CKT 749 (BCM type 4 only).

The BCM operates the Input/Output test in numerical order.

In order to move to the next test, cycle the instrument panel dimmer switch from DOME to OFF then back to DOME. The BCM will sound a chime a number of times equivalent to the Input/Output test number above. The Input/Output test sequence repeats until the ignition switch is turned to the LOCK position.

Test Description

The number(s) below refer to the step number(s) on the diagnostic table.

  1. Always perform the BCM diagnostic system check before attempting to diagnose the DTC.

  2. Inspect the ability of the BCM in order to turn on the exterior lights.

  3. Test for a short to B+ in CKT 301

  4. Test for a short to ground in CKT 301

  5. Test for a faulty theft deterrent relay.

  6. This test determines whether the condition is intermittent and not related to a faulty BCM.

Step

Action

Value(s)

Yes

No

1

Was the BCM diagnostic system check performed?

--

Go to Step 2

Go to Diagnostic System Check - Body Control System

2

Perform the BCM Input/Output test. Refer to Diagnostic Aids.

Do the exterior lights turn on for 1 second when the BCM Input/Output performs test 4?

--

Go to Step 6

Go to Step 3

3

  1. Turn the ignition switch to the LOCK position.
  2. Disconnect the theft deterrent relay located in the relay center.
  3. Disconnect the BCM connector C2.
  4. Turn the ignition switch to the RUN position.
  5. Use the DMM in order to measure the voltage between the BCM harness connector C2 terminal D11 and ground.

Is the voltage less than the specified value?

2 V

Go to Step 4

Go to Step 7

4

Use a DMM in order to measure the resistance between the BCM harness connector C2 terminal D11 and ground.

s the resistance equal to the specified value?

Infinite

Go to Step 5

Go to Step 8

5

Use a DMM in order to measure the resistance between the theft deterrent relay terminals C1 and B3 (relay side).

Is the resistance within the specified range?

65-110ohms

Go to Step 6

Go to Step 9

6

  1. Turn the ignition switch to the LOCK position.
  2. Reinstall the connectors/components removed.
  3. Turn the ignition switch to the RUN position.
  4. Press alarm on the keyless entry transmitter. When the vehicle horn sounds, press alarm again.
  5. Turn the ignition switch to the LOCK position.
  6. Remove the BCM PRGRM fuse.
  7. Turn the ignition switch to the ACC position. The BCM sounds the chime a number of times equivalent to the BCM type installed on the vehicle.
  8. Within 1 second, turn the ignition switch from the ACC position, to the LOCK position, then back to the ACC position. The BCM sounds any DTCs stored.

Does DTC 6 reset?

--

Go to Step 10

Go to Step 11

7

Repair short to B+ in CKT 301.

Is the repair complete?

--

Go to Step 12

--

8

Repair short to ground in CKT 301.

Is the repair complete?

--

Go to Step 12

--

9

Replace the theft deterrent relay.

Is the repair complete?

--

Go to Step 12

--

10

    • Inspect the BCM connector C2 terminal D11 for a short to B+ or ground, and perform the necessary connector repairs.
    • If the connector is OK, replace the BCM. Refer to Body Control Module Replacement

Is the repair complete?

--

Go to Step 12

--

11

The malfunction is not present at this time. Refer to Diagnostic Aids.

Is the action complete?

--

Go to BCM Diagnostic System Check

--

12

  1. Turn the ignition switch to the LOCK position.
  2. Reinstall the connectors/components removed.
  3. Remove the BCM PRGRM fuse.
  4. Turn the ignition switch to the ACC position. The BCM sounds the chime a number of times equivalent to the BCM type installed on the vehicle.
  5. Within 1 second, turn the ignition switch from the ACC position, to the LOCK position, then back to the ACC position. The BCM sounds any DTCs stored.

Are any BCM DTCs present?

--

Go to Diagnostic System Check - Body Control System

System OK