GM Service Manual Online
For 1990-2009 cars only

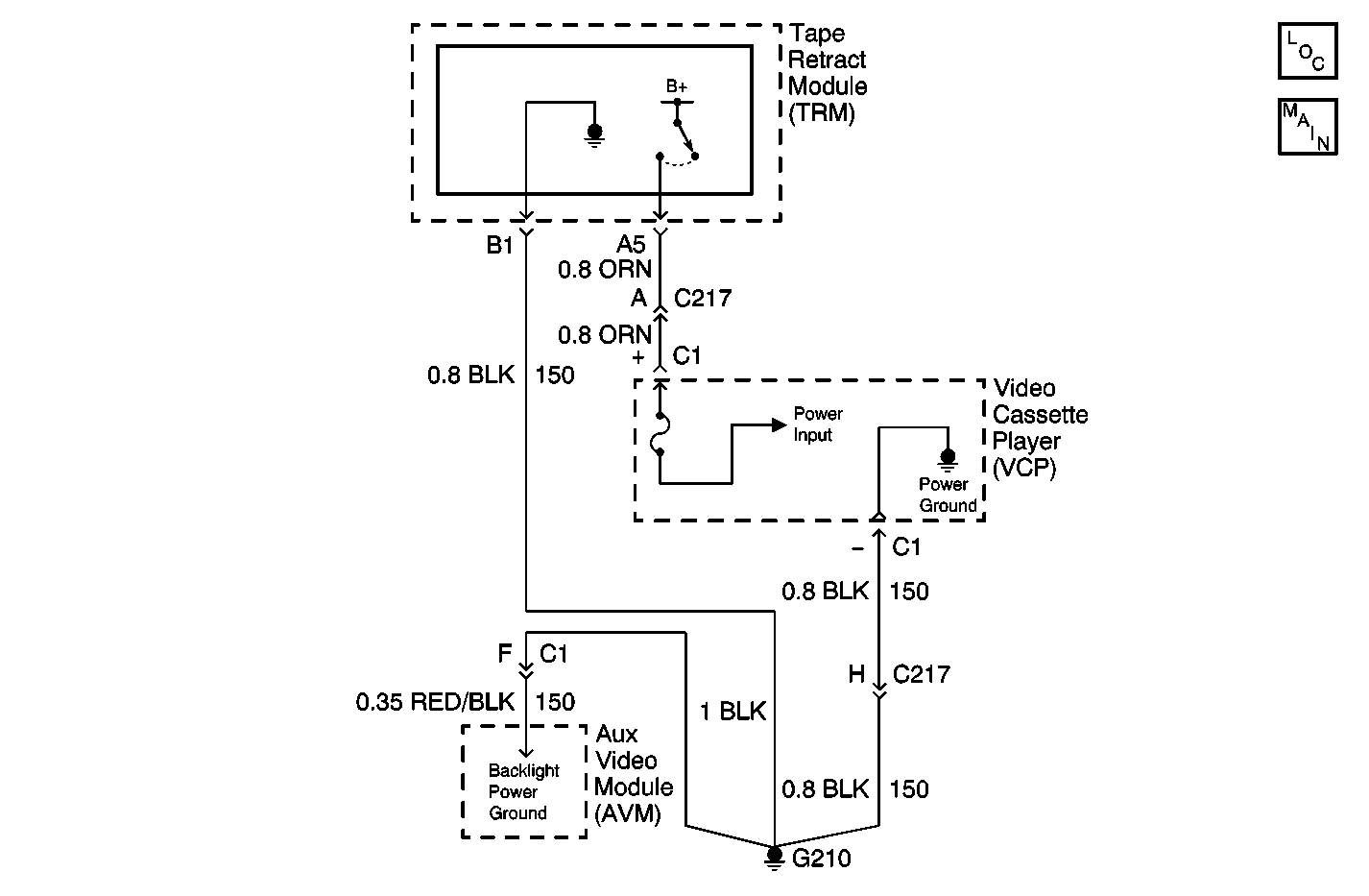
Object Number: 629280  Size: MF
Entertainment Components
Power and Ground Distribution (Later Design)

Circuit Description

The Video Cassette Player (VCP) plays pre-recorded VHS cassettes. The Tape Retract Module (TRM) supplies the VCP with voltage when the ignition is on and the LCD display screen is pulled down in the viewing position. When the ignition is turned off, the TRM and the VCP lose power at the same time. The TRM has a timer function that allows battery voltage to be restored to the VCP for 12 seconds to retract the cassette tape from the playback head, thus preventing cassette damage. Note that the "cassette in" indicator lamp in the VCP turns on during the 12 second period when the VHS tape is unloaded in the VCP.

Diagnostic Aids

    • Check for the following conditions:
       - An open in the voltage supply from the TRM to the VCP.
       - An open in the ground circuit between the TRM and the VCP.
       - A faulty TRM.
       - A faulty VCP.
    • An intermittent failure may be very difficult to detect and to diagnose accurately. Faulty electrical connections or wiring causes most intermittent problems. When an intermittent condition is suspected, check the suspected circuits for the following conditions:
       - Poor mating of connector halves or backed out terminals.
       - Improperly formed or damaged terminals.
       - Wire chafing.
       - Poor wire to terminal connections.
       - Dirty or corroded terminals.
       - Damage to connector bodies.
       - Wire broken inside the insulation.

Test Description

The number(s) below refer to the step number(s) on the diagnostic table.

  1. Tests if the video display screen turns on correctly.

  2. Tests if the VCP power supply connector is backed out.

  3. Tests if the VCP fuse is open.

  4. Tests if the VCP fuse is open due to an internal short in the VCP or overload condition.

  5. Tests for power at the VCP power supply connector.

  6. Tests for an open in the ground circuit to the VCP connector.

  7. Tests for an open in the B+ circuit to the VCP connector.

  8. Verifies repairs made to the VES.

Step

Action

Value(s)

Yes

No

DEFINITION: The Video Cassette Player (VCP) does not turn on when the ignition switch is on. However, the video display screen turns on when the screen is in the down position with the ignition switch on.

1

  1. Turn the ignition switch on.
  2. Pull down the video display screen.

Does the video display screen turn on?

--

Go to Step 3

Go to Step 2

2

Refer to Video Entertainment System Inoperative table for further diagnosis and repair of the VES.

Is the action complete?

--

Go to Step 12

--

3

Test the Video Cassette Player (VCP) connector C1 (power supply). Ensure that the connector is fully seated into the VCP.

Is the connection OK?

--

Go to Step 5

Go to Step 4

4

Reconnect the VCP connector C1.

Is the action complete?

--

Go to Step 12

--

5

Test the VCP fuse located in the back of the VCP unit.

Is the VCP fuse open?

--

Go to Step 6

Go to Step 8

6

  1. Disconnect the VCP connector C1.
  2. Replace the VCP fuse.
  3. Reconnect the VCP connector C1.
  4. Turn the ignition switch on.
  5. Turn on the VCP.

Does the VCP turn on?

--

Go to Step 12

Go to Step 7

7

Replace the VCP. Refer to Video Cassette Player Replacement .

Is the repair complete?

--

Go to Step 12

--

8

  1. Disconnect the VCP connector C1 (power supply).
  2. Turn the ignition switch on.
  3. Using a test light, connect between the positive (+) and negative (-) terminals of the VCP harness connector C1.

Does the test light illuminate?

--

Go to Step 7

Go to Step 9

9

Using a test light, connect between B+ and negative (-) terminal of the VCP harness connector C1.

Does the test light illuminate?

--

Go to Step 11

Go to Step 10

10

Repair the poor connection or the open in the ground circuit to the VCP connector C1.

Is the repair complete?

--

Go to Step 12

--

11

Repair the poor connection or the open in the B+ circuit to the VCP connector C1.

If a poor connection or an open is not found, replace the TRM. Refer to Tape Retract Module Replacement .

Is the repair complete?

--

Go to Step 12

--

12

  1. Turn the ignition switch off.
  2. Reconnect the connectors or components that were previously removed.
  3. Verify that the Video Entertainment System (VES) operates properly.

Does the VES operate normally?

--

System OK

Go to Video System System Check