GM Service Manual Online
For 1990-2009 cars only

Object Number: 629288  Size: MF
Entertainment Components
Radio Audio Channel Outputs

Circuit Description

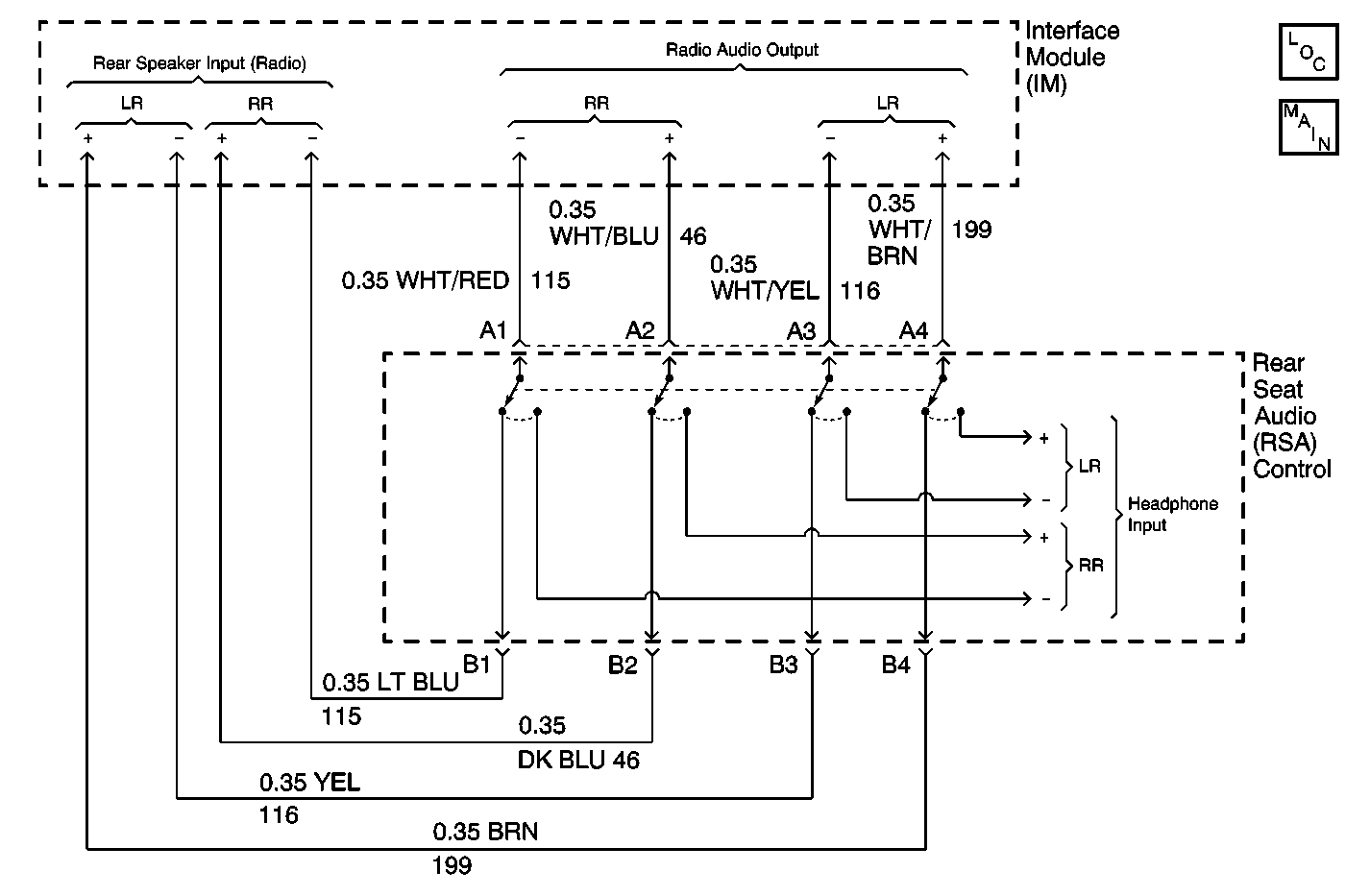
The Video Entertainment System (VES) controls the operation of the rear speakers. The Auxiliary Video Module (AVM) has an audio amplifier, which is used to sound video audio through the rear speakers. The Interface Module (IM) senses when the radio is in use through circuit 145; when the radio is off, the IM allows the rear speakers to sound video audio. However, when the radio is turned on, the IM mutes the rear speakers; video audio is then available through the headphone jacks at the Second or Third Seat Audio (SSA/TSA) controls only. This action prevents two sources of audio to be heard at the same time (radio audio through the front speakers and video audio through the rear speakers.)

The radio outputs its rear speaker audio channels directly to the Rear Seat Audio (RSA) control. When the RSA is turned on, the RSA routes these audio channels to the headphone jacks, and mutes the rear speakers. When the RSA is turned off, the RSA routes the radio audio channels to the Interface Module (IM). When the Video Entertainment System (VES) is off, the IM routes the radio audio channels to the rear speakers. If the VES is on, then the IM routes radio audio channels to the Second and Third Seat Audio (SSA/TSA) controls, and mutes the rear speakers.

Rear Seat Audio (RSA) control provides second row passengers access to the radio audio system. The RSA, when turned on, allows the user to listen to the radio, audio cassette, or compact disc (if equipped) through headphones. When the RSA is turned on, the RSA automatically mutes the rear speakers. The controls on the radio allow the driver and front passenger to adjust radio audio coming through the front speakers. At the same time, the second (and third row) passengers can listen to the audio cassette or CD while the front passengers are listening to the radio, and vice versa. The RSA provides volume controls, mode selection (radio/tape/cd), seek, among other features. The audio selected at the RSA controls is also routed to the Second and Third Seat Audio (SSA/TSA) controls. The RSA headphone jacks do not provide access to the video audio channel; it is only available the SSA/TSA controls.

Diagnostic Aids

    • Check for the following conditions:
       - An open in circuit 46 and/or 115 between the IM and the Rear Seat Audio (RSA) (when the right channel is inoperative).
       - An open in circuit 116 and/or 199 between the IM and the Rear Seat Audio (RSA) (when the left channel is inoperative).
       - A faulty RSA.
       - A faulty IM.
    • An intermittent failure may be very difficult to detect and to diagnose accurately. Faulty electrical connections or wiring causes most intermittent problems. When an intermittent condition is suspected, check the suspected circuits for the following conditions:
       - Poor mating of connector halves or backed out terminals.
       - Improperly formed or damaged terminals.
       - Wire chafing.
       - Poor wire to terminal connections.
       - Dirty or corroded terminals.
       - Damage to connector bodies.
       - Wire broken inside the insulation.

Test Description

The number(s) below refer to the step number(s) on the diagnostic table.

  1. Checks for audio output coming from the radio and bussed through the IM.

  2. Verifies repairs made to the VES.

Step

Action

Value(s)

Yes

No

1

  1. Turn the ignition switch on.
  2. Turn the radio on and set volume loudness at mid-level.
  3. Turn the Rear Seat Audio (RSA) control off.
  4. Using a digital multimeter (DMM) set on AC voltage scale, measure the voltage by backprobing between:
  5. • Right channels: Rear Seat Audio (RSA) harness connector terminals A1 and A2.
    • Left channels: Rear Seat Audio (RSA) harness connector terminals A3 and A4.

While the radio is playing music, does the voltage measure in the specified range?

0-3 V AC (Varies as Music Plays)

Go to Step 2

Go to Step 3

2

  1. Inspect for a poor connection between the RSA and the IM. Repair as necessary.
  2. If connection is OK, then replace the RSA. Refer to Rear Seat Audio Control Replacement .

Is the repair complete?

--

Go to Step 4

--

3

Replace the IM. Refer to Interface Module Replacement .

Is the repair complete?

--

Go to Step 4

--

4

  1. Turn the ignition switch off.
  2. Reconnect connectors/components removed.
  3. Verify the operation of the Video Entertainment System (VES).

Does the VES operate normally?

--

System OK

Go to Video System System Check