GM Service Manual Online
For 1990-2009 cars only
Makes
🢒
Chevrolet
🢒
2000
🢒
Venture Ext.
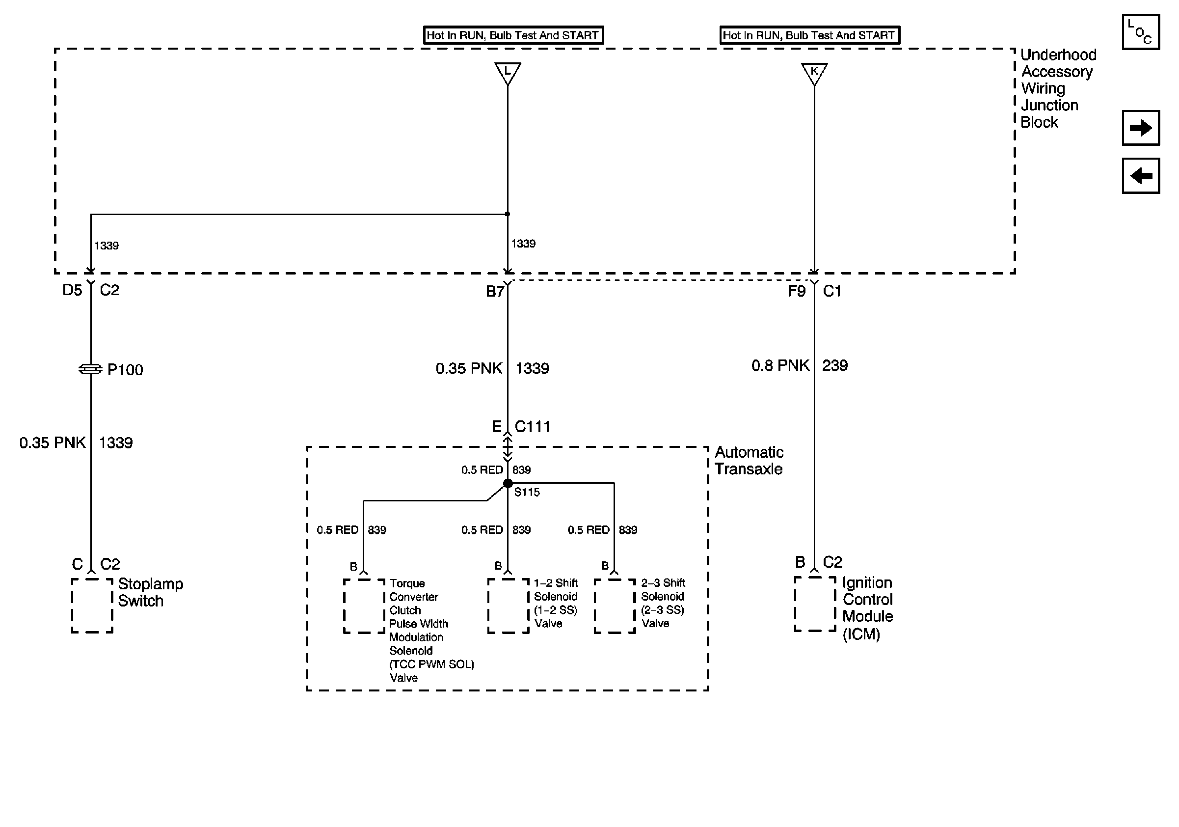
🢒 Underhood Accessory Wiring Junction Block
Underhood Accessory Wiring Junction Block
Underhood Accessory Wiring Junction Block
Underhood Accessory Wiring Junction Block
Underhood Accessory Wiring Junction Block
Power and Grounding Components
SWC Backlight and HTO Mirror Fuses
Under Accessory Wiring Junction Block and INJ Fuse