GM Service Manual Online
For 1990-2009 cars only
Makes
🢒
Chevrolet
🢒
2000
🢒
Venture Ext.
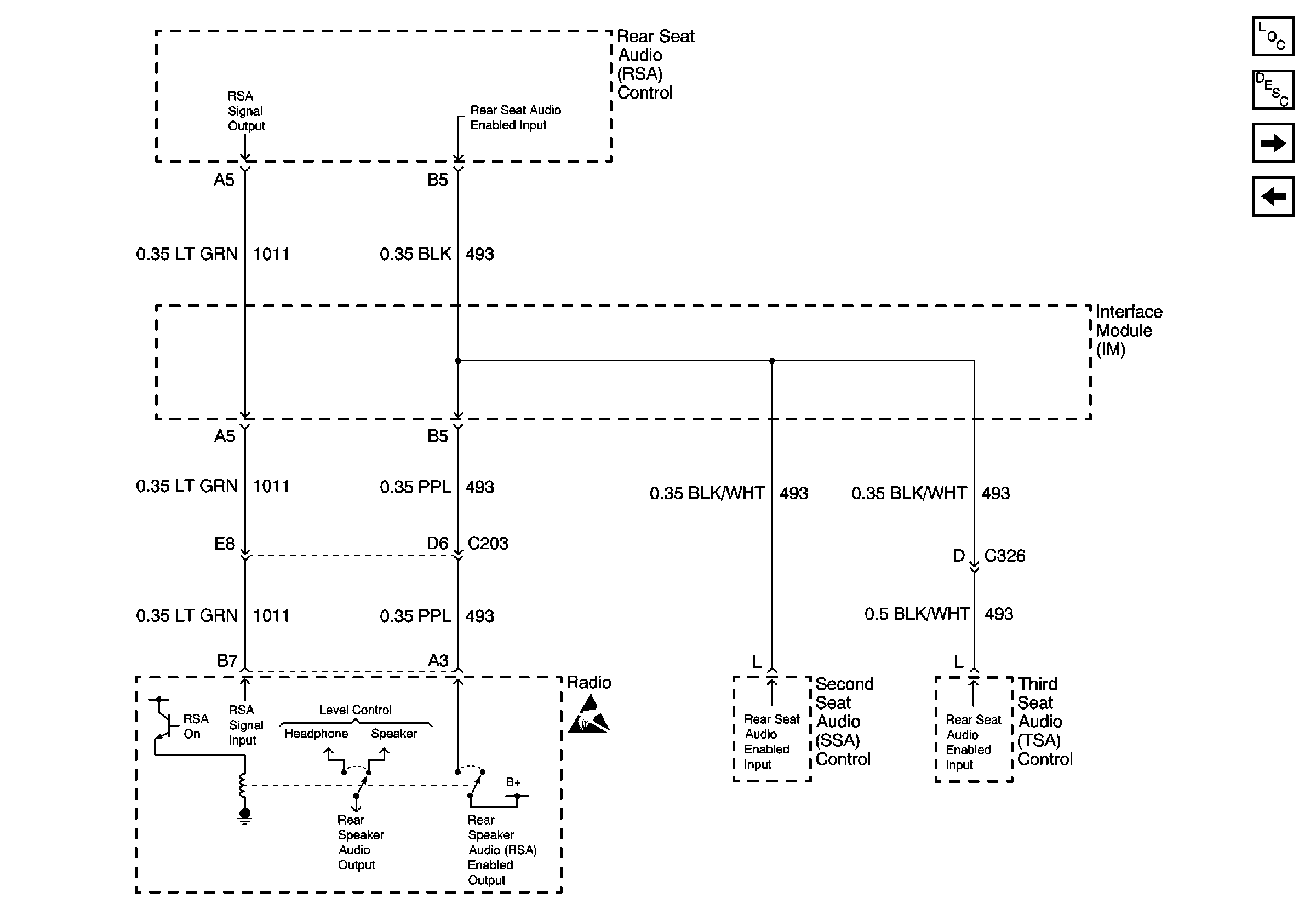
🢒 Rear Seat Audio (RSA) Enabling Circuits
Rear Seat Audio (RSA) Enabling Circuits
Rear Seat Audio (RSA) Enabling Circuits
Handling ESD Sensitive Parts Notice
Entertainment Components
Video System Description
Radio Audio Channel Outputs
Video Screen Controls