GM Service Manual Online
For 1990-2009 cars only
Makes
🢒
Chevrolet
🢒
2001
🢒
Venture Ext.
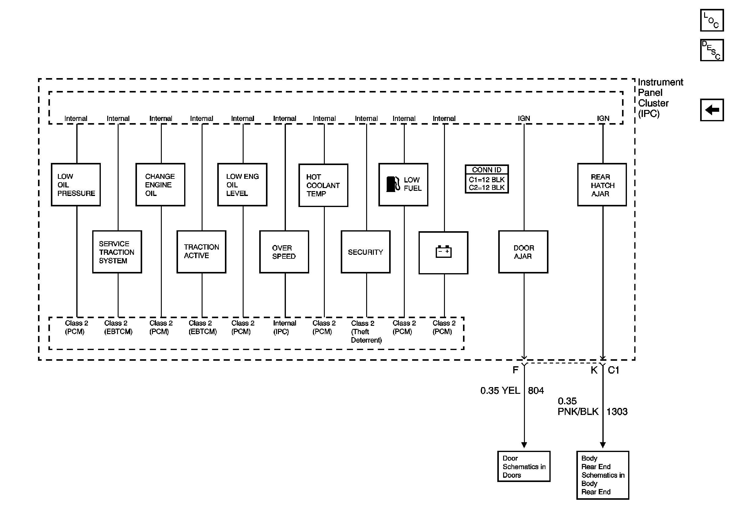
🢒 Class 2 Telltales
Class 2 Telltales
Class 2 Telltales
IP DOOR AJAR Telltale
IP REAR HATCH AJAR Telltale
Master Electrical Component List
Instrument Cluster Description and Operation
Hardwire Indicators