GM Service Manual Online
For 1990-2009 cars only
Makes
🢒
Chevrolet
🢒
2001
🢒
Venture Ext.
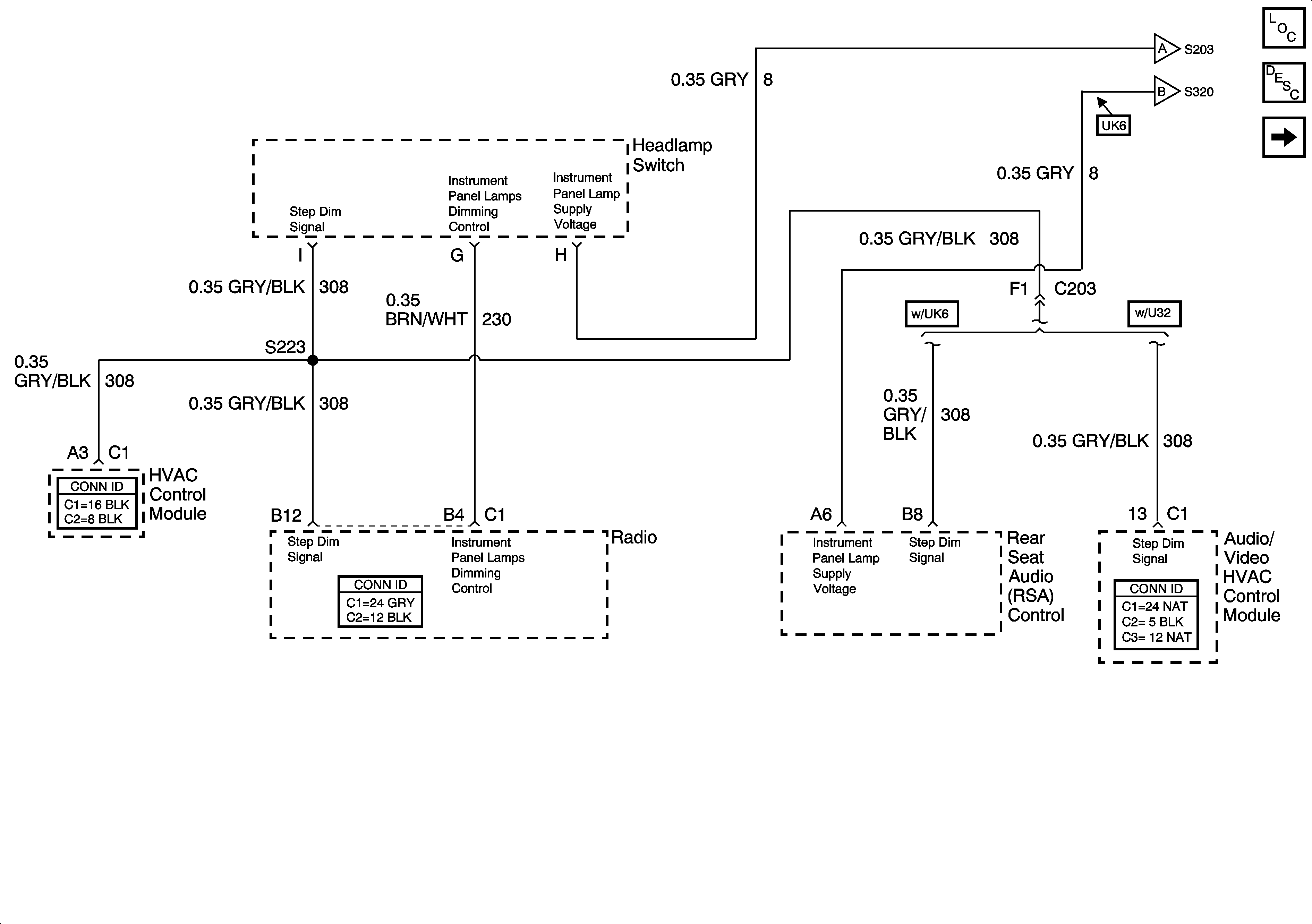
🢒 Headlamp and IP Lamp Dimmer Switch
Headlamp and IP Lamp Dimmer Switch
Headlamp and IP Lamp Dimmer Switch
Heater-A/C Control Switches and Instrument Cluster
Rear Window Wiper/Washer and Multifunction Switch, Window and Door Lock Switches
Master Electrical Component List
Interior Lighting Systems Description and Operation
Heater-A/C Control Switches and Instrument Cluster