GM Service Manual Online
For 1990-2009 cars only
Makes
🢒
Chevrolet
🢒
2001
🢒
Venture Ext.
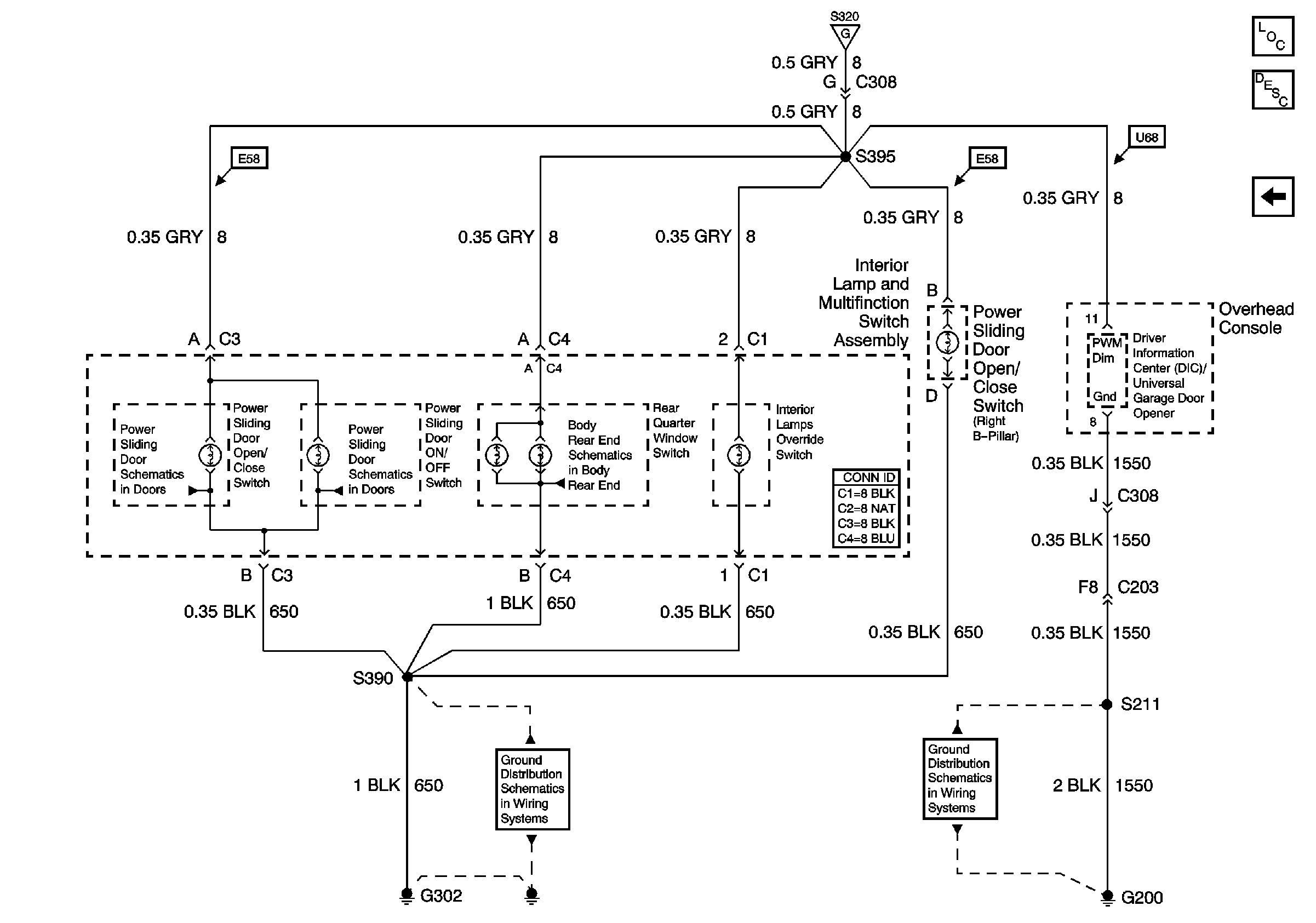
🢒 Interior Lamp and Multifunction Switch, Driver Information Display and Release Actuator Switch
Interior Lamp and Multifunction Switch, Driver Information Display and Release Actuator Switch
Interior Lamp and Multifunction Switch, Driver Information Display and Release Actuator Switch
Rear Window Wiper/Washer and Multifunction Switch, Window and Door Lock Switches
G302 (1 of 2)
G200 (1 of 3)
Master Electrical Component List
Interior Lighting Systems Description and Operation
Rear Window Wiper/Washer and Multifunction Switch, Window and Door Lock Switches