GM Service Manual Online
For 1990-2009 cars only
Makes
🢒
Chevrolet
🢒
2001
🢒
Venture Ext.
🢒 PCM References (1 of 2)
PCM References (1 of 2)
PCM References (1 of 2)
Master Electrical Component List
Powertrain Control Module Description
PCM References (2 of 2)
Fuel Pump Control, FTP
Engine Controls Schematic Icons
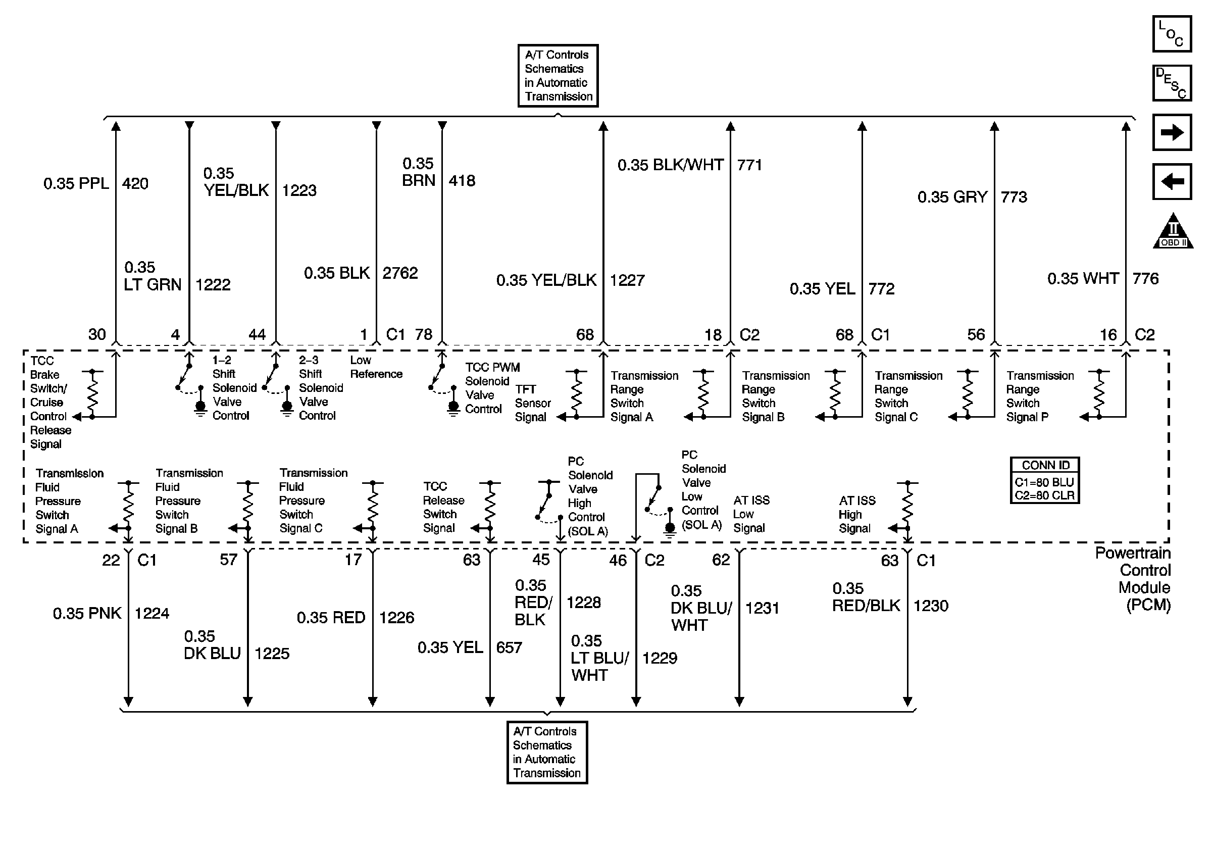
Solenoid Controls and TFT Sensor
Fluid Pressure Manual Valve Position Switch and ISS Sensor