GM Service Manual Online
For 1990-2009 cars only
Makes
🢒
Chevrolet
🢒
2001
🢒
Venture Ext.
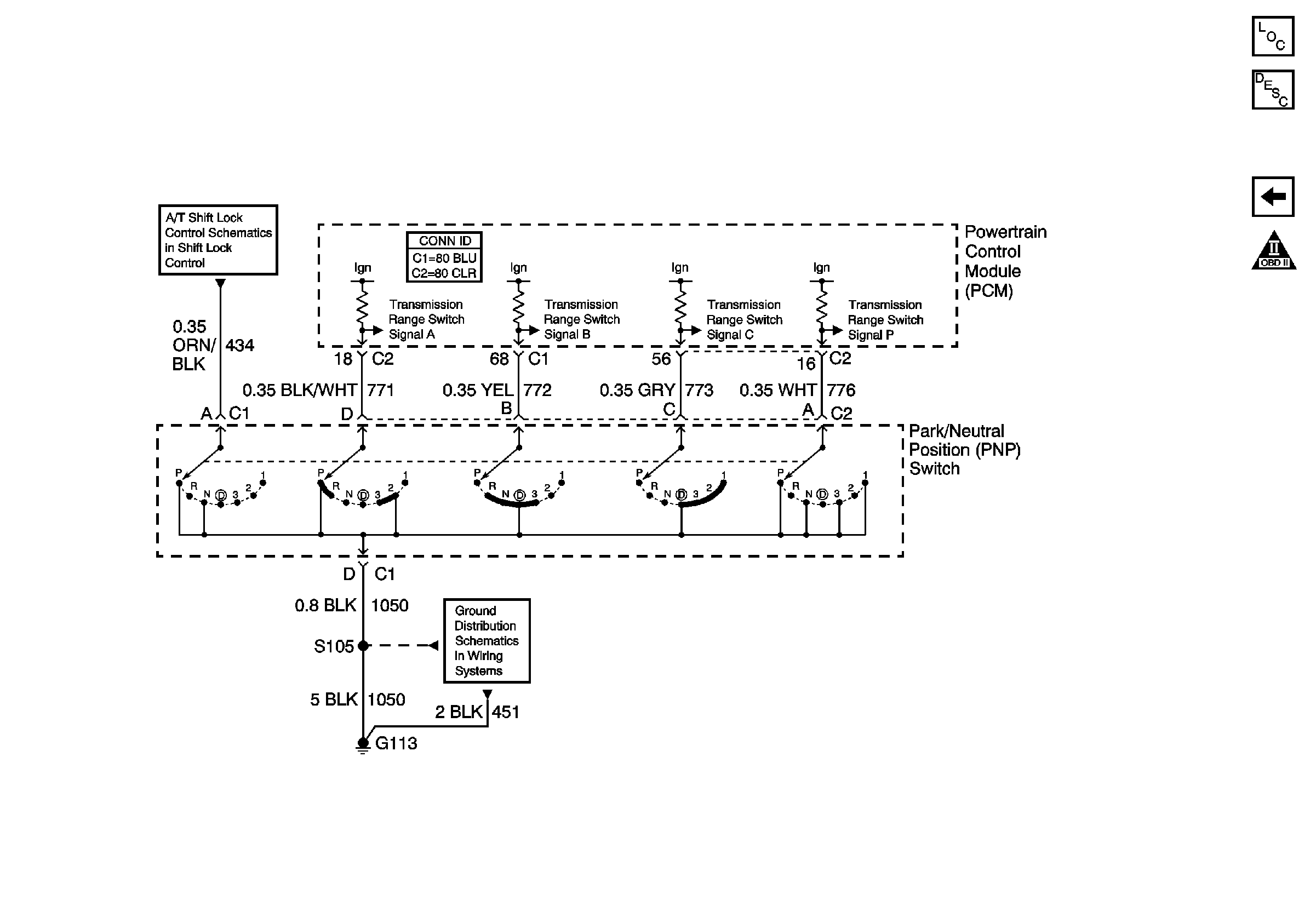
🢒 PNP Switch
PNP Switch
PNP Switch
Master Electrical Component List
Transmission Component and System Description
Fluid Pressure Manual Valve Position Switch and ISS Sensor
Engine Emission Notice
Shift Lock Controls
G113