GM Service Manual Online
For 1990-2009 cars only
Makes
🢒
Chevrolet
🢒
2001
🢒
Venture Ext.
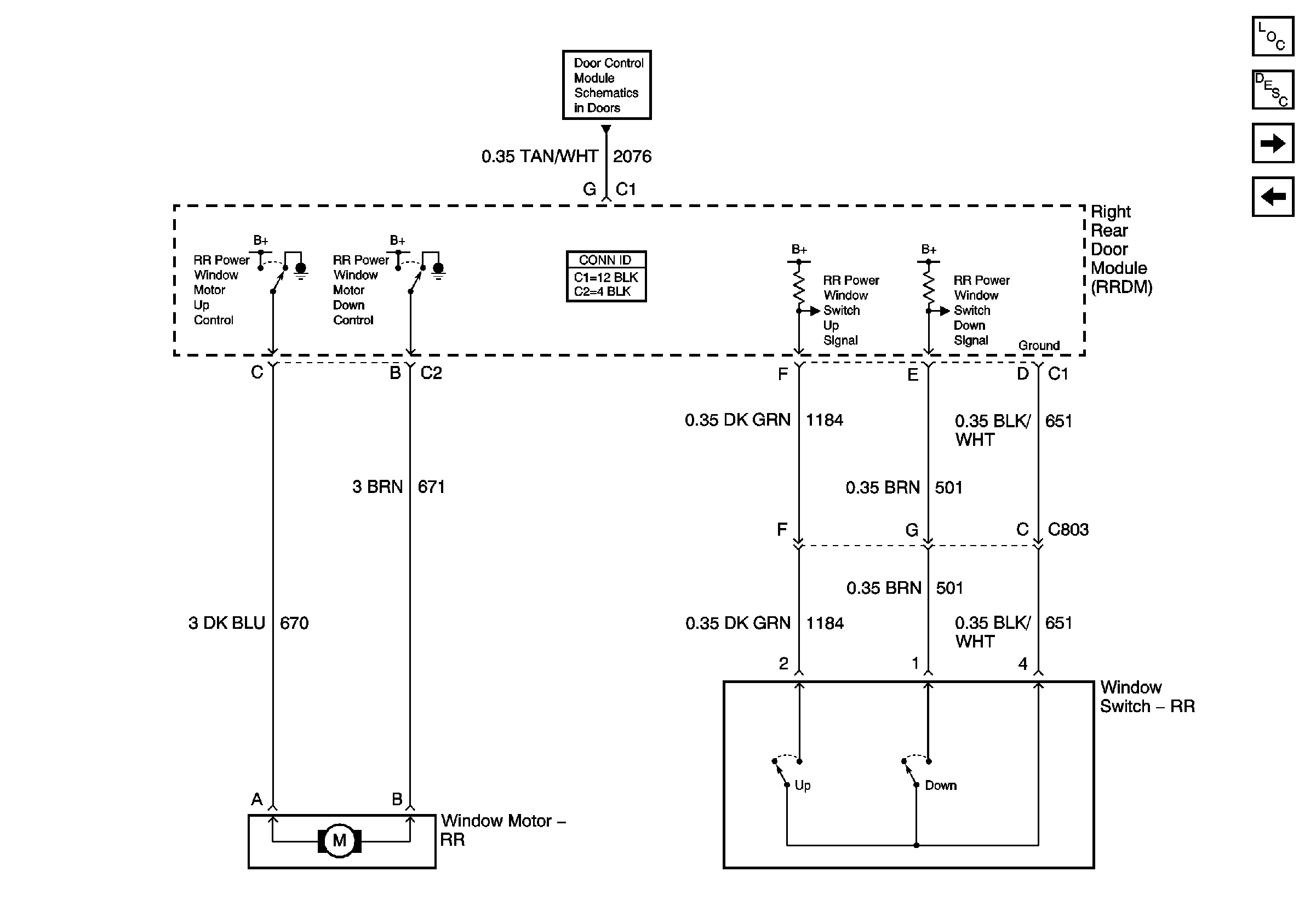
🢒 Right Rear Door
Right Rear Door
Right Rear Door
Master Electrical Component List
Simple Bus Interface (SBI)
Left Rear Door
Left Front Door