GM Service Manual Online
For 1990-2009 cars only
Makes
🢒
Chevrolet
🢒
2001
🢒
Venture Ext.
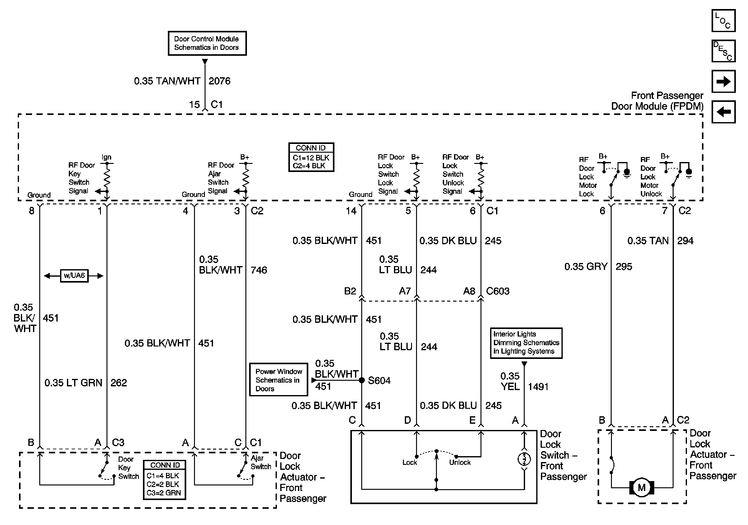
🢒 Right Front Door
Right Front Door
Right Front Door
Master Electrical Component List
Simple Bus Interface (SBI)
Right Front Door
Front Door Dimming
Left Rear Door
Left Front Door