GM Service Manual Online
For 1990-2009 cars only
Makes
🢒
Chevrolet
🢒
2001
🢒
Venture Ext.
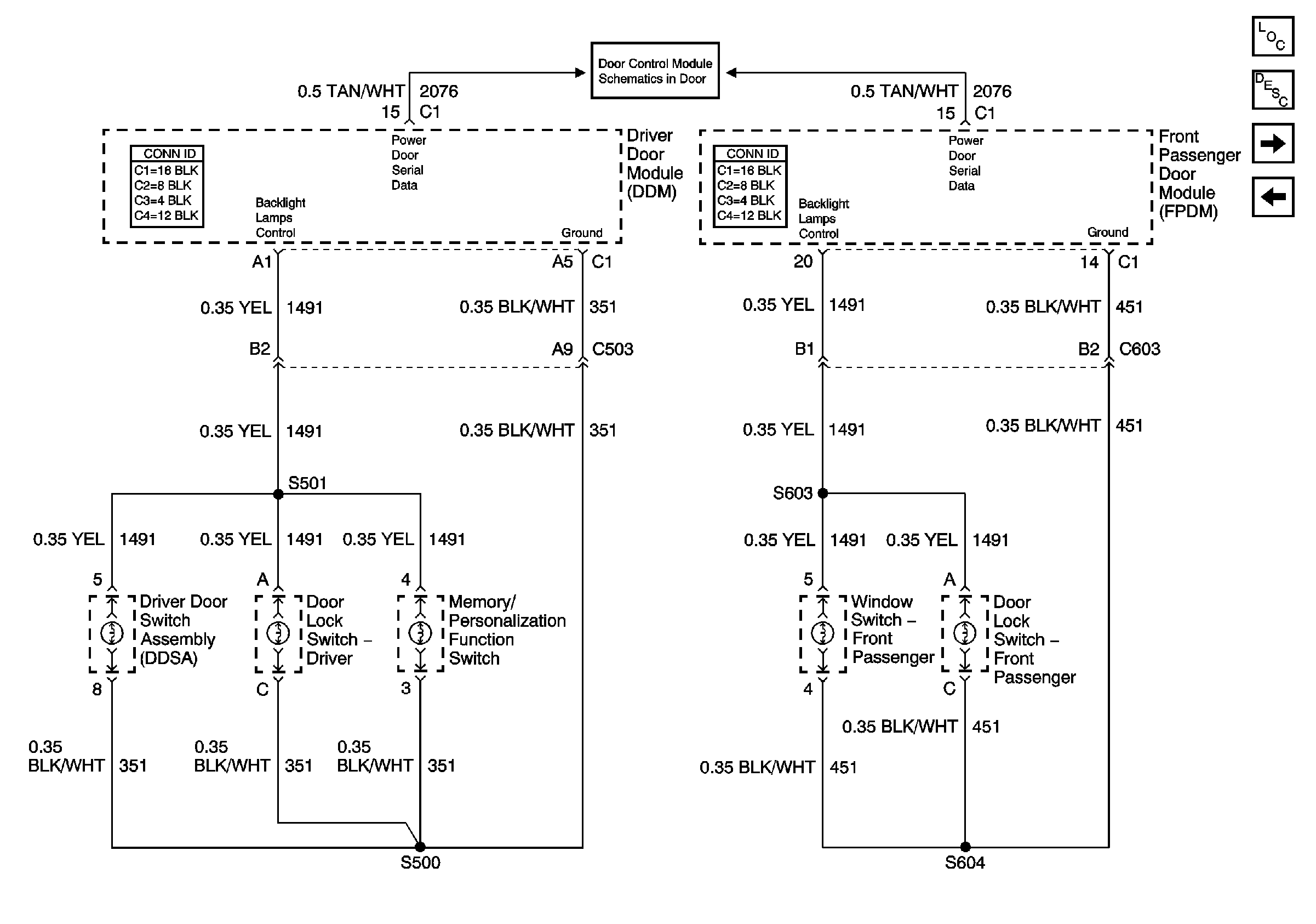
🢒 Front Door Dimming
Front Door Dimming
Front Door Dimming
Master Electrical Component List
Simple Bus Interface (SBI)
Steering Column Lamps Dimming
IP and Console Lamp Dimming