GM Service Manual Online
For 1990-2009 cars only
Makes
🢒
Chevrolet
🢒
2002
🢒
Venture Ext.
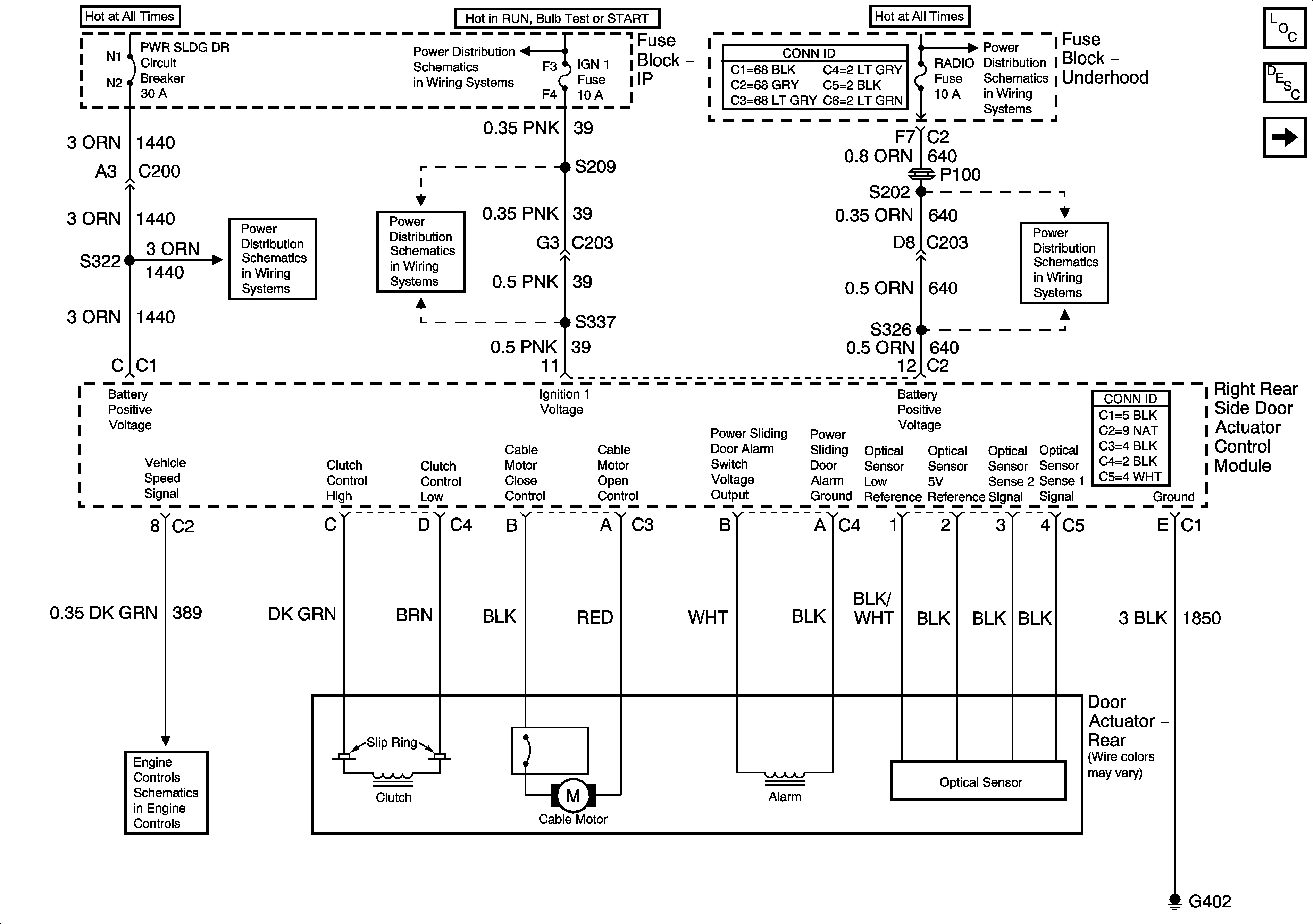
🢒 Right Door Power, Ground and PSD Motor
Right Door Power, Ground and PSD Motor
Right Door Power, Ground and PSD Motor
IGN 1, SDM, T/SIG, CRUISE and PCM PASS KEY/CLUSTER Fuses
EBCM, BATT MAIN 1, RADIO and PARK LP Fuses
BATT MAIN 2, ELC/TRAILER, RR DEFOG, RR FOG LP Fuses and PWR/HEATED SEAT PSD Circuit Breaker
IGN 1, SDM, T/SIG, CRUISE and PCM PASS KEY/CLUSTER Fuses
EBCM, BATT MAIN 1, RADIO and PARK LP Fuses
VSS
Master Electrical Component List
Power Sliding Door (PSD) Description and Operation
Right Door PSD Switches, Transmission Range Switch and RKE