GM Service Manual Online
For 1990-2009 cars only
Makes
🢒
Chevrolet
🢒
2002
🢒
Venture Ext.
🢒 Air Delivery/Temperature Controls
Air Delivery/Temperature Controls
Air Delivery/Temperature Controls
Master Electrical Component List
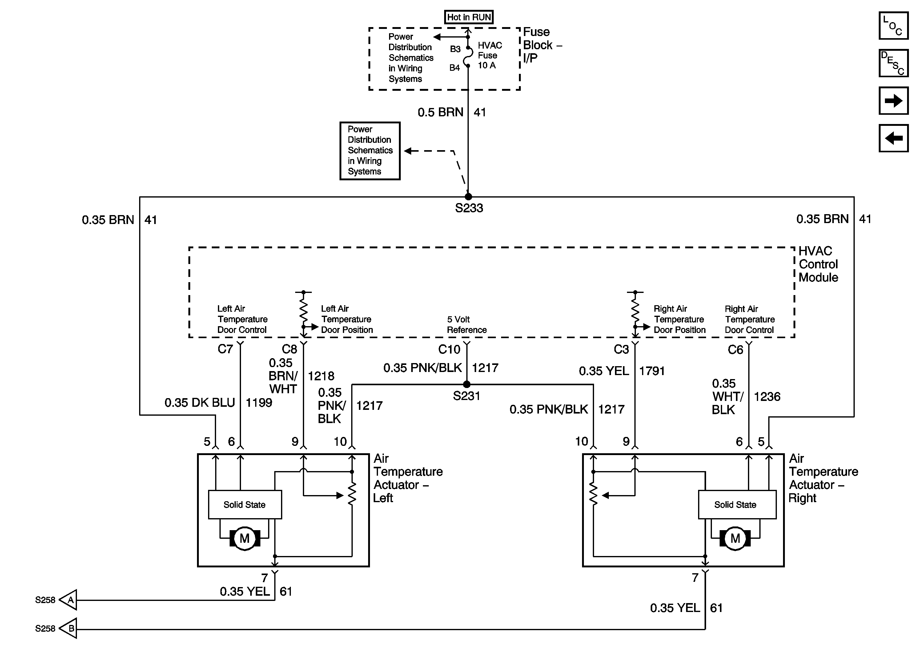
Air Temperature Description and Operation
Vacuum /Electric Solenoid
Air Delivery/Temperature Control
Blower, Cruise, HVAC
Blower, Cruise, HVAC
Air Delivery/Temperature Control
Air Delivery/Temperature Control