GM Service Manual Online
For 1990-2009 cars only
Makes
🢒
Chevrolet
🢒
2002
🢒
Venture Ext.
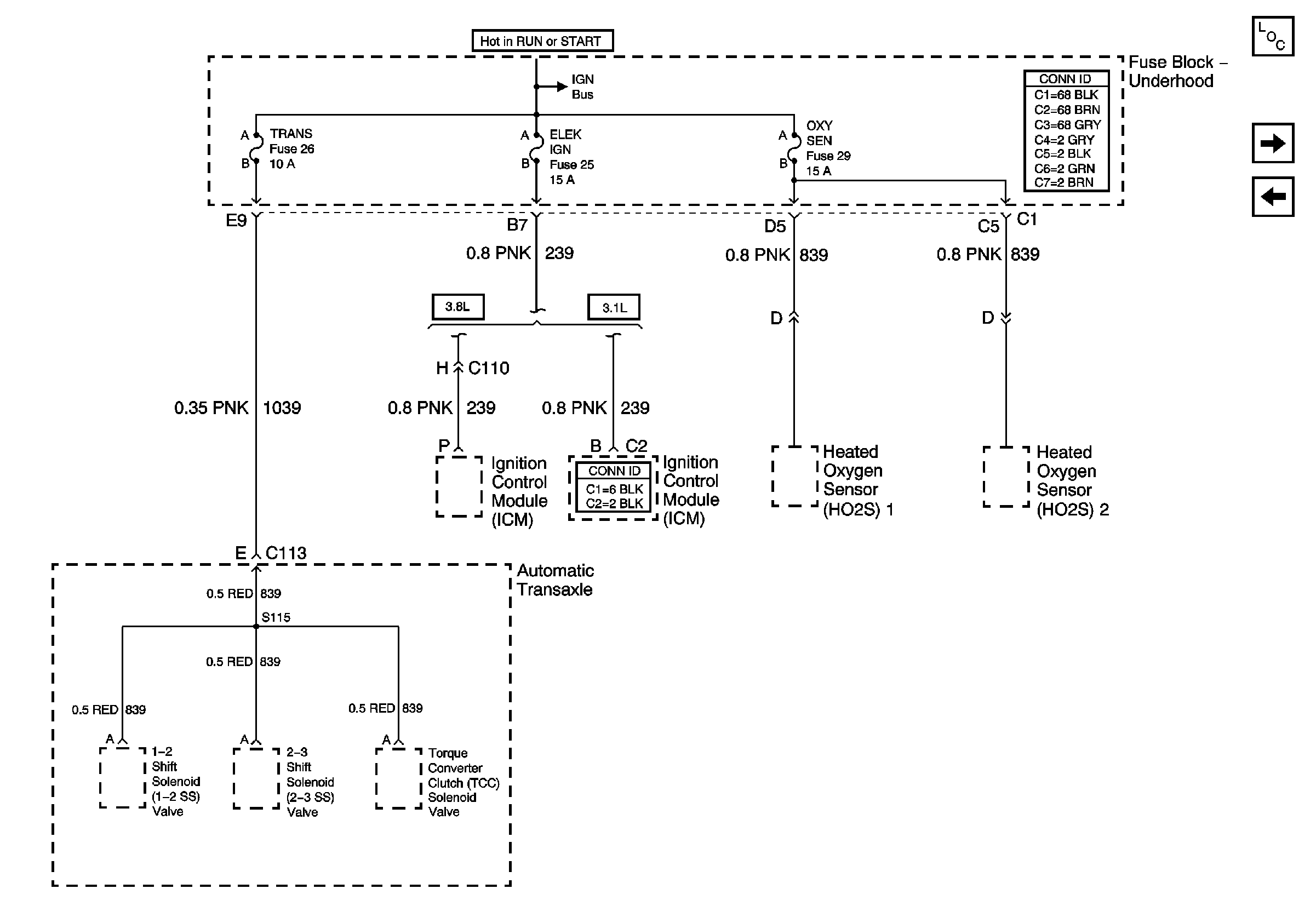
🢒 ATX,ICM,O2
ATX,ICM,O2
ATX,ICM,O2
Master Electrical Component List
Stop, EVAP, MAF
Fuel Injectors
Power Bussing for Fuse Block-Underhood page 2 of 2