GM Service Manual Online
For 1990-2009 cars only
Makes
🢒
Chevrolet
🢒
2002
🢒
Venture Ext.
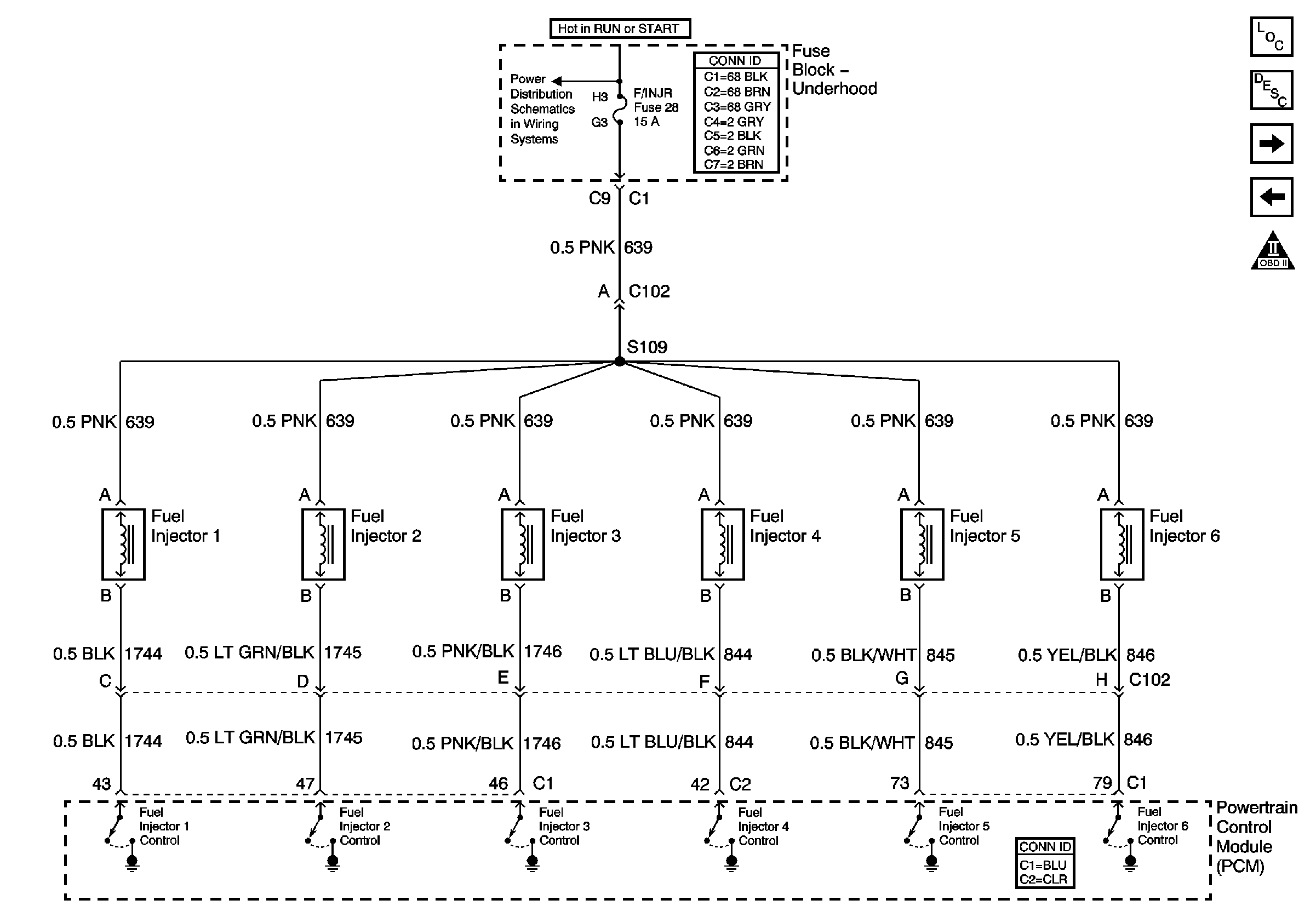
🢒 Fuel Injectors
Fuel Injectors
Fuel Injecters
Master Electrical Component List
Fuel System Description
Oxygen Sensors
Ignition Controls
OBD II Symbol Description Notice
Power Bussing for Fuse Block-Underhood page 2 of 2