GM Service Manual Online
For 1990-2009 cars only
Makes
🢒
Chevrolet
🢒
2002
🢒
Venture Ext.
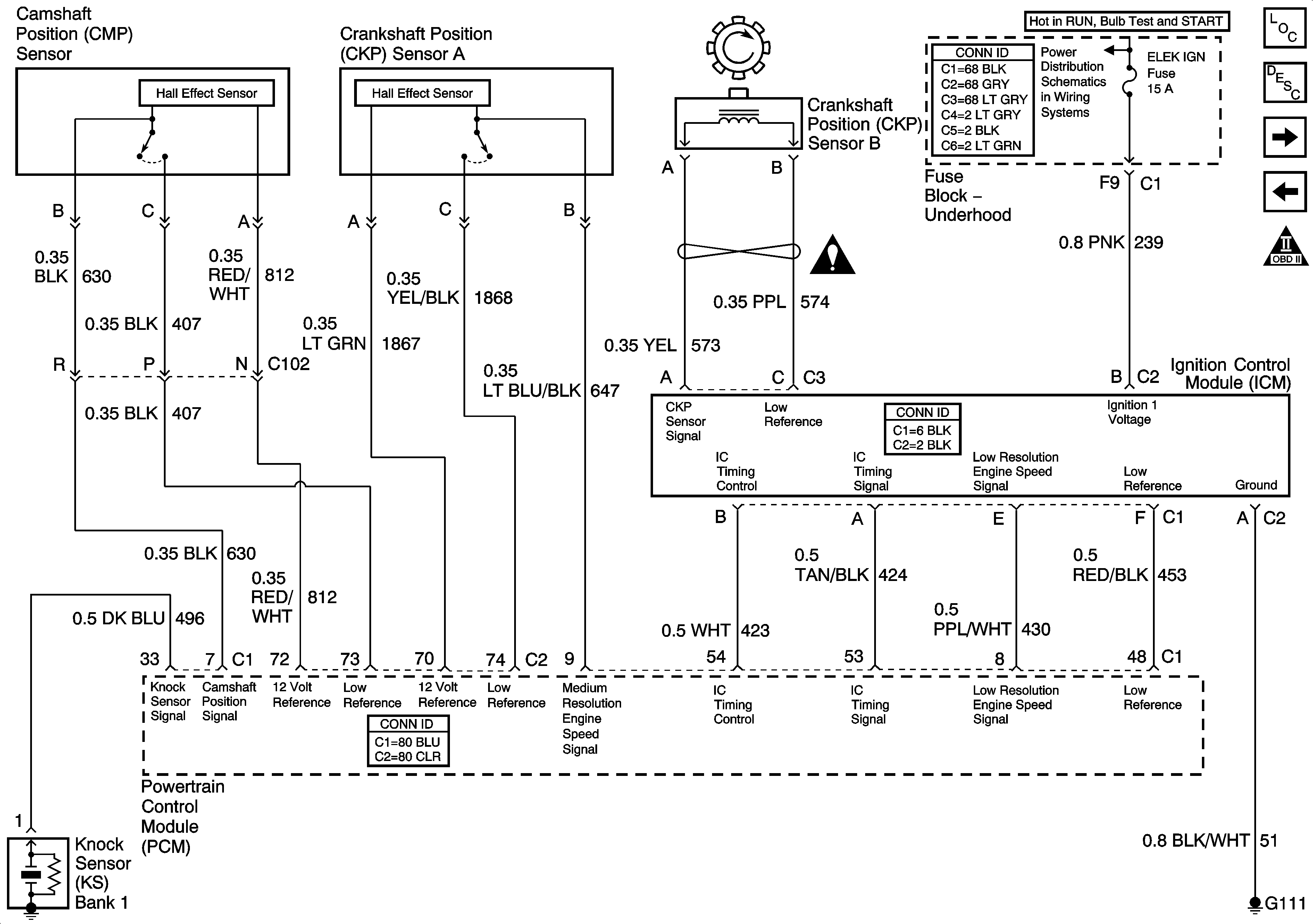
🢒 Ignition System, Knock Sensor
Ignition System, Knock Sensor
Ignition Controls - Ignition System and Sensors
Master Electrical Component List
Powertrain Control Module Description
Fuel Control Figure
VSS Figure
OBD II Symbol Description Notice
Engine Controls Schematic Icons