GM Service Manual Online
For 1990-2009 cars only
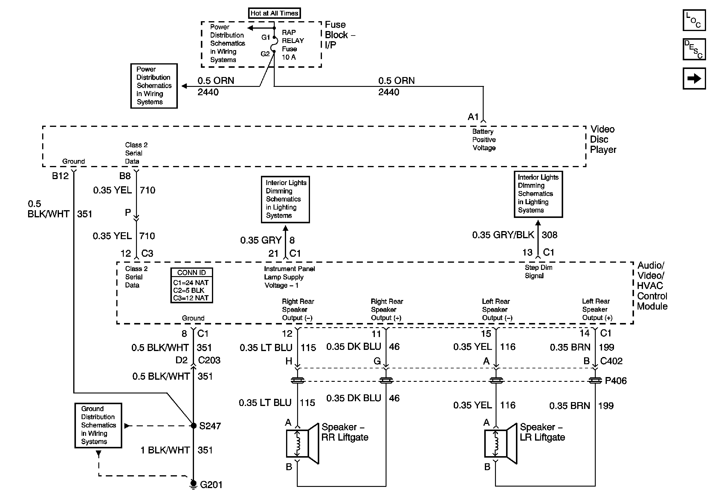
Figure 1:

Power, Ground, Video Disc Player and Rear Video/Audio HVAC Control Module


Object Number: 800876  Size: FS
Master Electrical Component List
Video Entertainment System Description and Operation
Video Disc Player and Rear Video/Audio/HVAC Module, Page 1 of 2
BATT Main 1 and Fuse Block - I/P Fuses
BATT Main 1 and Fuse Block - I/P Fuses
Rear Window Wiper/Washer and Multifunction Switch, Window and Door Lock Switches
Headlamp and I/P Lamp Dimmer Switch
G201
Figure 2:

Video Disc Player and Rear Video/Audio/HVAC Module, Page 1 of 2


Object Number: 822382  Size: FS
Master Electrical Component List
Video Entertainment System Description and Operation
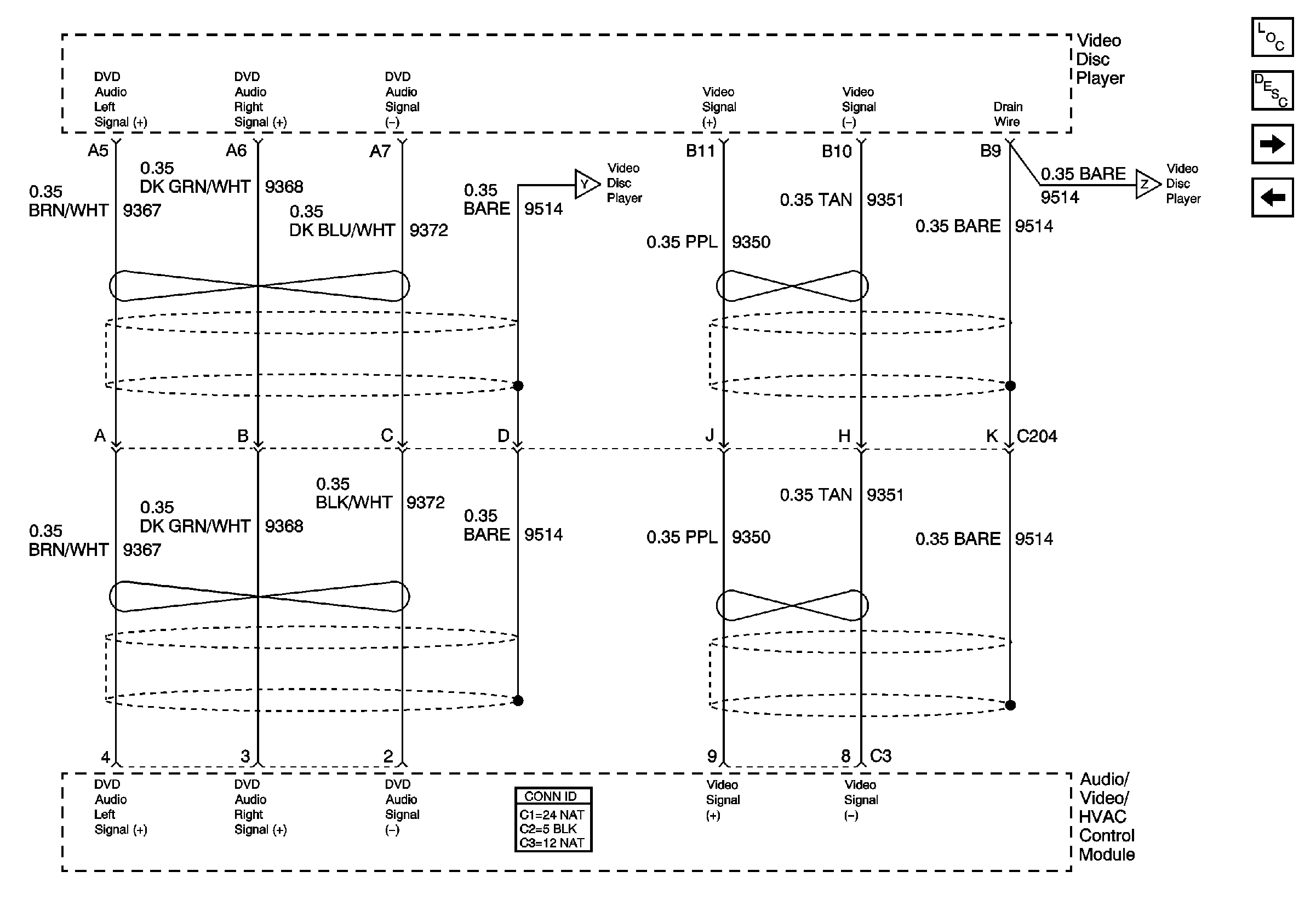
Video Disc Player and Rear Video/Audio/HVAC Module, Page 2 of 2
Power, Ground, Video Disc Player and Rear Video/Audio/HVAC Module
Video Disc Player and Rear Video/Audio/HVAC Module, Page 2 of 2
Video Disc Player and Rear Video/Audio/HVAC Module, Page 2 of 2
Figure 3:

Video Disc Player and Rear Video/Audio HVAC Control Module, Page 2 of 2


Object Number: 800877  Size: FS
Master Electrical Component List
Video Entertainment System Description and Operation
Radio with U32
Video Disc Player and Rear Video/Audio/HVAC Module, Page 1 of 2
Radio with U32
Radio with U32
Radio with U32
Radio with U32
Video Disc Player and Rear Video/Audio/HVAC Module, Page 1 of 2
Video Disc Player and Rear Video/Audio/HVAC Module, Page 1 of 2
Figure 4:

Radio (U32)


Object Number: 800878  Size: FS
Master Electrical Component List
Video Entertainment System Description and Operation
Video Disc Player and Rear Video/Audio/HVAC Module, Page 2 of 2
Video Disc Player and Rear Video/Audio/HVAC Module, Page 2 of 2
Video Disc Player and Rear Video/Audio/HVAC Module, Page 2 of 2
Video Disc Player and Rear Video/Audio/HVAC Module, Page 2 of 2
Video Disc Player and Rear Video/Audio/HVAC Module, Page 2 of 2