GM Service Manual Online
For 1990-2009 cars only
Makes
🢒
Chevrolet
🢒
2003
🢒
Venture Ext.
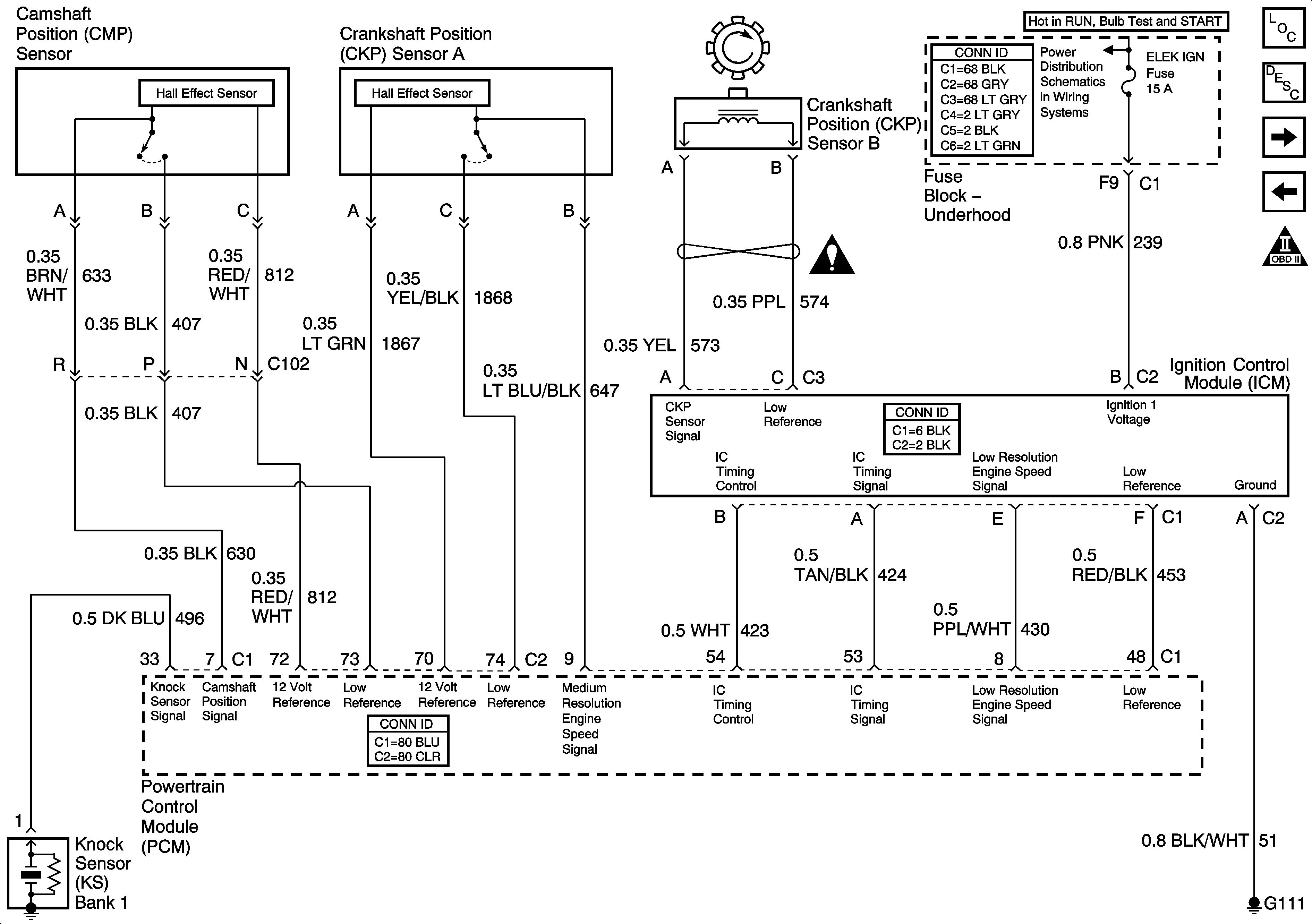
🢒 Ignition Controls - Ignition System and Sensors
Ignition Controls - Ignition System and Sensors
Ignition Controls - Ignition System and Sensors
Master Electrical Component List
Powertrain Control Module Description
Fuel Controls - Fuel Pump Controls
Engine Data Sensors - HO2S
OBD II Symbol Description Notice
Fuse Block - Underhood, TCC and ELEK IGN Fuses
Engine Controls Schematic Icons