GM Service Manual Online
For 1990-2009 cars only
Makes
🢒
Chevrolet
🢒
2004
🢒
Venture Ext.
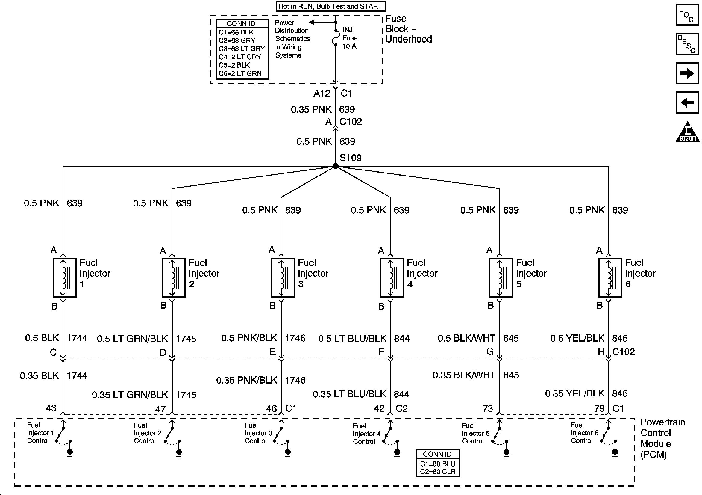
🢒 Fuel Control - Fuel Injectors
Fuel Control - Fuel Injectors
Fuel Control - Fuel Injectors
Master Electrical Component List
Powertrain Control Module Description
Device Controls
Fuel Controls - EVAP Controls
OBD II Symbol Description Notice
Fuse Block - Underhood, INJ Fuse