GM Service Manual Online
For 1990-2009 cars only
Makes
🢒
Chevrolet
🢒
2004
🢒
Venture Ext.
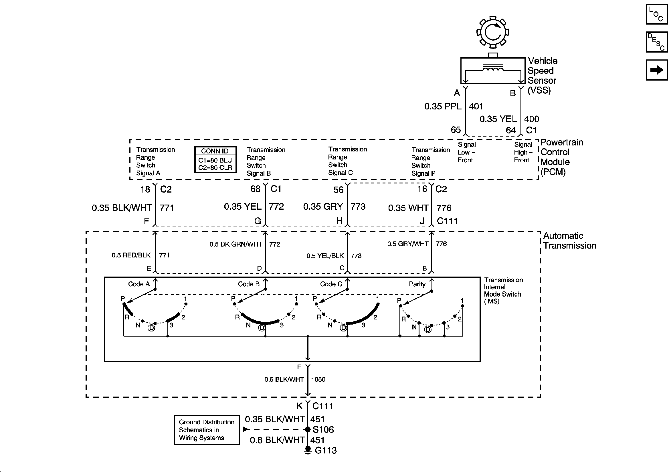
🢒 PCM Power, Ground, VSS and Park/Neutral Position (PNP) Switch
PCM Power, Ground, VSS and Park/Neutral Position (PNP) Switch
Internal Mode Switch (IMS) and VSS
Master Electrical Component List
Transmission General Description
Automatic Transmission
G101, G111, and G113