GM Service Manual Online
For 1990-2009 cars only
Makes
🢒
Chevrolet
🢒
2004
🢒
Venture Ext.
🢒 Automatic Transmission
Automatic Transmission
Automatic Transmission
Master Electrical Component List
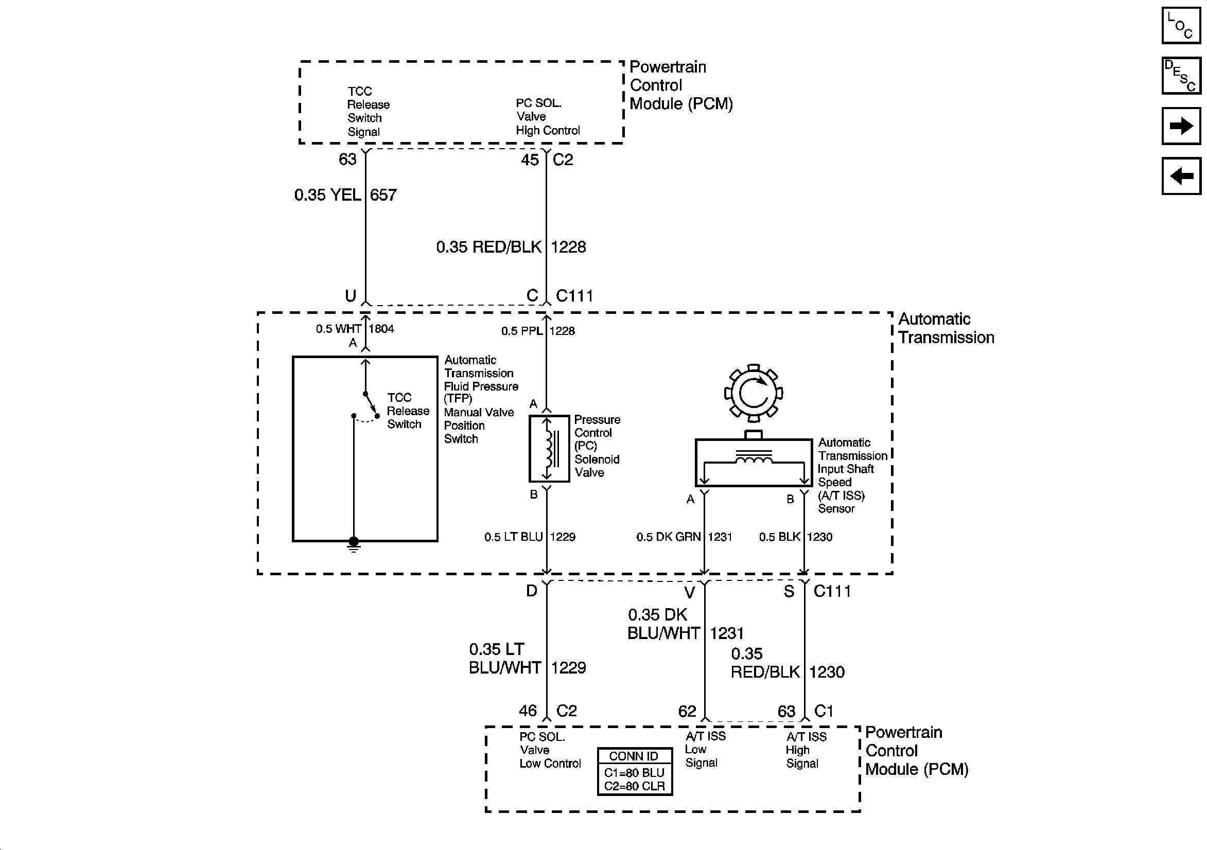
Transmission General Description
Automatic Transmission TCC Switch
PCM Power, Ground, VSS and Park/Neutral Position (PNP) Switch