GM Service Manual Online
For 1990-2009 cars only
Makes
🢒
Chevrolet
🢒
2007
🢒
Vivant
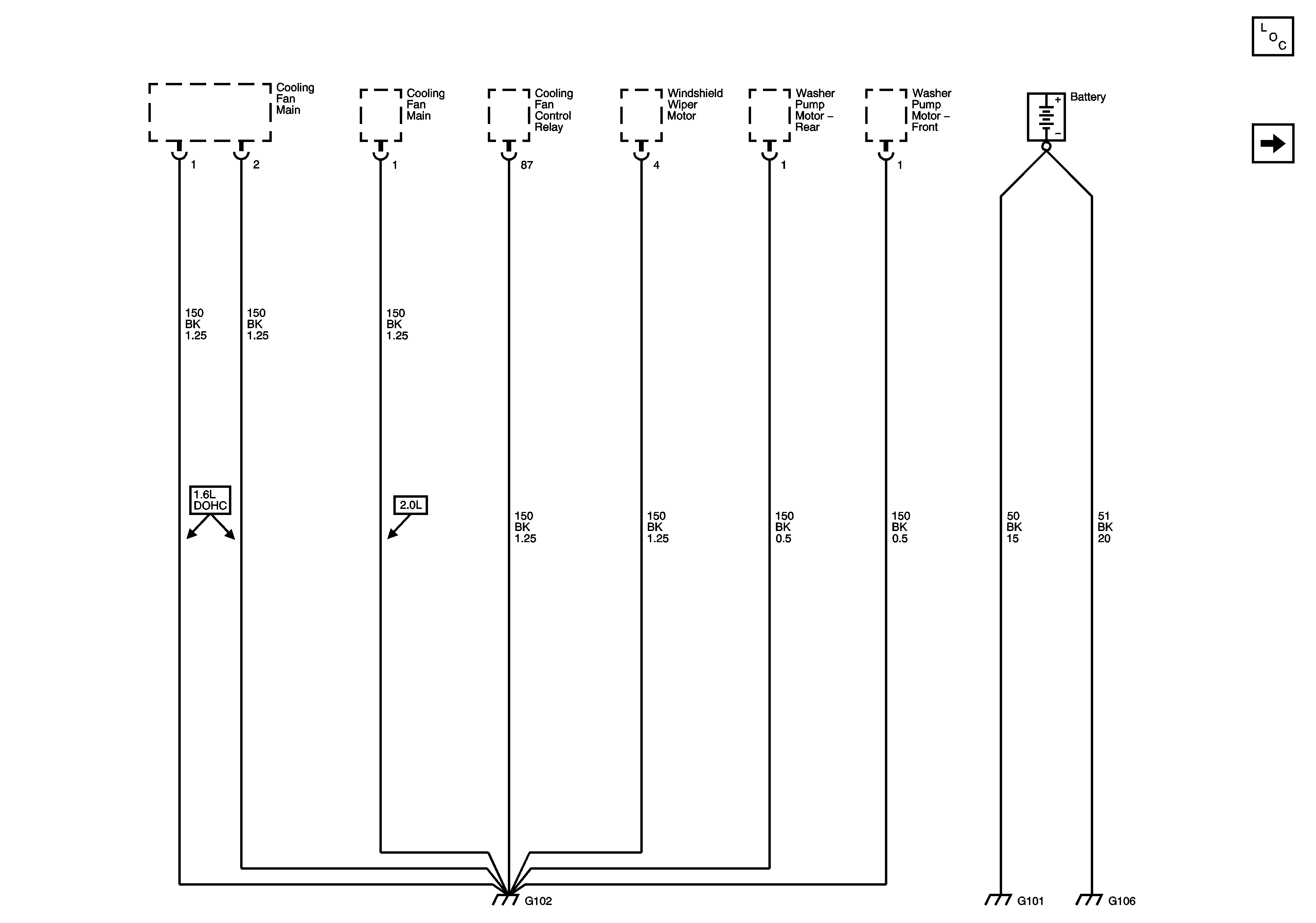
🢒 G102, G101, G106
G102, G101, G106
G102,G101,G106
Master Electrical Component List
G102 (Cont)