GM Service Manual Online
For 1990-2009 cars only
Makes
🢒
Chevrolet
🢒
2007
🢒
Vivant
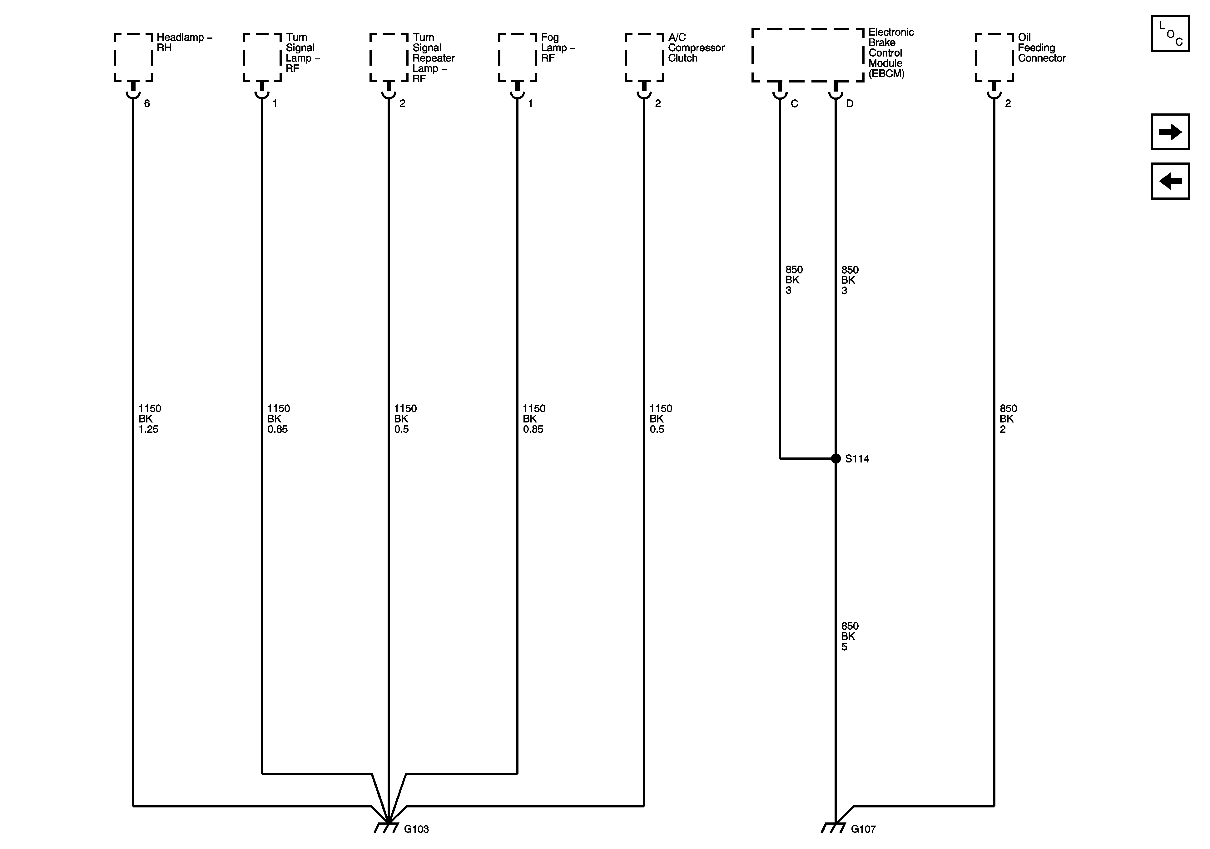
🢒 G103, G107
G103, G107
G103,G107
Master Electrical Component List
G104 (MR-140)
G102 (Cont)