GM Service Manual Online
For 1990-2009 cars only
Makes
🢒
GMC_Truck
🢒
1998
🢒
Jimmy - 2WD
🢒 Cell 139
Cell 139
Cell 139
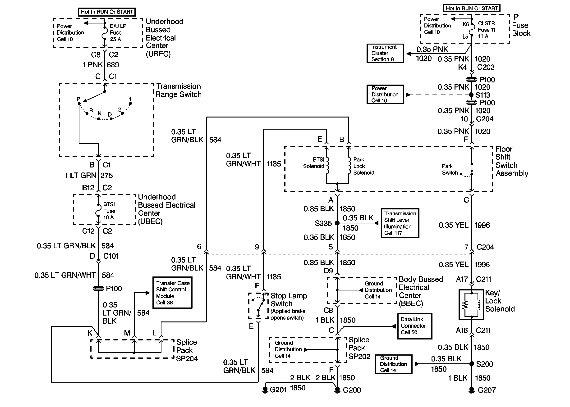
Ignition Lock System Description
Interior Lights Dimming Schematics
Data Link Connector Schematics
Ground Distribution Schematics
Power Distribution Schematics
Power Distribution Schematics
Power Distribution Schematics
Power Distribution Schematics